слайды циклов обр (1253023), страница 14
Текст из файла (страница 14)
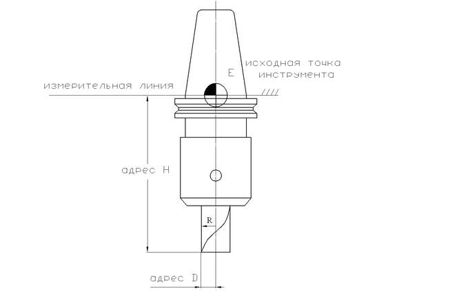
Рис. 9.93. Адреса Н и D для определения коррекции инструментов.
1 – запрограммированная глубина сверления;
2 – значение коррекции “-“;
3 – значение коррекции “+”.
Рис. 9.94. Пример ввода знаков коррекции длины инструмента в таблицу корректоров.
Содержание корректоров в памяти СЧПУ: Таблица 9.4.
| Адрес | Адрес | |||
| номер коррекции | геометрическая величина | износ | геометрическая величина | износ |
| 01 02 . . | -350.200 830.500 . . | 0.130 -0.102 . . | -32.120 52.328 . . | 0.012 -0.008 . . |
9.11.1. Задание велечины коррекции в корректор УЧПУ.
Формат: G10 R L P
где R – величина коррекции, переносимая в корректор;
L – выбор вида коррекции:
L=10 означает, что установка относится к геометрической величине коррекции длины (адрес Н);
L=11 означает, что установка относится к износу коррекции длины (адрес Н);
L=12 означает, что установка относится к геометрической величине коррекции радиуса (адрес D);
L=13 означает, что установка относится к износу коррекции радиуса (адрес D).
P – номер изменяемой величины коррекции.
9.11.2. Коррекция вылета инструмента Н (G43, G44, G49)
Путем коррекции вылета инструмента исходная точка инструмента Е (см. рис. 9.95) смещается от торца шпинделя к острию инструмента. На основе величины, заданной в корректоре, система ЧПУ осуществляет правильное позиционирование инструмента по координатным осям станка.
Коррекция длины инструмента задается путем программирования адреса Н в УП совместно с функциями G43, G44.
Формат: G43 q H или
G44 q H
где q – ось, к которой применяется коррекция вылета инструмента (q = x, y, z, U, W, A, B, C);
Н – номер корректора, откуда взята коррекция вылета инструмента.
Команда G43 добавит коррекцию (данную в адресе Н) к координате конечной точки, полученной в ходе операции:
G43 = + коррекция (положительная).
Команда G44 уменьшит координату конечной точки на величину коррекции (заданную в адресе Н):
G44 = - коррекция (отрицательная).
Если было запрограммировано дискретное перемещение Z, равное 0, каждая команда G43 G91 Z0 H1 и G44 G91 Z0 H1 даст перемещение, равное вылету инструмента. При G43 перемещение будет положительным или отрицательным, в зависимости от коррекции в Н1.
Коррекция инструмента может быть определена по нескольким осям одновременно.
Например,
G43 Z250 H15
G43 W310 H16
Когда несколько осей выбираются в кадре, коррекция вылета инструмента учитывается для каждой выбранной оси:
G44 X120 Z250 H27
Когда величина коррекции изменяется вызовом нового адреса Н, предыдущая будет стерта, и новая величина будет действительной:
H1=10, H2=20
G90 G00
G43 Z100 H1...перемещение по Z=110
G43 Z100 H2...перемещение по Z=120
G43, G44 являются модальными функциями.
Команда G49 (или Н00) отменяет коррекцию вылета инструмента.
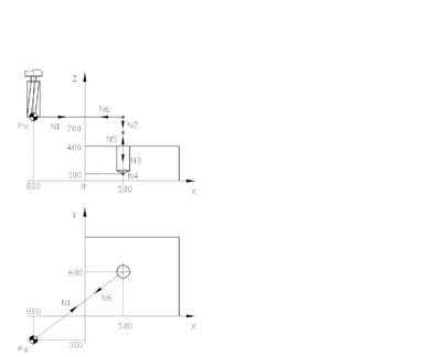
Пример G43 (рис. 9.95)
рассмотрим операцию сверления с учетом коррекции на вылет инструмента. Вылет сверла Н1=400.
| N1 G90 G0 X500 Y600 | выход в позицию в плоскости X, Y |
| N2 G43 Z410 H1 | перемещение по Z в координату 410 с учетом коррекции Н1 |
| N3 G1 Z100 F180 | сверление по Z до координаты 100 с подачей F180 |
| N4 G4 P2 | пауза 2 секунды |
| N5 G0 Z1100 H00 | выход сверла по Z в координату 700 с учетом сброса коррекции |
| N6 X-800 Y-300 | позиционирование в исходную позицию в плоскости X, Y |
Рис. 9.95. Пример коррекции вылета инструмента (G43, G44).
9.11.3 Коррекция диаметра инструмента (D - функция)
Эта коррекция касается расстояния R между режущей кромкой инструмента и осевой линией инструмента. Путем проведения геометрической коррекции радиусов инструментов исходная точка инструмента E смещается от осевой линии инструмента см. рис.9.96. Это значение вводится в регистр коррекции диаметра инструмента D (см. таб.9.4).
9.11.3.1 Функции коррекции на перемещение инструмента (G45…G49)
G45= значение коррекции добавляется к перемещению
G46= значение коррекции вычитается из перемещения
G47= значение коррекции добавляется к перемещению дважды
G48= значение коррекции вычитается из перемещения дважды
Любая из функций G45…G48 будет эффективной с коррекцией, выбранной по адресу D, до тех пор, пока другое значение коррекции не будет выбрано вместе с функцией G45…G48. Данные функции не являются модальными и действуют только в том кадре, в котором они определены.
При работе в абсолютных координатах смещение будет представлять разницу между конечной точкой в текущем кадре и конечной точкой, достигнутой в предыдущем кадре. Любое приращение или уменьшение происходит в направлении, соответствующем перемещению.
Если программа G45 – коррекция добавляется к перемещению.
Пример G45: (рис.9.96 a, b, c, d)
Если программируется G46 - коррекция вычитается из перемещения
Пример G46: (рис.9.97 a)
Если программируется G47 - коррекция добавляется к перемещению дважды
Пример G47: (рис.9.98 a)
Если программируется G48 -коррекция вычитается из перемещения дважды
Пример G48: (рис.9.99 a)
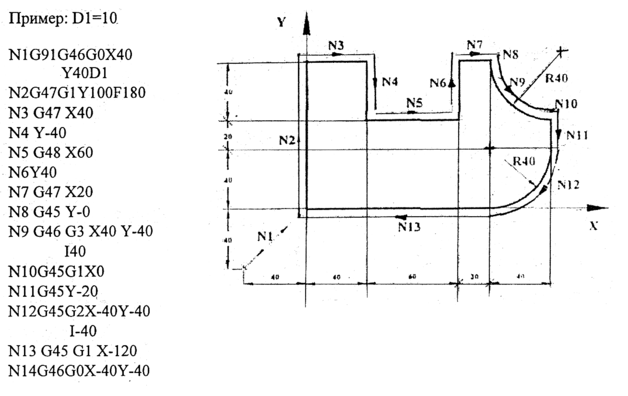
Если после функции G45…G48 в кадре будет запрограммировано перемещение по нескольким осям, то результат действия коррекции будет применим к каждой из осей на величину, точно определенную адресом D. Например, D1=30, команда G91 G45 G1 X100 Y40 D1 произведет перемещение оси x в точку = 130, а оси y и точку = 70 (рис.9.100).
Пример программирования контура с заданием коррекции на перемещение при использовании функций G45…G48 дан на рис.9.101.
a) величина перемещения: 20 b) величина перемещения: 20
коррекция: 5 коррекция: -5
c) величина перемещения d) величина перемещения
коррекция: 5 коррекция: -5
Рис. 9.96. Примеры добавления коррекции к перемещению (функция G45)
a) величина перемещения: 20 случаи b, c, d подобны G45 коррекция : -5
Рис. 9.97. Примеры вычитания коррекции из перемещения (функция G46)
a) величина перемещения: 20 случаи b, c, d подобны G45 коррекция : 5
Рис. 9.98. Примеры добавления коррекции к перемещению дважды (функция G47)
a) величина перемещения: 20 случаи b, c, d подобны G45 коррекция : 5
Рис. 9.99. Пример вычитания коррекции из перемещения дважды (функция G48)
Рис. 9.100. Коррекция при перемещении по двум осям (G45).
Рис. 9.101. Пример программирования контура с заданием коррекции на перемещение.
9.11.3.2 Коррекция радиуса инструмента в плоскости (G40, G41, G42)
Чтобы обработать контур в двухмерной системе координат и записать в УП точки этого контура согласно чертежу (независимо от диаметра используемого инструмента), система ЧПУ должна перемещать центр инструмента по траектории (параллельно запрограммированному контуру), находящейся на расстоянии радиуса инструмента R от контура. Система ЧПУ определяет расстояние между траекторией центра инструмента и запрограммированным контуром в соответствии с величиной коррекции радиуса инструмента, записанной в номере корректора D (рис. 9.102).
Вектор коррекции (компенсации) - это вектор, лежащий в двухмерной плоскости и пересчитываемый в каждом кадре системой, для определения с его помощью
запрограммированных смещений, действующих в начале и конце каждого кадра. Длина и
направление каждого вектора коррекции изменяется с величиной коррекции, вызываемой по адресу D и геометрией перемещения между двумя кадрами.
Векторы коррекции вычисляется в плоскости, выбранной с помощью команд G17, G18 и G19. Это плоскость коррекции радиуса инструмента. Перемещения вне этой плоскости не отрабатывают коррекцию радиуса. Если, например, командой G17 выбрана плоскость X, У, векторы коррекции будут вычисляться в этой плоскости. В этом случае любое перемещение в другой плоскости не будет осуществляться с коррекцией.
G40 - отмена коррекции на радиус инструмента
G41 - ввод коррекции на радиус инструмента, инструмент слева от детали
G42 - ввод коррекции на радиус инструмента, инструмент справа от детали
Команда G41 или G42 включает расчет коррекции на радиус инструмента. При G41 или G42 программируемый контур будет проходить соответственно слева или справа от детали (по отношению к направлению перемещения) (рис. 9.103). Величина коррекции на радиус инструмента определяется по адресу D. Определение D00 всегда эквивалентно нулевому значению радиуса. Расчет коррекций доступен при интерполяции перемещений согласно командам G00, G01, G02, G03.
Команды G40 или D00 отключают расчет коррекции.
Команды G40, G41, G42 являются модальными. Система устанавливает по умолчанию функцию G40 после ее включения, в конце программы или в случае изменения режима работы; при всех этих факторах векторы коррекции радиуса будут стерты.
Рис. 9.102. Коррекция радиуса инструмента в плоскости (g40, G41, G42).
Рис. 9.103. Расчет коррекции на радиус инструмента (G41, G42).















