Раздел 7 (1253005), страница 4
Текст из файла (страница 4)
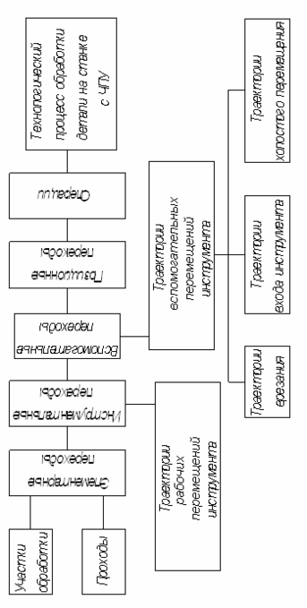
Инструментальный переход – законченный процесс обработки нескольких ЭОП непрерывным движением одного инструмента. Так, например, инструментальный переход, где обрабатывается плоскость и ограничивающие ее выступы, состоит из двух элементарных переходов. Характеризуется построением траекторий рабочих перемещений инструмента.
Вспомогательный переход – часть процесса обработки, не связанная с образованием ЭОП. В отличие от станков с ручным управлением время вспомогательного перехода входит в машинное время работы станка. Характеризуется построением траекторий вспомогательных перемещений инструмента.
Траектория вспомогательных перемещений делятся на три типа:
-
траектория врезания (траектория подхода инструмента к началу инструментального перехода);
-
траектория выхода инструмент из зоны обработки;
-
траектория холостого перемещения инструмента.
Позиционный переход – совокупность инструментального и вспомогательного переходов.
Операция представляет собой завершенный комплекс всех позиционных переходов, выполняемых на станке с ЧПУ с помощью определенной оснастки. Обязательным при окончании выполнения операции является совмещение исходной и конечной точки УП.
Траектория обработки
При обработке на станке с ЧПУ осуществляется взаимное перемещение инструмента и заготовки. При создании УП обрабатываемые детали можно рассматривать как совокупность программируемых контуров (рис.7.34 а, б). Каждый контур состоит из элементарных геометрических элементов: точек, прямых, дуг окружностей (рис.7.35 а, б, в). При обработке контуров деталей, УП описывает движение определенной точки инструмента – настроенной точки Р вдоль контура детали (см. раздел 7.1.3 рис.7.16). В общем случае точка Р, движение которой программируется, называется центром инструмента. Для концевой фрезы – это центр основания фрезы (рис.7.36), для резцов – центр дуги окружности при вершине (см. рис.7.37). Величина радиуса при вершине резцов обычно мала и смещение центра вершины резца S относительно действительной вершины Р учитывается при коррекции инструмента в системе ЧПУ.
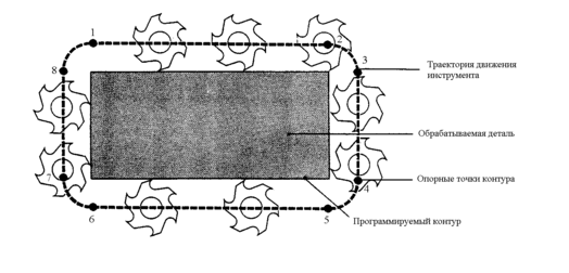
При перемещении инструмента вдоль контура детали центр инструмента проходит путь, называемый траекторией инструмента (рис.7.38). В программе обработки, описываются траектории. Характер траекторий отражает форму контуров детали. Отдельные участки траектории также называются геометрическими элементами, которые соединяются пересечением или касанием. Точки конца одного геометрического элемента и начала другого называются опорными точками траектории (рис.7.39). Траектория перемещения инструмента определяется совокупностью координат опорных точек (рис.7.40.). Опорными точками могут быть также точки траектории, где происходит изменение технологических параметров, например, включение охлаждающей жидкости, задание паузы, технологического останова и т.п.
Если принять, что радиус инструмента во время обработки контура детали остается постоянным, то траектория центра инструмента при контурной обработке является эквидистантной к контуру детали. Эквидистантой называется геометрическое место точек, равноудаленных от какой-либо линии и расположенных по одну сторону от нее. Поэтому траекторию движения также называют эквидистантой (рис.7.41).
В УП должны быть заложены величина и направление перемещение инструмента. Для этого положения опорных точек необходимо определить в той или иной системе координат. Наиболее распространенными системами координат являются: прямоугольная (декартовая), цилиндрическая и сферическая (рис.7.42). В примере, представленном на рис.7.43 показаны координаты опорных точек в декартовой системе координат.
Следует различать обработку плоских и объемных деталей. Обрабатывая плоскую деталь, инструмент перемещается в одной плоскости и при этом используется одна или две координаты, например, координата Х и координата Y (рис.7.44.а). При обработке объемной детали инструменту должна быть обеспечена возможность более сложных перемещений при наличии дополнительных управляемых координат, например, координаты В (рис.7.44 б, в).
| Рис.7.32 Виды элементарных обрабатываемых поверхностей (ЭОП) при фрезеровании и точении. |
Рис.7.33 Формирование ЭОП при точении.
а) б)
Рис.7.34 Программируемые контура деталей
а) для токарной обработки
б) для фрезерной обработки
а) б)
в)
Рис.7.35 Геометрические элементы составляющие, программируемый контур детали.
а) чертеж
б) контур для фрезерной обработки
в) контур для токарной обработки.
Рис.7.36 Движение центра инструмента при фрезеровании.
Рис.7.37 Движение центра вершины резца при точении.
Рис.7.38 Траектории инструментов при обработке на станках с ЧПУ.
а) б)
Рис. 7.39 Опорные точки траекторий
а) линейная траектория между начальной и конечной опорными точками
б) круговая траектория между начальной и конечной опорными точками
Рис.7.40 Траектория инструмента как совокупность опорных точек.
Рис.7.41 Траектория движения – эквидистанта.
а) б) в)
Рис.7.42 Положение опорной точки в системе координат:
а) прямоугольной (декартовой)
б) цилиндрической
в) сферический
Рис.7.43 Пример задания опорных точек эквидистанты Р1-Р6 в декартовой системе
координат.
а) б)
в)
Рис.7.44 Обработка плоских (а) и объемных деталей (б,в).
7.2.2. Правила формирования траекторий вспомогательных переходов.
1) Начальная точка врезания обычно отстоит на 1-2мм от внешней границы припуска, конечная точка совпадает с начальной точкой инструментального перехода.
2) Начальная точка траектории выхода из зоны обработки совпадает с конечной точкой инструментального перехода.
3) Траектория холостого хода инструмента представляет собой совокупность отрезков траектории соединяющих конечную точку траектории выхода из какого-либо инструментального перехода с начальной точкой врезания при выполнении следующего инструментального перехода.
4) При фрезеровании для врезания в припуск обрабатываемой детали выбирается выпуклый конструктивный элемент, подход к вершине которого возможен по касательной (рис.7.45 а,б,в)
Подход к плоской поверхности осуществляется под малым углом 5-10 град. (рис.7.45 г,е) или по касательной окружности (рис.7.45 д). Подход к контуру окна (выпуклой поверхности) осуществляется по дуге окружности касательной к обрабатываемому контору или поверхности (рис.7.46).
5) В случае подхода к обрабатываемой поверхности с перемещением по оси Z наиболее производительной является вертикальное врезание при использовании фрез с осевым врезанием. При значительном припуске врезание следует проводить либо с предварительным опусканием инструмента в заранее высверленное отверстие (рис.7.47 а) либо зигзагообразным движением инструмента под углом 10-15 град. (рис.7.47 б).
6) Не допускается остановка фрезы или резкое изменение подачи в процессе резания, когда режущие кромки инструмента соприкасаются с обрабатываемой поверхностью. Перед остановкой, режимом изменения подачи, подъемом или опусканием инструмента необходимо обеспечить отвод инструмента от поверхности.
Рис.7.45 Формируемые траектории врезания:
а,б,в,д- подход инструмента к обрабатываемой поверхности по касательной;
г,е- подход инструмента к обрабатываемой поверхности под углом 5-10°.
Рис.7.46 Формирование траектории врезания при обработке внутреннего контура
Рис. 7.47 Формирование траектории врезания с перемещением по оси Z:
а) опускание в заранее просверленное отверстие;
б) зигзагообразным движением инструмента.
7.2.3. Правила формирования траекторий рабочих перемещений в инструментальных переходах.
При выборе формы траекторий рабочих перемещений инструментов учитывают такие факторы как:
-
конструктивные особенности участка обработки (наличие препятствий по контуру плоскости, жестких элементов);
-
метрические и топологические характеристики обрабатываемой плоскости и ее контура (площадь, многосвязность, вид контура );
-
тип кривых, составляющих контур;
-
марка обрабатываемого материала;
-
состояние заготовки ( штамповки, проката, литье и т.д.);
-
динамические характеристики станка, например разность скоростей рабочих органов при изменении направления траектории инструмента.
Наиболее распространенные формы траекторий рабочих перемещений приведены: в табл.7.1 – для точения; в табл.7.2 – для обработки отверстий; в табл.7.3 – для обработки фрезерованием.
При разработке плана операций построение траекторий рабочих перемещений в инструментальных переходах производится с учетом следующих правил:















