Архитектурно-строительный раздел (1232455), страница 5
Текст из файла (страница 5)
Рисунок 1.24 Сэндвич-панель
1.2.2.2 Перегородки
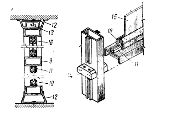
Перегородки в здании должны удовлетворять ряд требований: должны изготавливаться из несгораемых материалов, обладать достаточной огнестойкостью и устойчивостью, правильно перерезать сгораемые и трудносгораемые конструкции и обладать достаточной газонепроницаемостью. Противопожарные перегородки (огнестойкие перегородки) предназначены для заполнения проемов ограждающих строительных конструкций или в помещениях (для разделения объема) здания и предотвращения распространения пожара и его опасных факторов в смежные помещения. В качестве несущего каркаса противопожарных перегородок применяются профили из нержавеющей стали со специальным термозащитными заполнением внутренних полостей конструкции для увеличения времени прогрева каркаса и уменьшения температурных деформаций при одностороннем нагреве. Толщина перегородок в проекте приняты 100 мм. Чертеж и общий вид противопожарной перегородки представлен на рисунках 1.25, 1.26.
Рисунок 1.25 Схема противопожарной перегородки
Рисунок 1.26 Общий вид конструкции противопожарной перегородки: 9-стальная труба;10-резиновый профиль;11-стальной профиль;12-стальной гнутый профиль; 13-пружинновинтовой прибор;15- профили из нержавеющей стали со специальным термозащитными заполнением;16-пластмассовый замок
1.2.2.3 Освещение
Для внутреннего и внешнего освещения здания используются искусственное освещение в виде фонарей РСП 11Вех-250-412. Данный тип фонарей используются для общего освещения взрывоопасных зон в соответствии с маркировкой по взрывозащите и требований документов, регламентирующих применение электрооборудования в помещениях и наружных установок в нефтяной, нефтехимической, газовой и других отраслей. Количество светильников определяется методом коэффициента использования светового потока. Общий вид фонаря представлен на рисунке 1.27.
Рисунок 1.27 Общий вид фонаря
Расчёт освещения производственных помещений
Основной задачей светотехнического расчёта для искусственного освещения – определение требуемого количества электрических осветительных установок для создания заданной освещённости.
Расчет электрического освещения выполняют при проектировании осветительных установок для определения общей установленной мощности и мощности каждой лампы в соответствии [9].
При проектировании искусственного освещения необходимо учитывать условия зрительной работы: систему освещения – (общая или комбинированная); наименьший объект различия, мм; разряд зрительной работы; подразряд зрительной работы; контраст объекта с фоном; характеристику фона.
Необходимо рассчитать количество светильников в главном помещении компрессорной и электро-щитовой.
Расчёт общего равномерного искусственного освещения горизонтальной рабочей поверхности выполняется методом коэффициента использования светового потока по формуле:
|
| (1.1) |
где Ф – световой поток лампы, 13000 лм для ламп ДРЛ 250 Вт; Ен – нормированная освещённость, 750 лк [15, прил. 1]; Kз – коэффициент запаса, учитывающий запыление светильников и износ источников света в процессе эксплуатации равный 1,6 [15 прил. 7]; S – площадь помещения, для компрессорной 354,2
, для электро-щитовой 155,5
; Z – поправочный коэффициент, учитывающий неравномерность освещения, Z=1.15 для ДЛР; N – количество светильников; n – количество ламп в светильнике, для РСП-11Вех-250-412 1 лампа; ɣ – коэффициент затенения рабочего места работающим, ɣ = 0.9;
– коэффициент использования светового потока 38,97 и 32,1 [15, прил. 2].
Коэффициент использования светового потока определяется в зависимости от типа светильника, коэффициентов отражения стен и потолка помещения и индекса помещения, определяемого по формуле:
|
| (1.2) |
где А и В – длина и ширина помещения, м;
– высота подвеса светильников над рабочей поверхностью, 3 м.
|
| |
|
|
Определяем количество светильников по формуле:
| | (1.3) |
|
| |
|
|
Суммарная потребляемая мощность осветительной установки:
| | (1.4) |
| | |
|
|
1.2.2.4 Двери и ворота
Внутренние двери приняты серии 1.436.2-30.93 «Двери металлические противопожарные искронедающие для промышленных зданий и сооружений».
Ворота по проекту приняты в соответствии с «ГОСТ 31174-2003 Ворота металлические. Общие технические условия». Сплошные с полотнами из покрытых защитно-декоративным полимерным слоем сэндвич-панелей, изготовленных из гальванизированной по методу горячего оцинкования листовой стали. Теплозащитные и звукоизоляционные свойства дверей и ворот обеспечиваются за счет заполнения вспененным полиуретаном, толщина слоя 5 см. Спецификация элементов заполнения проемов см. в таблице 1.8.
Таблица 1.8 Спецификация элементов заполнения проемов
| Поз. | Обозначение | Наименование h x b | Количество на этаж | Всего | Примечание | |||||
| 1 | 2 | 3 | 4 | |||||||
| Ворота | ||||||||||
| П-1 | Серия 1.435.2-37.94 | ВМПИПП 3,2х3,5/1,5-П | 1 | - | - | - | 1 | |||
| П-2 | Серия 1.435.2-37.94 | ВМПИПП 3,5х3,5/1,5-П | - | - | - | 1 | 1 | |||
| Двери | ||||||||||
| П-3 | Серия 1.436.2-30.93.300.00.00.07 | ДМПИ 1,5х2,4/1,5-К | 1 | - | - | - | 1 | |||
| П-4 | Серия 1.436.2-30.93.300.00.00.03 | ДМПИ 2х2,8/0,75-В | 1 | - | - | - | 1 | |||
| П-5 | Серия 1.436.2-30.93.300.00.00.05 | ДМПИ 3х2,5/1,5-К | 1 | - | - | - | 1 | |||
| П-6 | Серия 1.436.2-30.93.300.00.00.09 | ДМПИ 1,2х2,1/1,5-К | 3 | 3 | 2 | - | 8 | |||
| П-7 | Серия 1.436.2-30.93.300.00.00.06 | ДМПИ 1,5х2,1/0,75-В | 1 | - | - | - | 1 | |||
Марка дверей и ворот включает:
а) обозначение:
двери-Д;
ворота-В;
б) материал двери- сталь- М;
в) тип:
противопожарная искронедающая – ПИ;
подъемно-поворотные- ПП;
г) цифрами обозначены размеры полотна – высота и ширина
в метрах, максимальный предел огнестойкости – в часах;
д) материал заполнителя:
минераловатные плиты – В;
муллитокремнеземистый рулонный материал МКРР-130 – К;
полиуретан- П.
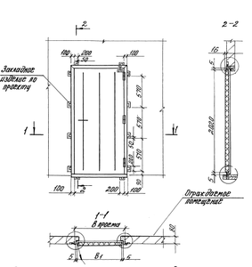
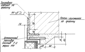
Узел крепления дверной коробки к проему показан на рисунке 1.25.
Р
исунок 1.28 Узел крепления дверной коробки к проему
Рисунок 1.29 Конструкция подъемно-поворотных ворот: 1 - полотно ворот; 2 - система уравновешивания полотна; 3 - уплотнитель; 4 -элементы обрамления проема; 5 - привод; 6 - направляющие профили; 7 - задвижка; 8 - ручка; 9 - запирающее устройство
1.2.2.5 Полы
Полы на производстве должны отвечать определенным требованиям, так как во время эксплуатации они постоянно подвергаются повышенному воздействию химических реагентов, температурных перепадов и других негативных факторов [8]. Для принятых типов полов составляется экспликация полов (табл. 1.9)
Таблица 1.9 Экспликация полов
| Наименование или номер помещения по проекту | Схема пола | Элементы пола и их толщина, мм | Площадь пола, м2 | |||
| 1 этаж |
| Кислото-стойкая керамическая плитка | 30 | 598,2 | ||
| Выравнивающая ц.п. стяжка | 25 | |||||
| Плиты ж/б многопустотные | 220 | |||||
| Минераловатные плиты | 100 | |||||
| 2 слоя влагостойкого гипсоволокнистого листа | 24 | |||||
| 2-4 этаж |
| Кислото-стойкая керамическая плитка | 30 | 968,6 | ||
| Выравнивающая ц.п. стяжка | 25 | |||||
| Плиты ж/б многопустотные | 220 | |||||
1.2.2.6 Покрытие здания
В качестве элементов покрытия кровли в данном проекте представлены сэндвич-панели по металлическим балкам-прогонам. Кровельные панели имеют высокие ребра, благодаря которым обеспечивается повышенная жесткость и водосток. Сэндвич-панелей имеют облицовку с трапециевидными гофрами, заполненными утеплителем. Гофры придают панелям повышенную жесткость и надежную герметизацию стыков.
;
;
,
















