ПОЯСНИТЕЛЬНАЯ ЗАПИСКА (1226285), страница 5
Текст из файла (страница 5)
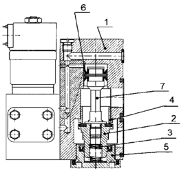
Питательный клапан (см. рисунок 1.22) – предназначен для питания реле давления большим проходным сечением. Клапан состоит из корпуса с клапаном, который прижимается пружиной к седлу. На корпусе устанавливается электропневматический вентиль.
1 – корпус; 2 – клапан; 3 – пружина; 4 – седло; 5 – заглушка; 6 – манжет
Рисунок 1.22 – Питательный клапан
Кран переключения режимов (КПР) – предназначен для отключения электропневматических вентилей при переходе на резервное управление (см. рисунок 1.23). Рукоятка КПР имеет два положения: дистанционное управление (работа ККМ) и резервное управление (работа КРУ). При работе контроллером рукоятка устанавливается перпендикулярно к плоскости плиты, при управлении резервным краном рукоятка устанавливается вдоль плиты.
Электропневматические вентили БЭПП (см. рисунок 1.24).
В1 – вентиль выключения устройства блокировки тормозов.
В2 – вентиль включения устройства блокировки тормозов.
В3(1) – вентиль наполнения 1 положения (сверхзарядка) с атмосферным отверстием и питательным клапаном. Обеспечивает зарядку уравнительного резервуара ускоренным темпом через питательный клапан. Во 2,3...6 положениях ККМ находится без напряжения, питательный клапан перекрыт.
Рисунок 1.23 – Кран переключения режимов
В4 (6) – вентиль отпуска. Находится под напряжением в 1 и 2 положениях ККМ и обеспечивает соединение редуктора с управляющей камерой реле давления и зарядку уравнительного резервуара.
Рисунок 1.24 – Блок электропневматических приборов
В5(3) – вентиль тормозной с атмосферным отверстием. Обеспечивает разрядку тормозной магистрали темпом служебного торможения. Находится без напряжения в 5 (служебное торможение) и 6 (экстренное торможение) положениях ККМ и сообщает уравнительный резервуар с атмосферой.
В6(5) – вентиль перекрыши с обратным клапаном. Находится под напряжением в 3 положении (перекрыша без питания) ККМ и обеспечивает соединение тормозной магистрали с уравнительным резервуаром через обратный клапан.
В7(13) – вентиль экстренного торможения с атмосферным отверстием и срывным клапаном. Под напряжением в 7 положении ККМ и обеспечивает темп экстренной разрядки тормозной магистрали через отверстие срывного клапана диаметром 25 мм. При снятии напряжения разобщен с атмосферой.
В8(4) – вентиль замедленного торможения с атмосферным отверстием обеспечивает замедленный темп разрядки уравнительного резервуара, находится под напряжением в 5(замедленное торможение) положении ККМ.
В9(9) – Вентиль выключения ВЦУ с атмосферным отверстием - обеспечивает правильное включение тормозной системы электровоза при смене машинистом кабины управления. Под напряжением во втором положении ВЦУ.
На вентилях установлен светодиод, который сигнализирует о нахождении вентиля под напряжением.
Тормозной цилиндр (см. рисунок 1.25).
На электровозе установлены тормозные цилиндры 670В с встроенным регулятором, они предназначены для создания тормозного усилия и автоматического регулирования величины хода штока в пределах, обеспечивающих постоянную величину зазора между тормозными колодками и бандажами колесных пар.
Технические данные тормозного цилиндра 670В представлены в таблице 1.2.
Таблица 1.2 – Технические данные тормозного цилиндра 670В
| Параметр | Значение |
| Диаметр цилиндра, мм | 203 |
| Ход поршня, мм | 110 |
| Максимальный выход винта, мм | 200 |
| Суммарный выход винта, мм | 245 |
| Рабочий ход поршня, мм | 100 |
| Рабочее максимальное давление, МПа | 0,6 |
| Рабочее усилие на винте не более, кгс | 1830 |
| Масса, кг | 32 |
Цилиндры состоят из двух составных частей: тормозного цилиндра и встроенного в него регулятора одностороннего действия.
Цилиндр тормозной состоит из корпуса (5),поршня (21), крышки (7). Регулятор состоит из винта (25), имеющего несамотормозящую резьбу, гаек 18 и 19. В исходном положении гайка (18) под действием пружины (17) через подшипник (39) поджата к ограничителю (11), который жестко соединен штифтом (12) с муфтой (24) и предотвращает ограничитель (11) от проворачивания при перемещении поршня (21).
Гайка (19) через кольцо (20), зафиксированное стопорным кольцом (37), под действием пружины (17) через подшипник (39) поджата к упору (4). При этом кулачки упора (4) входят в пазы кольца (20). Сухари упора (4), входящие в пазы стержня (6), свободно совершают возвратно-поступательное движение в момент торможения. Винт (25) удерживается в исходном положении пружиной (22) через стержень (6) , ограничитель (11), гайку (19), кольцо (20) и упор (4). Положение винта (25) относительно тормозной рычажной передачи фиксируется фиксатором (3) с пружиной (9).
Вращению стержня во время циклов торможения и отпуска препятствует направляющая (2).
1 – чехол (пыльник), 2 – направляющая, - 3 – фиксатор, 4 – упор, 5 – корпус цилиндра, 6 – стержень, 7 – крышка, 8 – шайба, 9 –пружина фиксатора, 11 – оганичитель, 12 – штифт, 14 – пробка,16 – крышка, 17 - пружина, 18, 19 – гайка, 20 – кольцо, 21 – поршень, 22 – пружина, 23 – гайка,24 – муфта, 25 - винт 32 – винт, 33 – болт, 35 – кольцо, 37 – стопорное кольцо, 39 – подшипник, 42 – хомут, 46 – вилка
Рисунок 1.25 – Цилиндр тормозной с авторегулятором:
К корпусу тормозного цилиндра (5) болтами (33) прикручена крышка (7).Внутри корпуса расположен стержень (6) на который посажен поршень (21).В стержне кольцом (35) и шайбой (8) зафиксирован винт (25), на винте навернуты гайки (18 и 19) с подшипниками (39).Подшипники зафиксированы стопорными кольцами (37).На гайки воздей ствуют пружины (17). С винтом соединена муфта (24) закрытая чехлом (1), который закреплен хомутом (42),резьба муфты левая. Стержень в крышке фиксируется направляющей (2) закрытой пробкой (14). На муфте со стороны чехла навернута гайка (23) зафиксированная винтом (32), гайка фиксирует крышку (16).
После смены тормозных колодок и регулировки тормозной рычажной передачи необходимо вращением винта по часовой стрелке установить его в исходное положение, не допуская максимального выхода. Зафиксировать положение фиксатором. Провести 2-3 торможения максимальным давлением в тормозных цилиндрах и проверить положение колодок относительно бандажей колесных пар. При необходимости вращением винта установить допустимый зазор.
При нормальных зазорах между колодками и бандажами встроенный регулятор работает как жесткий стержень. Функцию жесткого стержня регулятор выполняет до увеличения зазора между колодками и бандажом.
При увеличении зазоров при торможении поршень 21 со стержнем 6 перемещают ограничитель 11, гайку 18, винт 25, гайку 19 с кольцом 20 и упор 4. При соприкосновении упора 4 с упорами крышки 7 его перемещение прекращается. Дальнейшее перемещение системы выведет кулачки упора 4 из пазов кольца 20. Гайка 19 под действием пружины 17 через подшипник 39 навертывается на винт 25. Навертывание гайки 19 на винт 25 будет происходить до касания тормозных колодок бандажа колесных пар, при этом между гайкой 19 и ограничителем 11 образуется зазор равный величине износа колодок и бандажей, а кулачки упора 4 войдут в пазы кольца 20. При отпуске поршень со стержнем под действием пружины 22 перемещаются в исходное положение. Со стержнем перемещаются муфта 24 с ограничителем 11, гайка 18, винт 25, упор 4, гайка 19 с кольцом 20. При перемещении упор 4 достигнув упоров крышки 7 остановится. Вместе с ним остановятся гайка 19 и винт 25, а стержень 6, ограничитель 11 будут продолжать свое перемещение, образуя зазор между ограничителем 11 и гайкой 18. Под действием пружины 17 гайка 18 будет навертываться на винт до соприкосновения с ограничителем. Гайки 18 и 19 поочередно навертываются на винт на величину износа колодок и бандажей. Регулятор скомпенсировал величину износа тормозных колодок и бандажей колесных пар, оставив неизменным первоначальный зазор между ними. Ход поршня тормозного цилиндра остается неизменным, изменился выход винта. При достижении выхода винта максимального значения необходимо регулировать тормозную рычажную передачу.
1.5 Неисправности пневматического оборудования
Возможные неисправности пневматического оборудования представлены в таблице 1 в Приложении А.
2 АНАЛИЗ ОТКАЗОВ И МЕЖПОЕЗДНЫХ РЕМОНТОВ
2.1 Анализ отказов и межпоездных ремонтов электровозов 2(3)ЭС5К
Данные о неисправностях электровозов 2(3)ЭС5К при заходах на межпоездные ремонты по видам оборудования за период 2013-2014 годы представлены в таблице 2.1.
Таблица 2.1 – Данные о неисправностях электровозов 2(3)ЭС5К при заходах на межпоездные ремонты по видам оборудования за период 2013-2014 г.г.
| Виды неисправностей | Количество | |
| за 2013 г. | за 2014 г. | |
| Колесные пары, из них: | 43 | 39 |
| Бандажи | 18 | 17 |
| Буксовые роликовые подшипники | 2 | 1 |
| Тяговая зубчатая передача | - | 1 |
| Кожухи зубчатой передачи | 19 | 14 |
| Моторно-осевые подшипники | 4 | 6 |
| Тяговые двигатели, из них: | 202 | 176 |
| Соединения между полюсами, выводные кабели. | 23 | 19 |
| Коллектор | 177 | 156 |
| Остов | 2 | 1 |
| Вспомогательные машины, из них: | 35 | 28 |
| 1. Мотор-вентиляторы | 34 | 28 |
| 2. Мотор-компрессоры | 1 | - |
Окончание таблицы 2.1
| Виды неисправностей | Количество | |
| за 2013 г. | за 2014 г. | |
| Электроаппаратура, из них: | 334 | 319 |
| Токоприемники, их воздушные рукава, изоляторы крышевого оборудования. | 43 | 38 |
| Главные выключатели | 41 | 33 |
| Аппараты защиты | 70 | 68 |
| Тяговые трансформаторы, реакторы, полупроводниковые преобразователи. | 7 | 8 |
| Высоковольтные провода, шины силовые | 80 | 83 |
| Переключатели потока воздуха | 16 | 12 |
| Цепи управления | 33 | 37 |
| Электронная аппаратура цепей управления | 44 | 40 |
| Пневмоаппаратура, из них: | 124 | 112 |
| Автотормозные приборы | 2 | - |
| Воздухопровод | 107 | 102 |
| Кран машиниста | 4 | 2 |
| Компрессор | 11 | 8 |
| Приборы безопасности | 44 | 39 |
| Автосцепные устройства | 5 | 3 |
| Неисправности прочего оборудования | 27 | 32 |
| ВСЕГО | 779 | 720 |
Согласно данным таблицы 2.1 на рисунках 2.1 и 2.2 представлены диаграммы причин межпоездных ремонтов электровозов 2(3)ЭС5К в процентном соотношении, соответственно за 2013 и 2014 г.г.
Рисунок 2.1 – Диаграмма причин межпоездных ремонтов электровозов 2(3)ЭС5К за 2013 год















