Пояснительная записка (1219345)
Текст из файла
СОДЕРЖАНИЕ
ВВЕДЕНИЕ 6
1 АВТОСЦЕПНЫЕ УСТРОЙСТВА ПОДВИЖНОГО СОСТАВА РОССИЙСКИХ ЖЕЛЕЗНЫХ ДОРОГ 7
1.1Конструкция автосцепки СА-3 7
1.2 Автосцепка Шарфенберга 12
1.3 Автосцепка Джаннея 13
1.4 Выводы по разделу 16
2 АНАЛИЗ ОБРЫВОВ АВТОСЦЕПНЫХ УСТРОЙСТВ В ЭКСПЛУАТАЦИИ 19
2.1 Статистики неисправности автосцепок за 2012-2014 года 19
2.2 Анализ случаев поломок автосцепных устройств за 2012 год на железных дорогах Российской Федерации 21
2.3 Анализ случаев поломок автосцепных устройств за 2013 год на железных дорогах Российской Федерации 23
2.4 Анализ случаев поломок автосцепных устройств на железных дорогах за 2013-2014 года Российской Федерации 33
3 ПРИЧИНЫ ВОЗНИКНОВЕНИЯ ОБРЫВОВ АВТОСЦЕПНЫХ УСТРОЙСТВ 44
4 РЕКОМЕНДАЦИИ ПО СНИЖЕНИЮ СЛУЧАЕВ ОБРЫВА АВТОСЦЕПНЫХ УСТРОЙСТВ 50
5 ЭКОНОМИЧЕСКИЙ РАЗДЕЛ 60
6 ИНСТРУКЦИЯ ПО ОХРАНЕ ТРУДА СЛЕСАРЯ ПОДВИЖНОГО СОСТАВА 69
ЗАКЛЮЧЕНИЕ 82
СПИСОК ИСПОЛЬЗОВАННЫХ ИСТОЧНИКОВ 83
ВВЕДЕНИЕ
Ввиду неравномерности рельефа на железных дорогах России и больших масс перевозимых грузов, движение поезда сопровождается большими динамическими нагрузками. В свою очередь эти явления приводят к износу, а порой и к разрушению деталей локомотива и вагонов. Частным случаем таких разрушений является обрыв автосцепного устройства. От исправного состояния этого оборудования во многом зависит безопасность движения поездов.
Цель данной работы произвести анализ обрыва автосцепного устройства на железных дорогах Российской Федерации. Автосцепное устройство предназначено для автоматического сцепления единиц подвижного состава и передачи продольных сил. Так же рассмотрены конструкция, причины обрыва и виды автосцепного устройства.
Анализ проводится по следующим критериям:
- типу локомотива;
- времени года;
- участка дороги;
- причины обрыва;
- вес поезда.
Проанализировав случаи обрыва автосцепного устройства, предложены рекомендации по снижению обрывов устройства.
1 АВТОСЦЕПНЫЕ УСТРОЙСТВА ПОДВИЖНОГО СОСТАВА РОССИЙСКИХ ЖЕЛЕЗНЫХ ДОРОГ
В мире насчитывается несколько видов автосцепных устройств:
- автосцепка СА-3 (советская автосцепка, третий вариант);
- автосцепка Шарфинберга;
- автосцепка Джаннея.
Наиболее широко применяется автосцепка Джаннея. Широкое применении она нашла в США, Латинской Америке, Китае, Вьетнаме и Корее.
1.1 Конструкция автосцепки СА-3
Автосцепное устройство предназначено для автоматического сцепления единиц подвижного состава и передачи продольных сил. Оно состоит из автосцепки с расцепным приводом, поглощающего аппарата, тягового хомута, ударной розетки, упоров и центрирующего механизма. Поглощающий аппарат предназначен для амортизации ударов идемпфирования продольных колебаний. Тяговый хомут обхватывает поглощающий аппарат и шарнирно соединен клином с автосцепкой. Он передает силу тяги от автосцепки поглощающему аппарату; от него сила тяги через упоры передается на раму кузова или тележки. При полном срабатывании поглощающего аппарата продольные сжимающие силы автосцепки передаются непосредственно через розетку на раму. В настоящее время на подвижном составе устанавливают автосцепку СА-3 (советская автосцепка, третий вариант). У автосцепок СА-3 допустимое расстояние между продольными осями равно 100 мм в вертикальной и 175 мм в горизонтальных плоскостях [1].
Автосцепка СА-3 состоит из корпуса, отливаемого из мартеновской стали или электростали, и механизма сцепления. Корпус является основной частью автосцепки: он воспринимает и передает силы, ударные нагрузки, в нем размещены детали механизма сцепления.
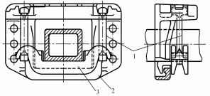
Головная часть 3 корпуса (рисунок 1.1) пустотелая (карман автосцепки), переходящая в удлиненный хвостик 1, имеющий отверстие 2 для соединения с тяговым хомутом. Она имеет два зуба: большой зуб 4 с тремя усиливающими ребрами и малый зуб 7 с вертикальным технологическим и облегчающим отверстием. В пространство между зубьями, называемое зевом автосцепки, выступают две детали механизма сцепления – замок 6 и замкодержатель 5. Очертание (в плане) большого и малого зубьев и выступающей части замка называется контуром зацепления.
Рисунок 1.1 – Корпус автосцепки:
1 – хвостовик; 2 – отверстие для соединения; 3 – головная часть; 4 –большой зуб;
5 – замкодержатель; 6 – замок; 7 – малый зуб
В кармане головной части размещается механизм сцепления (рисунок 1.2), состоящий из замка 1, замкодержателя 9, предохранителя (собачки) 14, подъемника 18, валика 6 подъемника и болта 5.
Рисунок 1.2 – Механизм автосцепки:1 – замок; 2 – шип; 3 – сигнальный отросток; 4 – направляющий зуб; 5 – болт; 6 – валик; 7 – паз; 8 – противовес; 9 – замкодержатель; 10 – отверстие; 11 – лапа; 12 – расцепной угол; 13 – отверстие; 14 – предохранитель; 15 – верхнее плечо; 16 – нижнее плечо; 17 – узкий палец; 18 – подъемник; 19 – широкий палец
При сборке механизма сцепления подъемник 18 кладут на опору, расположенную на стенке кармана автосцепки со стороны большого зуба так, чтобы широкий палец 19 был повернут кверху, а в углубление подъемника входил прилив корпуса. На шип большого зуба овальным отверстием 10навешивают замкодержатель 9. Перед установкой замка 1 на его шип 2отверстием 13 навешивают предохранитель 14 и поворачивают так, чтобы его нижнее плечо 16 уперлось в вертикальную стенку замка [1]. При установке замка в корпус необходимо нажимать каким-либо стержнем на нижнее плечо предохранителя, верхнее его плечо 15 должно быть выше полочки кармана, а направляющий зуб 4 должен войти в отверстие в дне кармана. Затем в отверстие корпуса со стороны малого зуба вводят валик 6 подъемника и фиксируют его болтом 5, устанавливаемым в приливе корпуса головкой к верху, болт должен проходить через паз 7 валика. После этого проверяют правильность сборки, сначала, нажимая на замок, перемещают его внутрь кармана и отпускают, а затем поворачивают валик подъемника до отказа против часовой стрелки и также отпускают, все детали должны свободно возвращаться в первоначальное положение. Разборку производят в обратной последовательности.
Корпус автосцепки имеет маятниковое подвешивание (рисунок 1.3), состоящее из розетки 2, к которой прикреплены подвески 1 с центрирующей балочкой 3.
Рисунок 1.3 – Розетка автосцепки:1 – подвески; 2 – розетка; 3 – центрирующая балочка
При поперечном перемещении корпуса автосцепки такое подвешивание стремится вернуть корпус в среднее положение.
На грузовом подвижном составе применяют пружинно- фрикционный поглощающий аппарат типа Ш2В-90 представлен на рисунке 1.4.
Рисунок 1.4 – Поглощающий аппарат Ш-2-В-90: 1 – нажимной конус; 2 – гайка; 3 – корпус; 4 – фрикционные клинья; 5 – наружная пружина; 6 – внутренняя пружина
Аппарат Ш-2-В имеет литой корпус 3, три штампованных фрикционных клина 4, штампованный нажимной конус 1, наружную 5 и внутреннюю 6 пружины и стяжной болт 7 с гайкой 2.Масса аппарата 134 кг. Детали его изготавливают из стали марок: пружины – 60С2ХФА (ГОСТ 14959 – 79); корпус – ЗОГСЛ-Б, или 32Х06Л-У; болт с гайкой – сталь Ст. Зсп5 (ГОСТ 380 – 71).
Аппарат работает следующим образом. При сжатии усилием 240 кН клинья начинают перемещаться по горловине внутрь корпуса и сжимать пружины. Между горловиной и клиньями возникают силы трения, пропорциональные давлению между трущимися поверхностями. Давление клиньев на корпус увеличивается по мере сжатия пружин и к концу хода аппарата оно достигает наибольшего значения. Чтобы клинья при своем перемещении не смещались в одну сторону и не перекашивались, горловина корпуса аппарата выполнена шестигранной [2]. Окончанием хода аппарата считается положение, при котором нажимной конус полностью входит в корпус аппарата, а упорная плита касается горловины корпуса. После уменьшения сжимающей силы происходит восстановление (отдача) аппарата за счет упругих сил пружин. Для облегчения возвращения клиньев в исходное положение грани горловины корпуса выполнены с наклоном. Основные параметры аппарата определяются при испытании его на прессе по рабочей диаграмме, представленной на рисунке 1.5.
Рисунок 1.5– Рабочая характеристика поглощающего аппарата Ш-2-В
Площадь ОАБГ на диаграмме характеризует энергоемкость аппарата, площадь ДАБВ - необратимо поглощенную энергию, а ОДВГ - потенциальную энергию деформации пружин, которая обеспечивает возвращение деталей в исходное положение. Точка А соответствует начальному сжатию аппарата, а точка Б сжатия. Сборка аппарата ведется в такой последовательности. В отверстие корпуса вставляют стяжной болт 7, под головку которого устанавливают временную прокладку, исключающую его поворот при навинчивании гайки. Затем ставят две пружины, на которые укладывают три фрикционных клина, а на них нажимной конус. После первого удара подкладка выпадает, а аппарат занимает нормальное положение.
1.2 Автосцепка Шарфенберга
На рисунке 1.6 представлена автосцепка Шарфенберга. У нас в стране она используется на вагонах метрополитена, некоторых трамвайных вагонах и части скоростных поездов. Сцепка полностью автоматическая.
За рубежом создано значительное количество разновидностей сцепки Шарфенберга, отличающихся размерами, формой отдельных частей и расположением электрических и пневматических соединителей. Зачастую вагоны с разными модификациями сцепки оказываются не совместимы между собой. Одним из крупнейших производителей модификаций сцепки Шарфенберга является компания Dellner, иногда её сцепки выделяют в отдельный подтип.
Рисунок 1.6– Автосцепка Шарфенберга
Применение автосцепки Шарфенберга на Siemens Velaro RUS (Сапсан) второй серии. В отличие от первой версии, где на головных вагонах применялась обычная автосцепка, здесь используется автоматическая сцепка Шарфенберга. Помимо автоматического соединения пневматических и электрических магистралей, она обеспечивает максимальную скорость двух сцепленных составов – 250 км/ч. Этим она отличается от СА-3, ограничивающей движение состава до 200 км/ч. Очень важное усовершенствование если учесть, что система скоростного железнодорожного транспорта будет развиваться, и скорость передвижения поездов дойдёт до проектных 250 км/ч. Для сцепления машинисту нужно открыть кожух и выдвинуть автосцепку. Это делается нажатием кнопки в кабине машиниста. Причем для сцепления не требуется участие специального работника, так называемого сцепщика. На каждом составе есть переходник с сцепки Шарфенберга на обычную, чтобы в случае непредвиденных ситуаций вести состав мог любой локомотив [1].
1.3 Автосцепка Джаннея
На подвижном составе США, КНР, Японии и ряда других стран применяются автоматические сцепки с поворотным когтем, которые правильнее называть полуавтоматическими, так как перед их сцеплением с закрытыми когтями необходимо на одном из них открывать коготь. Для расцепления автосцепок с помощью привода замок нажатием снизу поднимается вверх и располагается над когтем, не препятствуя открытию когтя и расцеплению автосцепок.
Рисунок 1.7 – Автосцепка Джаннея перед сцеплением и в сцепленном состоянии:
а – при закрытых положениях когтя у обеих автосцепок, сцепление невозможно;
б – один коготь открыт, а другой закрыт – сцепление возможно, но взаимное боковое отклонение автосцепок при этом в одну сторону закрытого когтя ограничено; в – оба когтя открыты – наиболее благоприятное расположение автосцепок для сцепления; г – автосцепки сцеплены
На рисунке показаны несколько положений автосцепки. Замыкание когтя 1 в сцепленном положении осуществляется замком 2, расположенным между корпусом 3 и когтем 1.
Рисунок 1.8 – Автосцепка Джаннея для грузовых вагонов
Рисунок 1.9 – Автосцепка Джаннея жесткая грузовых вагонов:
Характеристики
Тип файла документ
Документы такого типа открываются такими программами, как Microsoft Office Word на компьютерах Windows, Apple Pages на компьютерах Mac, Open Office - бесплатная альтернатива на различных платформах, в том числе Linux. Наиболее простым и современным решением будут Google документы, так как открываются онлайн без скачивания прямо в браузере на любой платформе. Существуют российские качественные аналоги, например от Яндекса.
Будьте внимательны на мобильных устройствах, так как там используются упрощённый функционал даже в официальном приложении от Microsoft, поэтому для просмотра скачивайте PDF-версию. А если нужно редактировать файл, то используйте оригинальный файл.
Файлы такого типа обычно разбиты на страницы, а текст может быть форматированным (жирный, курсив, выбор шрифта, таблицы и т.п.), а также в него можно добавлять изображения. Формат идеально подходит для рефератов, докладов и РПЗ курсовых проектов, которые необходимо распечатать. Кстати перед печатью также сохраняйте файл в PDF, так как принтер может начудить со шрифтами.















