147506 (566344), страница 4
Текст из файла (страница 4)
Детали каждого контакторного элемента с дугогашением скомпонованы между двумя изоляционными боковинами 2 (рис. 3 а и в), которые являются несущими элементами конструкции. Боковины крепят к двум продольным изолированным рейкам с помощью полухомута и прижима, что позволяет просто и быстро снимать контакторный элемент с контроллера.
Разрывные контакты находятся в зоне магнитного поля, создаваемого в магнитопроводе 15 витками 14. Направление магнитного потока обеспечивает выталкивание образующейся между контактами дуги вверх в дугогасительную камеру 13. Этому помогает и струя сжатого воздуха, подаваемого снизу вверх. В дугогасительной камере помещена деионная решетка, которая делит дугу на ряд последовательных дуг и тем самым ускоряет гашение. Чтобы предотвратить разрушение шарнирных соединений при протекании больших токов, шарнир рычага 10 с фигурным рычагом 6 шунтирован гибким проводом 8. Гибким проводом 3 подводится ток к подвижному рычагу 6.
Рис.4. Контакторный элемент без дугогашения
Контакторный элемент без дугогашения предназначен для замыкания и размыкания обесточенных электрических цепей. Поэтому в отличие от контакторного элемента с дугогашением он не имеет разрывных контактов и дугогасительной системы. Контакты его так же, как и токонесущие контакты элемента с дугогашением, снабжают напайками нз композиции СОК-15, имеющими малое переходное сопротивление.
Детали контакторного элемента без дугогашения, как и элемента с дугогашением, собраны на боковине 2 (рис. 4). Пружина 1 отжимает рычаг 3 в направлении поворота его вокруг оси 4 по часовой стрелке, что приводит к замыканию подвижного контакта 6 с неподвижным. Компенсатор 5 играет такую же роль, как и в контакторе с дугогашением. Крепление всех контакторных элементов унифицировано. Винтом хомут 7 прижимается к верхней рейке контроллера, обхватывая ее. Нижняя часть контактора опирается на нижнюю рейку контроллера и снизу крепится хомут (на рисунке не показан).
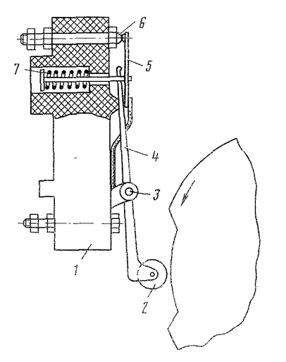
Блокировочные контакторные элементы (блок-контакты) осуществляют замыкания и размыкания в цепях управления на заданных позициях контроллера под током при напряжении 50 В. Поскольку при такой небольшой мощности возникающая дуга (точнее, искрение) быстро гаснет, то на блок-контактах нет необходимости предусматривать устройства для гашения дуги. Конструкция этих элементов несложна. На изолированном основании 1 (рис. 5) жестко укреплен неподвижный контакт 6, на оси 3—рычаг 4 с держателем 5 подвижного контакта. Рычаг состоит из двух частей, что обеспечивает притирание контактов при их замыкании. Сжатая пружина 7 стремится повернуть рычаг против часовой стрелки, т. е. замкнуть контакты. Однако будут контакты замкнуты или разомкнуты, зависит от того, в каком положении находится кулачковая шайба. Если под роликом 2 находится впадина кулачковой шайбы, контакты будут замкнуты, если — выступ, то разомкнуты.
Рис.5. Устройство блокировочного контакторного элемента
Кулачковые шайбы прессуют из пластмассы АГ-4, получая готовый профиль, не требующий дополнительной обработки. На внутреннем отверстии шайбы контакторных элементов без дугогашения сделано десять шпоночных пазов, благодаря чему шайба может быть поставлена на кулачковый вал в одно из десяти положений.
Привод главного контроллера. Кулачковые валы контакторных элементов и одновременно кулачковые валы блок-контактов приводятся во вращение электродвигателем работающим при напряжении цепи управления 50 В. Между этим двигателем и кулачковыми валами поставлены предельная муфта и редуктор. Предельная муфта предотвращает в случае какого-либо аварийного заклинивания привода или кулачковых валов (например, прн попадании посторонних предметов) поломку привода. При заклинивании она проскальзывает и вращающий момент от двигателя не передается редуктору и кулачковым валам.
Основное назначение редуктора — преобразование равномерного вращения якоря двигателя в неравномерное вращение кулачковых валов контроллера. С одной стороны, для того, чтобы на размыкающихся контактах не возникала устойчивая дуга, они должны расходиться быстро и соответственно кулачковый вал во время размыкания контактов должен вращаться быстро. С другой стороны, после того, как переключения закончились и установлена фиксированная позиция, кулачковый вал должен сразу остановиться (чтобы не «сбить» позицию), несмотря на продолжающееся по инерции вращение двигателя и зубчатых передач.
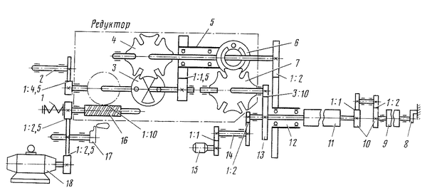
Рис.6. Устройство передачи с мальтийским крестом
Следовательно, необходимо, чтобы кулачковый вал вращался неравномерно при равномерном вращении приводного двигателя. Это и обеспечивает специальный редуктор, в котором передача выполнена с использованием так называемого мальтийского креста. На ведущем валу 2 (рис. 6) посажен диск 1 с двумя поводками — цевками 3 и фиксаторами 4 положения мальтийского креста 5, посаженного на ведомом валу 6. В начале вращения ведущего вала, пока поводок не вошел в прорезь мальтийского креста, ведомый вал остается неподвижным, его положение фиксируется специальным профилем креста и фиксатором. Далее поводок, войдя в прорезь — «зацепившись», будет поворачивать мальтийский крест, причем с неравномерной скоростью. Наибольшая частота вращения ведомого вала при равномерном вращении ведущего будет, когда поводок приблизится к ведомому валу, т. е. когда займет верхнее положение.
Рассмотрим кинематическую схему привода (рис. 7). От двигателя 18 вращение через шестерню ручного привода с рукояткой 17 и предельную муфту 1 передается червяку 16, а затем валу червячного колеса, который вращается равномерно, но со скоростью, в 10 раз меньшей, чем двигатель. От вала червячного колеса движение передается кулачковым валам 12 (дугогасящие контакторы), 11 (контакторы без дугогашения переключателя и ступеней) и 9 (контакторы без дугогашения переключателя обмоток). Цевка поводка 3, поворачиваясь, входит в паз креста 4, поворачивает его и через зубчатую передачу с передаточным отношением i=1:2 приводит во вращение вал 12. Одновременно от вала червячного колеса через зубчатую передачу с i=1:1,5 вращение передается полому валу 5, на который насажен одноцевочный поводок 6. Далее через мальтийский крест 7, зубчатую передачу с i=3:10 вращение передается кулачковому валу 11 и от него через зубчатую передачу 10 валу 9. Концевой упор 8 позволяет вращаться валу 9 в пределах 342°, что соответствует возможности вращения вала 11 в пределах 342°х2=684° (зубчатая передача с i= 1:2).
Рис.7. Кинематическая схема привода ЭКГ-8
Переход с одной позиции на другую совершается за 15 оборотов шестерни двигателя, или за 1,5 оборота червячного колеса. Переход условно можно разбить на три этапа. Первый этап: поворот червячного колеса на пол-оборота (на 180°), одновременно двухцевочный поводок 3 поворачивается на 180°, крест 4 на 60°, вал 12 на 30°, полый вал 5 и одноцевочный поводок 6 на 180°: 1,5=120°. Поскольку цевка поводка 6 не дошла до креста 7, то крест 7, шестерня 13, валы 11 и 9 остаются неподвижными. Второй этап: червячное колесо поворачивается еще на 180°, одновременно вал 12 поворачивается на 30°, и теперь уже цевка поводка 6, проходя дугу в 120°, поворачивает крест 7 на 60°, вал 11 на 18° и вал 9 на 9°. Третий этап: червячное колесо поворачивается еще на 180°, вал 12 - еще на 30°, а валы 11 и 9 остаются неподвижными. Во время первого этапа отключается один из четырех контакторов с дугогашением, во время второго один из контакторов без дугогашения размыкается, а другой затем замыкается.
Во время третьего этапа замыкается тот контактор с дугогашением, который вначале разомкнулся.
От вала червячного колеса через зубчатую передачу 1:4,5 получает вращение кулачковый вал 2 блок-контактов. Сельсин-датчик 15 через зубчатые передачи связан с валом 11. На промежуточном валу 14 установлен указатель позиций. Второй указатель позиций находится на выходном конце вала 9.
Для того чтобы в зимнее время масло в редукторе не застывало и не создавало большого сопротивления, редуктор снабжен электрическим нагревателем мощностью 130 Вт, напряжением 50 В.
Групповой контроллер имеет многочисленные блок-контакты, объединенные в две различные группы. Первая состоит из 14 блок-контактов и приводится в действие валом, связанным с валом червячного колеса привода. Вторая состоит из 17 блок-контактов и приводится в действие кулачковым валом, связанным с кулачковым валом силовых контакторных элементов без дугогашения. Диаграммы замыканий и размыканий блок-контактов контроллера на различных электровозах различны.
Переход с одной ступени на другую состоит из четырех операций, выполняемых последовательно одна за другой после кратковременных пауз: отключение контакторного элемента с дугогашением, отключение одного контакторногоэлемента без дугогашения, включение другого контакторного элемента без дугогашения и включение контакторного элемента с дугогашением, который отключился первым. Например, при переходе с 25-й на 26-ю позицию (рис. 8) сначала размыкается контакторный элемент Б, а затем элемент 23, далее замыкается элемент 24 и после этого контакторный элемент Б. Отличие 26-й позиции от 25-й заключается только в том, что на 26-й включен контакторный элемент 24, а на 25-й — 23. Оба контакторных элемента 23 и 24 (без дугогашения) производят операции в обесточенных цепях, для чего предварительно контакторный элемент Б кратковременно, только на время перехода, размыкает эти цепи. Все контакторные элементы с дугогашением А, Б, В и Г на всех позициях замкнуты и лишь кратковременно на время для переключения в «своих» цепях контакторами без дугогашения поочередно размыкаются.
Рис.8. Диаграмма замыканий и размыканий контакторных элементов ЭКГ-8
Главный контроллер ЭКГ-8 имеет 33 фиксированные позиции, набор которых осуществляется (при напряжении 50 В) меньше чем за 0,5 мин. Контакторные элементы изолированы относительно корпуса на напряжение 3100 В, рассчитаны на ток 1300 А и на напряжение 260 (с дугогашением) и 1100 В (без дугогашения); они имеют раствор контактов 20—26 (разрывные контакты) и 22—30 мм (главные контакты). Блокировочные контакты рассчитаны на ток 30 А и напряжение 50 В.
Вывод:
Исследовали многопозиционный групповой переключатель ЭКГ-8, его назначение, устройство и принцип работы.
Цель работы:
Исследовать устройство и принцип действия контроллера машиниста КМЭ-70
Порядок работы:
-
Назначение
-
Устройство
-
Принцип действия
-
Рисунок
-
Вывод
Назначение:
В процессе ведения поезда электровоз работает и в режиме тяги, и в режиме торможения, и на выбеге. Сила тяги и сила торможения может регулироваться вручную либо автоматически по заданным параметрам. Аппараты, используемые для регулирования работы преобразовательных установок и тяговых двигателей - блоки управления, переключатели ступеней, реверсор, контакторы, переключатели и др. имеют дистанционное управление. Цепи управления выведены в кабину машиниста к пульту и в основном к контроллеру машиниста. Контроллер машиниста предназначен для управления аппаратами силовой цепи в режиме тяги и электрического торможения. Машинист с помощью контроллера устанавливает направление движения, увеличивает силу тяги, осуществляя набор позиций, или уменьшает силу тяги, производя сброс позиций (причем он может это делать опять же с помощью контроллера, либо по одной позиции, либо автоматически до любой выбранной им позиции), а на электровозах с электрическим торможением задает режим торможения для остановки поезда или для поддержания определенной скорости.
Контроллер машиниста состоит из низковольтных аппаратов—в основном кулачковых переключателей. На контроллерах, предназначенных для электровозов без электрического торможения, имеются два переключателя, а с торможением — три и некоторое дополнительное оборудование. Каждый переключатель состоит из кулачкового вала, на верхнем конце которого установлена рукоятка, и кулачковых контакторных элементов (контакторов). Переводя рукоятки контроллера из одного положения в другое, машинист меняет режим ведения поезда. Каждой кулачковой шайбе, посаженной на вал, соответствует определенный кулачковый контактор. Контроллер установлен в кабине таким образом, что рукоятки его находятся у машиниста под левой рукой; у правой руки машиниста расположены рукоятки и кнопки управления пневматическими тормозами электровоза и поезда.
Рис. 1. Внешний вид
Устройство:
-
Верхнее основание5. Нижнее основание
-
Кулачковый переключатель6. Рейка
-
Рейка7. тормозной переключатель
-
Реверсивный переключатель
















