147506 (566344), страница 10
Текст из файла (страница 10)
замыкаются две параллельно включенные блокировки Р1, в результате чего от провода Н86 через замкнутые блокировки Р1 получает питание катушка промежуточного реле 207.
2. Включившись, промежуточное реле 207 одним замыкающим контактом ставит себя на самопитание от провода Н86. За счет этого реле 207 останется включенным все время, пока нажат выключатель «Включение ГВ и возврат реле», в результате чего его размыкающий контакт 207 в цепи включающей катушки ГВ останется все время разомкнутым. Этим предотвращается
«звонковая» работа ГВ при его включении на аварийный режим.
Другой замыкающий контакт реле 207 шунтирует токоограничивающие резисторы R34 и R35 (по 47 Ом) в цепи катушек дифференциальных реле 21, 22. Тогда ток от провода Н01 через катушки дифференциальных реле увеличивается и дифференциальные реле 21, 22 включаются.
3. Включившись, реле 21 и 22 своими контактами выполняют следующие действия:
размыкается по одному размыкающему контакту 21 и 22 в цепи красных сигнальных ламп «ВУ1» и «ВУ2»;
размыкается по одному размыкающему контакту в цепи катушки ГВ 40ткл., разъединяя ее с обмоткой собственных нужд;
замыкается по одному замыкающему контакту в цепи катушки промежуточного реле 264 катушка которого от провода Н72 получит питание по цепи:
«+»Н72 -» ГПО -» Н73 -» 22 -> 21 -> Н71 -» РП1 -» РП2 -» -> РПЗ -» РП4 -» Н83 -» 264 «-».
4. Включившись, промежуточное реле 264 размыкает контакт в цепи красной сигнальной лампы «РП» и замыкает контакт 264 в цепи катушки ГВ 4Удерж. На позициях ЭКГ блокировочный контакт ГПО будет разомкнут, но цепь на удерживающую катушку не прервется и она будет продолжать получать питание от провода Н72 через замкнутый контакт реле 264 и через замкнутые контакты дифференциальных реле 21, 22.
Отключение ГВ. Отключение главного выключателя может происходить по команде с пульта машиниста и автоматически, при возникновении неисправностей в схеме электровоза.
Вывод
Исследовали электрические цепи управления электровоза переменного тока
Цель работы:
Исследовать силовые электрические цепи моторного вагона электропоезда переменного тока ЭР9Е
Порядок работы:
-
Назначение
-
Принцип действия
-
Схема
-
Вывод
Назначение
Силовые электрические цепи предназначены, посредством специальных электрических аппаратов, для подачи напряжения на тяговые двигатели и другие устройства электропоезда.
После того как поднят токоприемник, включен главный выключатель, подано высокое напряжение и введены в работу вспомогательные машины и устройства, могут быть приведены в действие силовые цепи электропоезда.
Все электрическое оборудование на электропоездах соединяют в электрические цепи: силовую, вспомогательную и управления, которые графически изображают схемами. На электрической схеме условными изображениями показывают электрические аппараты, приборы и соединения между ними в той последовательности, в какой они выполнены на вагоне.
Электрическая схема позволяет проследить путь прохождения тока, взаимодействие аппаратов, определить возможные неисправности. Существуют принципиальные и монтажные схемы. На принципиальных схемах показывают лишь условные изображения катушек и контактов и соединяющие их провода. На монтажных схемах показывают все выводные зажимы аппаратов и приборов, клеммовые рейки, провода с их отпайками и разветвлениями, полную нумерацию и буквенные обозначения проводов. Электрические схемы вычерчивают отдельно для каждого типа вагона: моторного, головного и прицепного. Кроме того, для облегчения изучения и скорейшего усвоения схемы моторного, головного и прицепного вагонов условно разделяют на схемы силовой цепи, вспомогательных цепей и цепей управления.
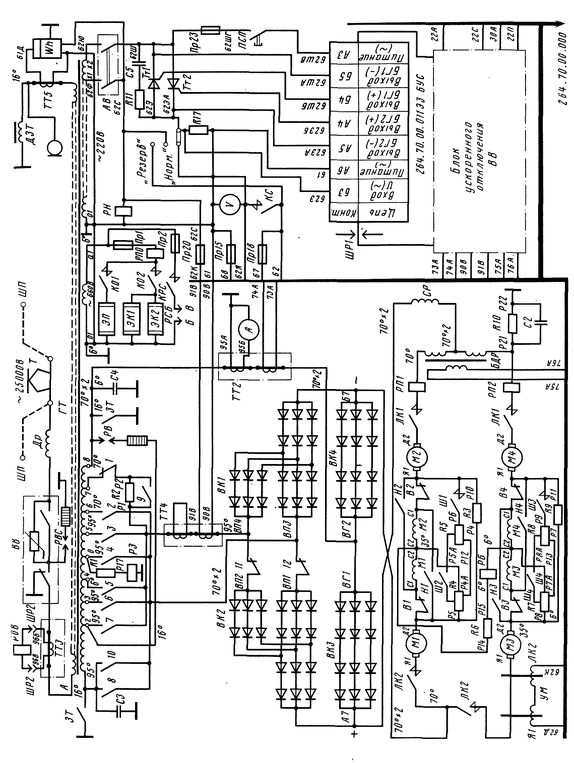
Рис.1. Схема силовых электрических цепей моторного вагона ЭР9Е
В силовую цепь моторного вагона входят аппараты, питающиеся от контактной сети напряжением 25 кВ. К ним относятся токоприемник, устройство защиты от радиопомех, разрядник, высоковольтный выключатель и первичная обмотка трансформатора. В силовую цепь входят также все устройства, питающиеся от вторичной тяговой обмотки трансформатора. К таким устройствам относят тяговые двигатели, линейные контакторы, сглаживающий реактор, реверсор, выпрямительную установку, силовой контроллер, с помощью которого выпрямительная установка подключается к выводам секций вторичной обмотки трансформатора, и т. д.
В принципиальных электрических схемах приборы и аппараты условно изображают в положении, в котором они находятся при обесточенной цепи управления, отсутствии напряжения в контактной сети, заземленной обмотке высшего напряжения силового трансформатора, открытых дверях высоковольтных шкафов и открытой лестнице подъема на крышу. При этом отсутствует сжатый воздух в цепях управления, вал реверсора находится в положении «Вперед», вал группового переключателя - на 1-й позиции.
Провода, соединяющие отдельные элементы электрооборудования данного вагона и непосредственно не связанные с проводами других вагонов, обозначают теми же номерами с добавлением буквенных индексов (1А, 1Б и т. д.)
В силовую схему моторного вагона входят: тяговый трансформатор ГТ (рис. 1), главный контроллер ГК, полупроводниковая выпрямительная установка ВК1 - ВК4, тяговые электродвигатели M1 - М4, сглаживающий реактор СР, линейные контакторы ЛК1 и ЛК2, резисторы и другие аппараты.
Переменный ток напряжением 25 кВ подается от токоприемника Т через дроссель защиты от радиопомех ДР и воздушный высоковольтный выключатель ВВ на обмотку высшего напряжения А - А" тягового трансформатора. Второй конец обмотки высшего напряжения соединен с «землей» - рельсами посредством щеточного заземляющего устройства, расположенного на оси колесной пары.
Для предохранения электрооборудования от попадания высокого напряжения на низковольтные цепи при обрыве цепи заземляющих щеток имеется второе соединение обмотки трансформатора с корпусом вагона через дроссель заземления ДЗТ. В нормальном режиме ток обмотки высшего напряжения идет через заземляющее устройство, так как оно имеет меньшее по сравнению с дросселем сопротивление. При токе обмотки высшего напряжения 40 - 80 А падение напряжения на дросселе составляет 18 - 20 В.
Обмотка низшего напряжения трансформатора (тяговая) состоит из восьми равных по напряжению секций, соединенных последовательно, и имеет девять выводов 0...8. Средняя точка тяговой обмотки заземлена через обмотку реле заземления РЗ и резистор 0-Р17. Резистор 0-Р17 предназначен для ограничения тока при замыкании силовой цепи на землю. Общее сопротивление заземляющей цепи около 5 Ом.
При аварийном замыкании силовой цепи на «землю» (вследствие нарушения изоляции, переброса на корпус и др.) реле заземления срабатывает и отключает высоковольтный выключатель ВВ. Это необходимо для того, чтобы исключить возможность образования в силовой "цепи двух заземлений, при которых возможны незащищенные контуры короткого замыкания вторичной обмотки трансформатора.
Для питания тяговых двигателей постоянным током к обмотке низшего напряжения трансформатора через контакты, силового контроллера 1...10 подключена по однофазной мостовой схеме выпрямительная установка, состоящая из четырех групп кремниевых вентилей ВК1 - ВК4. Два плеча моста ВК1 и ВК2 имеют так называемую расщепленную часть, в которую включены вентили перехода ВП1 - ВП4.
Расщепленные плечи моста соединены со сборными шинами четных и нечетных контакторов 1...10. Контакторы 1...10 подключаются к выводам секций обмотки низшего напряжения трансформатора.
Со стороны переменного тока нерасщепленная часть выпрямительного моста постоянно соединена с крайним выводом обмотки 8. Благодаря наличию вентилей перехода в плечах выпрямительного моста осуществлена схема бестокового переключения контакторов силового контроллера. При этом отпадает необходимость устанавливать переходные реакторы, и дугогасительные устройства контакторов силового контроллера.
К выпрямительной установке подключены 4 тяговых двигателя M1 - М4, соединенные в две параллельные группы по два двигателя последовательно. Включение двигателей осуществляется двумя линейными контакторами ЛК1 и ЛК2.
Контакты контактора ЛК2 включены так, чтобы исключить образование тормозного контура, который может возникнуть в результате генераторного тока при движении моторного вагона с отключенными тяговыми двигателями. Контакты контактора ЛК1 включены последовательно для облегчения гашения дуги при разрыве общего тока двух групп тяговых двигателей. Для снижения пульсаций выпрямленного тока в общую цепь тяговых двигателей включен сглаживающий реактор СР. Для дополнительного уменьшения пульсаций тока в обмотках возбуждения и, следовательно, магнитного потока двигателя обмотки возбуждения тяговых двигателей шунтируются постоянно включенными резисторами R3 (Р4 - Р10) и R9 (Р7 - РП), которые обеспечивают постоянное ослабление возбуждения до 92,5%.
Резисторы R4 (Р4—Р5); R5 (Р5—Р6) и R7 (Р7—Р8); R8 (Р8—Р9), а также контакторы силового контроллера Ш1 и Ш4 служат для двухступенчатого ослабления возбуждения тяговых двигателей до 53,5 и 32% на последних позициях силового контроллера. Контакторы Ш1 и ШЗ в отличие от остальных выполнены с дугогашением, так как при возврате контроллера с 19-й на 1-ю позицию они размыкают цепь под током.
Для заземления тяговой обмотки трансформатора при производстве работ с высоковольтным оборудованием предусмотрен двухполюсный рубильник с ручным приводом - заземлитель трансформатора ЗТ.
Рассмотрим работу силового электрооборудования при пуске электропоезда. Изменение величины напряжения осуществляют последовательным подключением главным контроллером ГК различного числа секций обмотки низшего напряжения трансформатора. При полностью включенной тяговой обмотке трансформатора регулирование скорости осуществляют ослаблением поля тяговых двигателей.
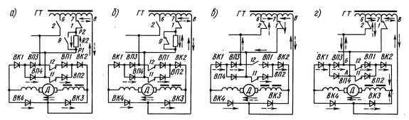
Рис.2. Схемы питания тяговых двигателей
На 1-й позиции вала ГК замкнуты контакторы 1, 11, 12. На рис. 2а дана схема питания тяговых двигателей от одной секции 7—8 обмотки трансформатора через добавочный резистор Р1—Р2, который ограничивает пусковой ток. Эту ступень используют в качестве маневровой. Она необходима для движения с небольшой скоростью и малым ускорением при трогании с места. На 2-й позиции ГК замыкается контактор 9 (рис. 2б), который выводит пусковой реостат. Сплошными стрелками показан путь тока при э. д. с. вторичной обмотки, направленной от вывода 8 к выводу 7, и пунктирными - путь тока
при обратной полярности. На 2-й позиции ток протекает через контакторы 1, 9, 11.
При повороте ГК на 3-ю позицию вначале размыкается контактор 12, не обтекаемый током, а затем замыкается контактор 2. Таким образом, на 3-й позиции замкнуты контакторы 1, 2, 9, 11. Напряжение на двигателях повышается, так как в полупериод, когда э. д. с. вторичной обмотки трансформатора направлена от вывода 6 к выводу 8, к выпрямительной установке приложено напряжение двух секций тяговой обмотки трансформатора. Путь тока на рис. 2в в этом случае показан пунктирными стрелками. Во второй полупериод, когда э. д. с. обмотки трансформатора направлена от вывода 8 к выводу 6, на двигатели подается напряжение только одной секции 7 - 8, так как цепь соединения выпрямителя с выводом 6 через вентили перехода ВП1 разорвана контактором 12 (путь тока в этот полупериод показан сплошными стрелками). Таким образом, 3-я позиция отличается повышенной пульсацией, так как в первый полупериод напряжение на двигателях равно напряжению двух секций обмотки трансформатора, а во второй полупериод - напряжению одной секции.
Повышенную пульсацию из-за неравенства подводимого напряжения в разные полупериоды имеют все последующие нечетные позиции до 15-й включительно. Эти позиции используют только как переходные в процессе пуска.
На 4-й позиции включается контактор 12 (см. рис. 2г), и в оба полупериода двигатели получают питание от двух секций вторичной обмотки трансформатора. Контакторы 1 и 11 на 4-й позиции обесточены, так как цепь тока проходит только по вентилям перехода ВП1 и ВПЗ. Это объясняется тем, что потенциал точки Б, связанной с выводом 6 двух секций трансформатора, в один из полупериодов выше потенциала точки А (э. д. с. направлена от вывода 8 к выводу 6 - сплошные стрелки), а в другой полупериод потенциал точки Б ниже потенциала А (э. д. с. направлена от вывода 6 к выводу 8 - пунктирные стрелки).
Необходимо отметить, то наличие вентилей перехода препятствует образованию тока короткого замыкания при одновременном включении контакторов 1 и 2, И и 12 или других, аналогичных по схеме. Благодаря этому при переходе на 5-ю позицию контакторы силового контроллера 1 и 11 отключаются без разрыва тока, что позволило их выполнить без дугогашения.
На 5-й позиции после размыкания контакторов 1 и 11 замыкается контактор 3. При этом вновь создается режим выпрямления с повышенной пульсацией. Питание электродвигателей в первый полупериод осуществляется напряжением о
т трех секций 5 - 8 тяговой обмотки трансформатора по цепи вентилей перехода ВП4, во второй полупериод - от двух секций 6 - 8 по цепи вентилей перехода ВП1.















