147506 (566344), страница 5
Текст из файла (страница 5)
Рис.2. Контроллер машиниста КМЭ-70
Контроллер машиниста КМЭ-70 состоит из главного кулачкового переключателя 2 (рис. 2), реверсивного переключателя 4, тормозного переключателя 7, механической блокировки, переключателя тормозной силы и сельсина, являющегося датчиком напряжения для системы регулиро вания реостатного напряжения. Узлы контроллера машиниста смонтированы в каркасе, представляющем собой два основания — верхнее 1 и нижнее 5, жестко соединенных рейками З и 6.
Принцип действия:
При постановке рукоятки в ту или другую позицию происходит замыкание одних и размыкание других контакторов в соответствии с диаграммой замыканий, показанной на рис. 3, 4 и 5.
Рис.3. Диаграмма замыканий контакторов главного вала КМЭ
Рис.4. Диаграмма замыканий контакторов реверсивного вала КМЭ
Рис.5 Диаграмма замыканий контакторов тормозного вала КМЭ
Позиции рукоятки 3 (рис. 6) главного переключателя, рукоятки 4 реверсивного и рукоятки 2 тормозного переключателя указаны на шкалах, укрепленных на контроллере. Расположение позиций неслучайно. Оно имеет определенный, логический смысл и закономерность. Любое изменение позиций (например, перестановка местами РП и АП) исключило бы возможность управления электровозом.
Главный переключатель контроллера служит для управления тяговым режимом электровоза. Он имеет следующие позиции: 0—нулевая; АВ—автоматическое выключение; РВ—ручное выключение; ФВ—фиксация выключения; ФП—фиксация пуска; РП— ручной пуск; АП—автоматический пуск; БВ—быстрое выключение. Позиции АП и БВ не фиксированные, с самовозвратом рукоятки. Остальные позиции - фиксированные.
Кулачковый вал реверсивного переключателя установлен соосно с валом главного переключателя. Реверсивный переключатель служит для управления реверсорами, осуществляющими изменение
направления движения (вперед или назад), а также для регулирования ослабления возбуждения тяговых двигателей. Он имеет следующие фиксированные позиции: 0 - нулевая, ПП - вперед; ОП1, ОП2, ОПЗ (соответственно 1, 2 и 3-я ступени ослабления возбуждения); ПП - назад. Все позиции реверсивного переключателя — фиксированные.
Тормознойпереключатель предназначен для управления электровозом в режиме реостатного торможения и для плавного регулирования тока возбуждения двигателей, работающих при этом в генераторном режиме. Позиции тормозного переключателя: 0 - нулевая (на рисунке она над рукояткой); П - подготовка цепей к торможению; ПТ- предварительное торможение с тормозной силой до 120 кН; Торможение. Позиции 0, П, ПТ и крайние положения зоны «Торможение» фиксированные. Остальные позиции зоны «Торможение» нефиксированные. На валу тормозного переключателя, кроме кулачковых, установлена профильная шайба, с помощью которой производится поворот ротора сельсина. Поворот рукоятки по часовой стрелке от позиции ПТ до крайнего положения зоны торможения вызывает плавное уменьшение выходн
ого напряжения сельсина от 24 В до нуля. На верхнем основании контроллера установлен переключатель тормозной силы ПТС (см. рис. 6, рукоятка 1). Положение его рукоятки определяет тормозную силу электровоза. Для предотвращения ошибочных действий машиниста все три групповых переключателя контроллера сблокированы специальными дисками, рычагами и пружинами. Это обеспечивает перемещения:
главной рукоятки, если реверсивная не находится на позиции 0 и тормозная установлена в положение 0;
тормозной рукоятки, если реверсивная находится в положении ПП и главная установлена в положение 0;
реверсивной рукоятки в положения ОП1, ОП2, ОПЗ, если тормозная находится в положении 0;
реверсивной рукоятки в положение 0 при нахождении главной и тормозной рукояток в положении 0.
Перемещения главной и тормозной рукояток невозможны, если реверсивная рукоятка находится в положении 0.
Рис.6. Контроллер КМЭ-70 (вид сверху)
Устройство кулачковых контакторных элементов на всех контроллерах примерно 4одинаково, но конструктивное исполнение различное. Для примера рассмотрим кулачковый контактор КЭ-153. На изоляционном основании 2 (рис. 7) укреплен рычаг 6, который может поворачиваться на оси 7 в ограниченных пределах. На одном его конце укреплен подвижной контакт 4, а на другом — ролик 8.
Рис.7. Контактор кулачковый КЭ-153
Рычаг отжимается пружиной 9 в сторону замыкания подвижного контакта 4 с неподвижным 3. Подвижной контакт замыкается с неподвижным с притиранием благодаря упругости специально выбираемой конструкции держателя 5 подвижного контакта. Латунные выводы 1 контактов закреплены на основании контактора. Контакты контактора нормально замкнуты. Если под ролик 8 подходит выступающая часть кулачковой шайбы — он отжимается, рычаг поворачивается и контакты размыкаются. Все контактные поверхности обычно посеребрены.
Вывод:
Исследовали контроллер машиниста КМЭ-70, его назначение, устройство и принцип действия
Цель работы:
Исследовать устройство и принцип действия блока дифференциальных реле БРД
Порядок работы:
-
Назначение
-
Устройство
-
Принцип действия
-
Рисунок
-
Вывод
Рис.1. Внешний вид
Назначение
На электровозах для защиты электрооборудования от токов короткого замыкания на вторичной стороне тягового трансформатора используется дифференциальная защита. Основным органом ее является блок БРД (блок реле дифференциальной защиты). При аварийном режиме ток в силовой цепи резко возрастает. Блок БРД постоянно контролирует скорость возрастания тока. Если она превышает наибольшую, которая может быть в рабочем режиме, то он срабатывает и своими контактами воздействует на отключающий механизм ГВ.
Устройство и принцип действия
Он состоит из двух одинаковых электромагнитных реле 3 и 7. Якорь 2 реле, с которым связан рычаг 5, переключающий контакты 6, постоянно отжимается
пружиной 1 вверх. На магнитопроводе реле помещена удерживающая (она же и включающая) катушка 4. Катушки обоих реле соединены
последовательно и получают питание от напряжения 50 В. Ток в их цепи, ограниченный резисторами r 34 и r35, достаточен для удержания якорей
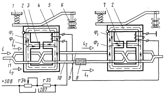
Рис.2. Устройство блока дифференциальных реле
притянутыми и недостаточен для их притягивания. При восстановлении реле резисторы замыкаются накоротко контактом реле 207, что происходит при нажатии кнопки «Включение ГВ и возврат реле». Ток удерживающих катушек возрастает, якоря притягиваются. Включенное положение обоих реле свидетельствует о готовности защиты, что автоматически контролируется включенным положением главного выключателя, так как в цепь его удерживающей катушки введены контакты обоих реле.
Шина 11 разрезана на две части — параллельные ветви 10 и 9. Сквозь окна магнитопроводов каждого реле эти ветви пропущены одна навстречу другой. В случае если через блок дифференциальных реле протекает постоянный и неизменный по значению ток, то общий ток i делится между цепями примерно поровну: i = i1 + i2, a i1 = i2. Магнитные потоки Ф1 и Ф2, вызванные соответственно токами i1 и i2, равны и противоположно направлены, т. е. взаимно компенсированы. Результирующий поток в магнитной системе каждого реле определяется лишь магнитным потоком удерживающей катушки. Магнитные потоки Ф удерживающих катушек направлены по часовой стрелке (чтобы не загромождать рисунка, они не показаны). В реле 3 поток Ф совпадает с магнитным потоком Ф2, а в реле 7—с магнитным потоком Ф1. Взаимная компенсация потоков Ф1 и Ф2 происходит при условии, что через шину 11 протекает постоянный и неизменный по значению ток i.
Теперь представим, что ток i, протекающий через блок слева направо, быстро возрастает. На одну шинку (с током i1) посажен пакет стальных шайб, и индуктивность ее больше, чем другой шинки (с током i2). Поэтому ток i1 нарастает значительно медленнее, чем ток i2. Соответственно и магнитные потоки Ф2 в обоих реле возрастают значительно быстрее, чем потоки Ф1. Поэтому в обоих реле появится поток, равный разности Ф2 - Ф1 и направленный так же, как поток Ф2.
В магнитопроводе реле 3 магнитный поток Ф2 совпадает с потоком Ф от удерживающей катушки. Следовательно, результирующий поток в реле 3 будет увеличиваться и якорь реле будет притягиваться к магнитопроводу с еще большим усилием. Одновременно в магнитопроводе реле 7 магнитный поток Ф2 направлен противоположно магнитному потоку Ф. Следовательно, р
езультирующий поток в реле 7 будет уменьшаться и якорь под воздействием пружин отпадет от сердечника реле 7.
Если через БРД будет протекать нарастающий ток в обратном направлении—справа налево, то произойдет обратное: якорь реле 7 будет притягиваться к сердечнику с большей силой, а якорь реле 3 отпадет, т. е. сработает реле 3. Аналогичное соотношение магнитных потоков в реле будет и в случае быстро уменьшающегося тока в БРД.
Блок БРД контролирует не значение протекающего через него тока, а лишь скорость его изменения: одним реле — в одном направлении, другим реле — в другом. Блок БРД срабатывает при разности токов в силовых витках 500 А. Время срабатывания — от момента достижения током уставки до начала соприкосновения размыкающих контактов в цепи переменного тока— при скорости нарастания силового тока 1,3-106 А/с составляет 0,01 с.
Если через БРД протекает медленно возрастающий, медленно уменьшающийся или вообще неизменный ток, ни одно его реле не сработает.
При отпадании якоря любого из двух реле БРД контакты этого реле выполняют три операции: замыкают цепь отключающей катушки ГВ, размыкают цепь его удерживающей катушки и замыкают цепь красной сигнальной лампы.
Рис.3. Блок дифференциальных реле
Блок БРД (рис. 3) содержит два реле со специальной ошиновкой. На одной из шин поставлен пакет стальных шайб 8. Каждое реле состоит из шихтованного магнитопровода 1, якоря 5, катушки 7, контактов 6. Якорь может поворачиваться на оси 4. Одним концом он производит переключение контактов. На другой его конец действует отключающая пружина, усилие которой регулируют гайкой. Реле закрыто прозрачным кожухом. Силовая шина 2 с индуктивным шунтом с помощью клиц укреплена на каркасе, который состоит из двух панелей 3, скрепленных шпильками.
На верхней панели размещены добавочные резисторы и выводы. Размыкающие и замыкающие контакты сгруппированы в одном блоке.
Вывод
Исследовали устройство и принцип действия блока дифференциальных реле БРД
Цель работы:
Исследовать силовые электрические цепи электровозов постоянного тока
Порядок работы:
-
Назначение
-
Принцип действия
-
Схема
-
Вывод
Назначение
Силовые электрические цепи предназначены, посредством специальных электрических аппаратов, для подачи напряжения на тяговые двигатели электровоза.
После того как поднят токоприемник, включен главный выключатель, подано высокое напряжение и введены в работу вспомогательные машины и устройства электровоза, могут быть приведены в действие силовые цепи электровоза.















