147506 (566344), страница 3
Текст из файла (страница 3)
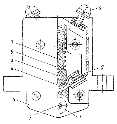
Рис.1. Переключатель кулачковый двухпозиционный ПКД-142
-
Боковина8. Вентиля
-
Цилиндр9. Шпильки
-
Рычаг10. Кулачковые элементы
-
Кулачковый вал11. Кулачковые шайбы
-
Блокировочные контакты12. Нижний подвижный контакт
-
Зубчатая передача13. Нижний неподвижный контакт
-
Рейка
На рейках 7 (рис. 1) каркаса, состоящего из боковин 1, стянутых шпильками 9, укреплены четыре кулачковых элемента 10. Кулачковый вал 4 и электропневматический привод — два вентиля 8, цилиндр 2 и рычаг 3—смонтированы на боковинах 1. Переключатель имеет две фиксированные позиции. В одной из них замкнуты верхние контакты, а нижние 12 и 13 разомкнуты; в другой, наоборот, верхние разомкнуты, а нижние замкнуты. Включение и отключение контакторных элементов производятся фигурными кулачковыми шайбами 11, сидящими на валу 4. Кулачковый элемент переключателя представляет собой отдельно собранный блок. Дугогасящих устройств на нем нет, поскольку операции переключения производятся при обесточенных цепях. Каждый контакторный элемент имеет две пары размыкаемых стыковых контакторов 12 и 13 и скользящий (неразмыкаемый) контакт. Необходимое контактное нажатие достигается пружинами.
В верхней части переключателя установлен комплект блокировочных контактов 5. Переключение их производится кулачковыми шайбами, насаженными на специальный вал, который связан, с главным кулачковым валом через зубчатую передачу 6.
Принцип действия:
Рис.2. Привод переключателя ПКД-142
Привод переключателя ПКД-142— электропневматический. В цилиндр корпуса 1 (рис. 2) помещен поршень 2. Перемещение поршня передается через тягу 3 рычагу 4, размещенному на кулачковом валу 5. Если возбужден один вентиль 6, например правый, то поршень перемещается в противоположную (левую) сторону и тягой поворачивает рычаг с кулачковым валом по часовой стрелке, устанавливая его в одно из фиксированных положений. При возбуждении другого вентиля поршень перемещается вправо, поворачивая вал в другое фиксированное положение.
Рис.3. Кулачковый блокировочный контакт
Блок-контакты представляют собой малогабаритные кулачковые контакторы закрытого исполнения (рис. 3). В корпусе 3 сжатая пружина 7 постоянно отжимает шток 6 в положение, при котором контакты 9, соединенные с контактными зажимами 8, замыкаются подвижным пружинящим контактом 4. Благодаря тому, что подвижной контакт выполнен в виде коромысла, замыкание контактов происходит с притиранием; это уменьшает переходное сопротивление и износ контактов. Если под ролик 1, сидящий на оси 2, подходит впадина кулачковой шайбы, то под действием пружины контакты замыкаются. Если же под ролик подходит выступ кулачковой шайбы, то он вместе с осью 5, штоком 6 и подвижным контактом 4, преодолевая усилие пружины, перемещается вверх.
При этом контакты размыкаются.
В тяговом режиме электровоза обмотки возбуждения двигателей соединены последовательно с якорями. В тормозном режиме двигатели, работающие в генераторном режиме, имеют независимое возбуждение. Их обмотки возбуждения, соединяют последовательно и подключают к независимому источнику питания. Для переключения обмоток возбуждения двигателей во время перевода электровоза из тягового режима в тормозной и обратно служит тормозной переключатель, в качестве которого используют кулачковый двухпозиционный переключатель того же типа (ПКД-142). Кулачковый контакторный элемент переключателя ПКД-142 рассчитан на напряжение 3000 В, длительный ток 850 А и ток короткого замыкания 15 кА в течение 0,1 с. Блок-контакты переключателя допускают длительный ток 15 А, способны отключать ток до 6 А при напряжении 50 В.
Вывод:
Исследовали двухпозиционный кулачковый переключатель ПКД-142 его назначение, устройство и принцип работы
Цель работы:
Исследовать устройство и принцип работы ЭКГ-8
Порядок работы:
-
Назначение
-
Устройство
-
Принцип работы
-
Рисунок
-
Вывод
Назначение:
Переход от одной ступени регулирования напряжения к другой представляет собой короткий цикл однотипных операций отключения и включения с одинаковой последовательностью. Это позволяет систему переключения ступеней регулирования, а также схему управления на электровозах переменного тока сделать достаточно простыми и переключающую аппаратуру и оборудование расположить на электровозе в одном месте, иногда даже в одном агрегате, называемом переключателем ступеней, который для удобства монтажа размещают вблизи тягового трансформатора. Переключатели ступеней предназначены для переключения силовых цепей с целью регулирования напряжения на тяговых двигателях.
Устройство
Переключатель ступеней, выполненный в виде группового контроллера ЭКГ-8 (электровозный контроллер главный) представляет собой набор кулачковых контакторных элементов (кулачковых контакторов), производящих переключения. Каждый из них имеет свою кулачковую шайбу, профилем которой определяется включенное или отключенное состояние контакторного элемента на заданных позициях контроллера. Кулачковые шайбы насажены на три вала взаимно связанных соответствующими механическими передачами, благодаря чему все операции замыкания и размыкания контакторов происходят в строго определенной последовательности. С основными кулачковыми валами зубчатыми передачами связаны кулачковые валы блокировочных контакторных элементов (блок-контактов), замыкающихся и размыкающихся на заданных ступенях регулирования. При наборе позиций кулачковые валы вращаются в одну сторону и контакторы включаются и отключаются в определенной последовательности. В процессе сброса позиций кулачковые валы вращаются в другую сторону и контакторы включаются и отключаются в обратной последовательности. Необходимую очередность работы контакторных элементов обеспечивают, подбирая для каждого элемента соответствующий профиль кулачковой шайбы. Кулачковые валы имеют двигательный привод, которым управляет машинист с помощью контроллера машиниста, расположенного в кабине. Одной из главных особенностей контроллера ЭКГ-8 является наличие в нем контакторных элементов двух типов: с дугогашением и без дугогашения. Замыкание и размыкание силовых цепей под нагрузкой осуществляют четыре контакторных элемента с дугогашением - А, Б, В и Г (рис. 1), а переключения в обесточенных цепях - 30 контакторных элементов без дугогашения (9 - 40, исключая 34, 38).
Рис.1. Схема соединений контакторных элементов контроллера ЭКГ-8
Рис.2. Главный контроллер ЭКГ-8
-
Контакты без дугогашения5. Блок-контакты
-
Контакты с дугогашением6. Станина
-
Электропневматические вентили7. Продольные рейки
-
Приводной двигатель
В контроллере ЭКГ-8 (рис. 2) на четырех продольных рейках 7 закрепленных в станине 6, установлено 34 контакторных элемента: четыре с дугогашением 2 и 30 без дугогашения 1. В числе их 12 контакторных элементов переключателя обмоток. Последние расположены в противоположной стороне от привода. Для эффективного гашения дуги, возникающей на контактах при разрыве цепи с током, через электропневматические вентили 3 подводится сжатый воздух к контакторным элементам с дугогашением.
Приводной двигатель 4 со специальным редуктором расположен справа вблизи контакторных элементов с дугогашением. Двигатель через редуктор приводит во вращение три кулачковых вала: один, с которым связаны контакторные элементы переключателя ступеней без дугогашения, и второй, полый, на который насажены кулачковые шайбы контакторных элементов с дугогашением. Третий кулачковый вал — вал контакторных элементов переключения обмоток (встречное или согласное соединение) — расположен с противоположной стороны от приводного двигателя и приводится во вращение через зубчатую передачу от первого кулачкового вала.
Внизу, справа от приводного двигателя, расположены блок-контакты 5 контроллера. Их иногда называют блокировочными контакторными элементами, или кулачковыми контакторами цепей управления.
Все контакторные элементы контроллера ЭКГ — кулачкового типа. Это значит, что кулачковая шайба, поворачиваясь, либо отжимает рычаг с подвижным контактом — тогда контактор выключается, либо дает возможность пружине прижать рычаг с подвижным контактом к неподвижному — тогда контактор включается. Основное назначение контактора с дугогашением — размыкать цепь под током, поэтому у него имеются устройства, обеспечивающие быстрое гашение возникающей на его контактах электрической дуги, что предотвращает интенсивный износ и повреждение контактов.
Принцип действия:
Рис.3. Контакторный элемент с дугогашением (а), его электрическая схема (б) и общий вид (в).
Основной подвижной частью контактора является фигурный рычаг 6, смонтированный на оси 01, вокруг которой он может поворачиваться. В верхней части фигурного рычага жестко укреплен контакт 16 и на оси 02 рычаг 10 с подвижным контактом 12. В нижней изогнутой части фигурного рычага посажен свободно вращающийся ролик 4. Пружина 1 постоянно стремится повернуть рычаг вокруг оси 01 по часовой стрелке, а пружина 9 - рычаг 10 вокруг оси 02 также по часовой стрелке. Таким образом, обе пружины создают усилия, действующие в направлении замыкания подвижных контактов с неподвижными. Однако, в каком положении находятся контакты — замкнуты они или разомкнуты, зависит от того, на каком участке профиля кулачковой шайбы 5 находится ролик 4. Если при повороте кулачкового вала ролик оказывается во впадине профиля кулачковой шайбы (это положение показано на рис. 3а), то под действием пружин контакты замыкаются. Если ролик находится на выступе кулачковой шайбы, то контакты разомкнуты.
Проследим, как происходит отключение контактора с дугогашением. Когда под ролик подходит выступ кулачковой шайбы, рычаг 6 начинает поворачиваться против часовой стрелки. Сначала, при небольшом повороте рычага, размыкаются нижние контакты 16, а верхние благодаря тому, что одновременно повернулся рычаг 10 на оси 02, остаются замкнутыми. В результате дальнейшего накатывания ролика на кулачковую, шайбу и поворота рычага 6 против часовой стрелки рычаг 10 упирается в верхний конец 11 рычага 6, и тогда начинается размыкание верхних контактов.
В процессе включения контакторного элемента все операции происходят в обратном порядке. Когда к ролику подходит впадина кулачковой шайбы, рычаг 6 вместе с рычагом 10 поворачивается по часовой стрелке. В результате замыкаются сначала верхние контакты, а затем нижние.
В процессе отключения контакторного элемента сначала размыкаются токонесущие контакты, и дуга между ними практически не образуется, так как в это время существует обходная электрическая цепь через разрывные контакты. Затем размыкаются разрывные контакты, и между ними образуется дуга. Эти контакты размещают в дугогасительной камере, которая находится между магнитными полюсами.
Дугогасительная камера ограничивает область распространения дуги, предупреждая переброс ее на соседние контакторы контроллера. В камере осуществляется разрыв и гашение дуги.
Таким образом, и размыкание цепи под нагрузкой, и замыкание ее осуществляют верхние контакты (рис. 3б). Чтобы в какой-то мере уменьшить повреждение контактов, их изготовляют из тугоплавкого материала, который может выдерживать высокие температуры, возникающие при горении электрической дуги. В качестве такого материала применяют металлокерамическую композицию МВ-70 (медь — 27%, никель — 3,5% и вольфрам — 69,5%). Но такие контакты, имея сравнительно большое сопротивление, не могут длительно пропускать большой ток, так как они сильно перегреваются.
Поэтому предусмотрены нижние токонесущие, или, как их иногда называют, главные контакты, через которые протекает почти весь ток контакторного элемента. Изготовлены они из материала с малым переходным сопротивлением — металлокерамической композиции СОК-15 (серебро — 85%, окись кадмия—15%). Когда контакторный элемент включен, обе пары контактов замкнуты и для тока существуют две цепи: через верхние разрывные и через нижние токонесущие контакты. Однако сопротивление разрывных контактов значительно больше, чем токонесущих. Поэтому основная часть тока протекает через нижние контакты и лишь очень небольшая часть — через верхние.
















