147506 (566344), страница 2
Текст из файла (страница 2)
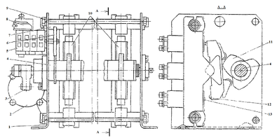
Контакты разъединителя не должны начинать размыкаться до погасания дуги на дугогасительных контактах. Для обеспечения необходимой выдержки времени в выключателе предусмотрена полость 52 и диафрагма 54 с регулируемым сечением: чем меньше сечение диафрагмы, тем больше будет выдержка времени. Через 0,30—0,35 с после начала размыкания дугогасительных контактов поршень 55 под действием сжатого воздуха перемещается в крайнее правое положение, размыкая токоведущую цепь и поворачивая нож разъединителя до замыкания с заземляющим кронштейном 18.
При повороте вала 61 в сторону отключения толкатель 37 перемещается вправо и перестает сжимать пружину. Якорь 33, рычаг 28 и клапан 31 освобождаются от воздействия пружины 34. Пружина в полости 49 закрывает клапан 31. Воздух из-под поршня 26 уходит в атмосферу, закрывается главный клапан 25. После этого давление в камере падает, и поршень 10 с подвижным контактом 5 возвращается в крайнее левое положение: дугогасительные контакты замыкаются. Как в отключенном, так и во включенном положениях вал 61 фиксируется доводящим механизмом 36 со сжатой пружиной. Конденсат из резервуара 39 удаляется через трубку 40.
Вывод:
Исследовали главный выключатель ВОВ-25-4М его назначение, устройство и принцип действия
Цель работы:
Исследовать устройство и принцип действия электропневматического контактора 1КП.006
Порядок работы:
-
Назначение
-
Конструкция
-
Принцип действия
-
Схема-рисунок
-
Вывод
Назначение:
Электропневматические контакторы применяются в электрических цепях с большой мощностью, где токи достигают сотни ампер, и требуется значительное нажатие силовых контактов, а в цепях с напряжением, достигающим несколько киловольт, необходим значительный раствор контактов чтобы исключить возможность пробоя при отключенном контакторе.
Конструкция и принцип действия
-
Плюсовой контакт
-
Упорная планка дугогасительной камеры
-
Верхний дугогасительный рог
-
Дугогасительные контакты
-
Дугогасительная камера
-
Пружина
-
Нижний дугогасительный рог
-
Пружинный замок дугогасительной камеры
-
Изоляционный кронштейн
-
Блокировочные контакты
-
Направляющая изолятора подвижного контакта
-
Катушка вентиля
-
Вентиль
-
Крышка
-
Цилиндр
-
Стержень
-
Внешний вывод
-
Изолятор
-
Соединительный провод
-
Подвижный контактный держатель
-
Ось
-
Неподвижный контакт
-
Главные контакты
-
Изоляционная стойка
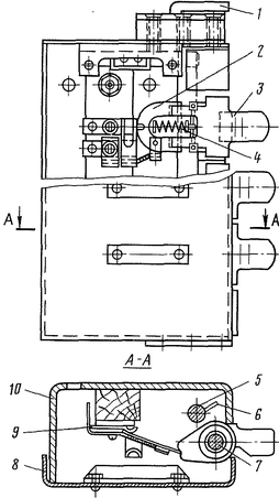
Рис.1. Устройство электропневматического контактора
Все узлы и детали контактора собраны на изоляционном стержне 13 (рис. 1). В конструкцию аппарата входят подвижный 9 и неподвижный 10 контакты, дугогасительная камера 15, пневматический привод и блокировочные контакты. Неподвижный контакт представляет собой кронштейн 11 с дугогасительной катушкой 12 и собственно
контактом 10. На кронштейне 6 подвижного контакта шарнирно установлен рычаг 8 держателя 7 с контактом 9. Рычаг связан изоляционной тягой 5 со штоком пневматического привода.
Привод состоит из цилиндра 3, в котором находятся отключающая пружина, шток, поршень и крышка электромагнитного вентиля 2. Поршень уплотнен резиновыми манжетами.
Контактор имеет лабиринтнощелевую дугогасительную камеру 15 из двух боковин (из композиционного материала) и перегородкой на выходе.
Блокировочные контакты изготовлены в виде отдельного узла 1. Контакты мостикового типа с контактными деталями из серебра закрыты прозрачным корпусом. Они установлены на цилиндре 3
пневматического привода и замыкаются или размыкаются под действием скобы 4, закрепленной на штоке привода. Сжатый воздух, поступая в цилиндр привода, перемещает поршень и подвижную
систему контактора и замыкает главные контакты, одновременно переключая блокировочные контакты.
Размыкаются главные контакты под действием отключающей пружины после снятия питания с катушки вентиля. Воздух из цилиндра выходит через вентиль в атмосферу, подвижная система контактора возвращается в исходное положение, размыкая главные контакты. Возникшая между контактами дуга под действием магнитного поля дугогасительной катушки затягивается в щель дугогасительной камеры, где охлаждается, удлиняется и гаснет.
На пневматическом выводе электромагнитного вентиля имеется втулка с калиброванным отверстием диаметром 1,5 мм, через которое сжатый воздух равномерно поступает в цилиндр привода. Поэтому при включении контакты не испытывают ударных нагрузок.
Рис.2. Кинематическая схема электропневматического вентиля
1. Основание2. Главный подвижный контакт
3. Главный неподвижный контакт4. Дугогасительная катушка
5. Разрывной подвижный контакт6. Рычаг
7. Отключающая пружина8. Цилиндр
9. Катушка вентиля10. Вентиль
11. Планка12. Блок-контакты
Вывод:
Исследовали электропневматический контактор 1КП.006 его назначение, устройство и принцип действия.
Цель работы:
Исследовать устройство и принцип действия электропневматического вентиля
Порядок работы:
-
Назначение
-
Устройство
-
Принцип действия
-
Рисунок
-
Вывод
Назначение:
-
Корпус9. Ствол выпускного клапана
-
Выпускной клапан10. Впускной клапан
-
Сердечник11. Пружина
-
Катушка12. Ярмо
-
ЯкорьР. Резервуар сжатого воздуха
-
КрышкаЦ. Цилиндр аппарата
-
КнопкаА. Атмосфера
-
Шпильки
Многие аппараты электровозов переменного тока имеют пневматический привод, который действует при подаче сжатого воздуха в его цилиндр. Доступ сжатому воздуху из резервуара в цилиндры приводов аппаратов и из этих цилиндров в атмосферу открывают и закрывают пневматические клапаны. Управление пневматическими клапанами осуществляется с помощью электромагнитов.
Электромагнит и система клапанов чаще всего размещены в одном аппарате. Простейшим таким аппаратом является электропневматический вентиль.
Вентиль при невозбужденном состоянии своей катушки соединяет цилиндр аппарата, на котором он установлен, с атмосферой и отсоединяет его от источника сжатого воздуха. При возбужденном состоянии катушки вентиль соединяет цилиндр аппарата с источником сжатого воздуха и отсоединяют его от атмосферы.
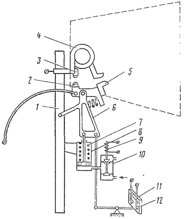
Рис. 1. Электропневматический вентиль
Устройство и принцип действия:
Вентиль включающего типа состоит из корпуса 1 (рис. 1), которым он прикреплен к соответствующему аппарату. Корпус имеет отверстия, ведущие: Р — к резервуару сжатого воздуха, Ц — к цилиндру аппарата и А — к атмосфере. Внутрь корпуса запрессована бронзовая втулка (седло) для клапанов 2 и 10. При возбуждении катушки якорь 5 под действием магнитного потока поворачивается относительно острой грани ярма 12 и нажимает на ствол 9 выпускного клапана 2. Последний своей притирочной поверхностью прижимается к седлу и отсоединяет цилиндр привода от отверстия А, т. е. от атмосферы. Одновременно с этим выпускной клапан 2 давит на ствол впускного клапана 10, преодолевая сопротивление пружины 11. Сжатый воздух поступает через отверстие Р в пространство между притирочными поверхностями впускного клапана и седла и через отверстие Ц в цилиндр привода аппарата.
При прекращении питания катушки 4 пружина 11, преодолев вес обоих клапанов и якоря, отжимает их кверху, вследствие чего доступ сжатого воздуха в цилиндр аппарата прекращается. Отверстие Ц соединяется при этом с отверстием А, и сжатый воздух из цилиндра аппарата выходит в атмосферу.
В сердечник 3 вклепаны две медные шпильки 8 для предохранения якоря от залипания. Проверку работы вентиля вручную производят кнопкой 7, установленной в крышке 6, из немагнитного металла. Выход воздуха в атмосферу регулируется винтом, ввернутым в отверстие А.
Вентили ВВ открытого исполнения применяются двух типов: ВВ-2 и ВВ-3, различающихся расчетными данными катушек. Вентили ВВ-3 снабжены медными демпферными кольцами. При включении и отключении катушки изменяющийся магнитный поток наводит в этих кольцах вихревые токи. Их магнитный поток действует соответственно навстречу или согласно со спадающим потоком катушки, в результате этого происходит замедление и смягчение работы клапанов.
Рис. 2. Кинематическая схема вентиля
1. Кнопка проверки2. Якорь
3. Шток4. Катушка
5. Сердечник6. Ярмо
7. Выпускной клапан8. Клапанная коробка
9. Впускной клапан10. Пружина
Вывод:
Исследовали электропневматический вентиль его назначение, устройство и принцип действия
Цель работы:
Исследовать устройство и принцип действия выключателя цепей управления
Порядок работы:
-
Назначение
-
Устройство
-
Принцип действия
-
Рисунок
-
Вывод
Назначение:
Дистанционное управление токоприемниками, главным выключателем, переключателями, контакторами и другим оборудованием, не связанным с режимом ведения поезда, осуществляют с помощью кнопочных выключателей, расположенных в кабинах машиниста и в проходах кузова. Их часто называют кнопками управления. Кнопочные выключатели работают в цепях управления электровоза с напряжением 50 В постоянного тока.
Рис.1. Устройство кнопочного выключателя
1 – Рукоятка; 2 – Ось; 3 – Пружина
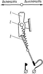
Устройство и принцип работы:
Рукоятка 1 (рис. 1) каждого выключателя сидит на оси 2, общей для всех выключателей. Подвижной и неподвижный контакты соединены с выводными зажимами. Пружина 3 обеспечивает фиксированное положение выключателей, создает необходимое контактное нажатие и перекидывает подвижной контакт из одного положения в другое с большой скоростью независимо от того, с какой скоростью машинист перемещает рукоятку. Большая скорость замыкания и размыкания предотвращает длительное горение дуги и тем самым подгар контактов.
Рис.2. Кнопочный выключатель
Выключатели монтируют в корпусе 10 (рис. 2) со съемным щитком 8. Рукоятки 3 расположены на общей оси 7. Подвижные контакты 2 имеют дугообразную форму. Внутри дуги установлены пружины 4. Подвижные и неподвижные 9 контакты соединены с выводными клеммами.
Некоторые кнопки, например «Включение ГВ и возврат реле», не имеют фиксированного включенного положения. Такие кнопки под действием дополнительной пружины возвращаются в исходное положение. Кнопочные выключатели ответственных цепей (например, токоприемников, главного выключателя и т. п). имеют съемную блокировочную рукоятку 1 (иногда ее называют ключом). При повороте рукоятки валик 5 с пальцем 6 делает невозможным включение кнопок. Снять блокировочную рукоятку можно только тогда, когда кнопки заперты.
Вывод:
Исследовали выключатель цепей управления его назначение, устройство и принцип действия.
Цель работы:
Исследовать устройство и принцип работы двухпозиционного кулачкового переключателя ПКД-142
Порядок работы:
-
Назначение
-
Устройство
-
Принцип действия
-
Рисунок
-
Вывод
Назначение:
Направление движения электровоза изменяют, меняя направление вращения тяговых двигателей, для чего необходимо изменить направление тока в обмотках главных полюсов двигателей. Для перехода от тягового режима к режиму электрического торможения также необходимо выполнить переключения в цепях тяговых двигателей. И те, и другие переключения производят в обесточенных цепях тяговых двигателей специальными кулачковыми переключателями. Эти двухпозиционные переключатели, предназначенные для выполнения переключений в цепях обмоток двигателей с целью изменения направления движения, называются реверсорами.
Устройство:
















