Раздел 6 (исправлено) (1252990), страница 2
Текст из файла (страница 2)
В паспорте выбранного станка с ЧПУ указываются координаты, которые закреплены за конкретным рабочим органом станка, показаны направления координатных осей, начало отсчета по каждой оси и пределы возможных перемещений. Понятие системы координат станка приведено в разделе 2
Для точного и правильного перемещения рабочих органов станка при отработке УП, на станках с ЧПУ задаются нулевые, исходные и фиксированные точки.
В ГОСТ 20523-80 даны понятия нулевой, исходной и фиксированной точек станка с ЧПУ.
Фиксированная точка станка N – точка, определенная относительно нулевой точки станка и используемая для определения положения рабочего органа станка.
Нулевая точка станка М – точка, принятая за начало системы координат станка.
Исходная точка станка R – точка, определенная относительно нулевой точки станка и используемая для начала работы по УП.
В указанном стандарте приведены также понятия точки начала обработки, нулевой точки детали, исходной точки инструмента.
Точка начала обработки или исходная точка программы Ps – точка, определяющая начало обработки конкретной заготовки.
Нулевая точка детали W – точка детали, относительно которой заданы ее размеры.
Исходная точка инструмента Е – точка, полученная при совмещении точки установки инструмента с фиксированной точкой станка N.
Для указания этих точек в технологической документации, в основном используются следующие обозначения, приведенные в таблице 6.2.
На рис. 6.4 показано расположение нулевых, исходных и фиксированных точек на токарном и фрезерном станке с ЧПУ.
Определение положения нулевой точки детали W дано в разделе 7.1.5, исходной точки инструмента Е и фиксированной точки установки инструмента B в разделе 7.1.3, исходной точки программы PS в разделе 7.1.6.
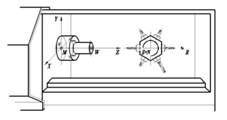
Фиксированные точки станка с ЧПУ (N, F).
Выбираются с учетом конструктивных особенностей отдельных узлов станка и могут быть материально выражены, например, базовым отверстием в центре стола станка. Фиксированные точки позволяют определить предельные перемещения, начальные и текущие положения рабочих органов станка в процессе изготовления детали по управляющей программе в системе координат станка. Для шпиндельных узлов (рис. 6.4а) фиксированной точкой N является точка пересечения торца шпинделя с осью его вращения, для суппорта токарно-револьверного станка - центр поворота резцедержателя в плоскости, параллельной направляющим суппорта и проходящей через ось вращения шпинделя, или точка базирования инструментального блока (державки). Для крестового стола фрезерного станка (рис. 6.4б) фиксированной точкой F является точка пересечения его диагоналей; для поворотного стола - центр поворота зеркала стола.
Нулевая точка станка с ЧПУ (М).
Точка, принятая за начало отсчета системы координат станка, называется нулевой точкой станка или нулем станка М.
Положение точки М на станке задается производителем и для различных станков с ЧПУ, в зависимости от их типов и моделей, может быть разным . Нулевая точка станка может располагаться, например, в фиксированной точке стола фрезерного станка F (см. рис. 6.5а). При таком расположении системы координат станка, перемещения стола по осям X и Y будут иметь как положительные, так и отрицательные значения, что не совсем удобно при программировании. Для того, чтобы отсчет перемещений узлов по осям X и Y всегда был положительным, нуль станка М размещают в одном из углов рабочей зоны станка (см. рис. 6.5б). Рабочая зона для фрезерного станка - -параллелепипед, образованный линиями возможного смещения точки F по осям X и Y, который определяет границы обработки при программировании перемещений.
Для токарных станков с ЧПУ нулевая точка станка М располагается всегда в фиксированной точке N на оси торца шпинделя (см. рис. 6.4а).
Таким образом, если на станке обрабатывать деталь с использованием абсолютного отсчета, то все ее координаты должны быть определены относительно нулевой точки М станка. Движение рабочих органов задаются в УП в этом случае в системе координат станка.
Рабочие органы станка можно переместить в нулевую точку либо соответствующей командой, заданной в УП, либо при нажатии соответствующей кнопки с пульта станка.
Исходная точка станка (R).
Положение исходной точки станка R задается производителем станка с ЧПУ (рис. 6.6). Исходная точка станка R используется для контроля над перемещением исполнительных органов станка при отсчете перемещений в приращениях (в относительной системе координат). Координаты точки R имеют постоянное значение относительно точки М, при этом положение R по каждой оси координат фиксируется датчиками следящих приводов и учитывается УП. Точку R выбирают на станке, исходя из условий минимальных значений вспомогательных ходов, обеспечения удобства и безопасности смены инструмента, а также удобства закрепления заготовки на станке.
Таблица 6.2. Условные обозначения.
а) б)
Рис.6.4. Нулевые, исходные и фиксированные точки: а) на токарном станке с ЧПУ;
б) на фрезерном станке с ЧПУ.
а) б)
Рис.6.5. Позиция нулевой точки «М» на фрезерном станке: а) – начало системы координат расположено в фиксированной точке стола станка F (центре базового отверстия; б) – начало системы координат станка расположено в углу рабочей зоны.
Рис.6.6. Положение исходной точки станка «R » :
а) – на токарном станке; б) – на фрезерном станке.
а)
6.3. Анализ чертежей деталей на технологичность при изготовлении на станках с ЧПУ.
Опыт эксплуатации станков позволяет сформулировать основные требования к конструкции деталей, обеспечивающих высокую технологичность при обработке их на станках с ЧПУ. Эти требования должны быть либо учтены конструкторами на этапе создания чертежа изделий, либо могут быть согласованы при проектировании технологического процесса обработки.
Выполнение требований к повышению технологичности имеют цель:
- сокращение типоразмеров применяемого режущего инструмента (сокращение количества операций);
- применение более производительного (экономически выгодного) инструмента;
- применение стандартного инструмента;
- уменьшение количества переустановок детали и уменьшение количества и стоимости приспособлений;
- повышение точности базирования, понижение степени коробления детали при обработке;
- повышение точности и производительности обработки;
- снижение объема последующей слесарной (станочной) ручной доработки;
- сокращение затрат на расчет и подготовку УП.
Требования к конструкторско-технологической подготовке чертежей изготавливаемых деталей включают:
6.3.1. Требования обеспечения базирования.
При обработке на станках с ЧПУ появляются некоторые дополнительные требования обеспечения базирования детали на столе станка. При обработке детали необходима точная ориентация ее относительно координатных осей станка с ЧПУ и исходной точкой УП. Поэтому при проектировании необходимо обеспечить возможность точного базирования детали на столе станка.
- Наиболее точное базирование достигается при применении двух базовых отверстий (Б.О.), выполненных с заданной точностью по диаметру в параллельно расположенных плоскостях.
- Необходимо стремиться, чтобы Б.О. совмещались с конструктивными отверстиями или проемами облегчения.
- В симметричной детали, подлежащей двухсторонней обработке, хотя бы одно Б.О. должно совмещаться с осью симметрии для обеспечения обработки с двух сторон по одной УП.
- Диаметр Б.О., размещаемых в детали, должен назначаться в соответствии с типовой оснасткой и из конструктивных условий. Диаметр Б.О. должен быть принят в зависимости от габаритов детали и условий сохранения прочности сечения по таблице 6.3.
Таблица 6.3. Размер базовых отверстий в зависимости от габарита детали.
| Наибольший размер детали, мм | Наименьший диаметр БО, мм |
| До 100 | 4 |
| От 100 до 200 | 6 |
| От 200 до 600 | 10 |
| Свыше 600 | 18 |
6.3.2. Требования к унификации радиусов сопряжения элементов деталей.
При проектировании деталей предназначенных для обработки на станке с ЧПУ, необходимо учитывать некоторые требования по унификации радиусов сопряжения элементов детали. Это имеет большое значение для сокращения типоразмеров, применяемого при обработке детали режущего инструмента (рис. 6.7).
- Сопряжение наружных и внутренних поверхностей обрабатываемых контуров (ячеек) деталей в плане следует производить максимально возможным для данного контура радиусом сопряжения в плане R (рис.6.7а). При этом следует учитывать соотношения между радиусом сопряжения R и высотой полки ребра Н, обрабатываемого контура, обеспечивающие необходимую жесткость режущего инструмента и имеющие величины для различных материалов в следующем соотношении:
- для деталей легких сплавов: R ≥ (1/5-1/6) Н;
- для деталей из конструкционной стали: R ≥ 1/3 H;
- для деталей из титановых, жаропрочных и нержавеющих сплавов: R ≥ ½ H (рис.6.7б).
- Радиус сопряжения в плане R следует выбирать по таблице 6.4, которая составляется на основе нормативно-технической документации, устанавливающей параметры концевых фрез.
Таблица 6.4. Радиусы сопряжений в плане Rтип.
| R,мм | 5 | 6 | 8 | 10 | 12 | 15 | 20 | 25 | 30 | 40 |
- Сопряжение наружных и внутренних поверхностей следует задавать с минимальной разнотипностью радиусов в плане R (рис.6.7в).
- Сопряжение стенок (полотна) с полками, ребрами и формирование радиусов подсечек (утолщений по стенкам, ребрам, полотну) производить единым для данного контура радиусом галтели r (рис.6.7г).
- радиус галтели r следует принимать наименьшим из приводимого ниже ряда предпочтительных размеров по таблице 6.5.
Таблица 6.5. Радиусы галтелей r тип.
| r,мм | 0.5 | 1 | 1.5 | 2 | 3 |
Рис.6.7 Требования к унификации радиусов сопряжений элементов деталей.
- При назначении радиуса сопряжения R и радиусы галтели r должно выполняться соотношение между R и r, обеспечивающее наличие на торце инструмента (конца фрезы) максимально возможного активного диаметра Dа = 2(R-r) (рис.6.7д).
В случае соотношения R = r, требуется применение концевых фрез со сферической формой торца, что нежелательно.
6.3.3. Требование к конструкции сопрягаемых элементов детали.
















