основной текст (1235302), страница 6
Текст из файла (страница 6)
При нагреве плазменной струей происходит экзотермическая реакция между частицами алюминия и никеля с образованием износостойкой фазы. Реакция идет с выделением тепла, благодаря чему частицы напыляемого материала попадают на поверхность детали в горячем состоянии и образуют микросварные соединения.
После напыления производят механическую обработку шлифованием карборундовым или алмазным инструментом зернистостью 46-60 при обильном охлаждении. Последней операцией при восстановлении втулок должна быть хонингование тонкими брусками для придания минимальной шероховатости. Для снижения износа поршневых колец целесообразно применять твердую смазку, которая наносится на поверхность втулки.
Преимуществом плазменного восстановления является высокая маслоемкость нанесенного слоя вследствие его пористости, локальности обработки, незначительности температурных деформаций детали и большой производительности.
Проведенные испытания восстановленных втулок показали их высокую износостойкость, позволяющую повысить ресурс до 1 млн км.
Предполагаемые мероприятия для уменьшения количества отказов в работе
Для уменьшения отказов в работе возможны следующие мероприятия:
- не допускать перепробег локомотивов от плановых ТО и ТР в связи с чем не производится своевременное обслуживание. Таким образом, неисправности сопровождаются не своевременным проведением цикловых работ, а именно: протяжка газового стыка, смена резиновых уплотнительных колец;
- контролировать соблюдение технологии ремонта;
- исключить использование несертифицированных резинотехнических изделий;
- осуществлять равномерную затяжку крепления втулки цилиндра к крышке цилиндра;
- не допускать слабой протяжки крепления втулки к крышке, что ведет к перегреву втулки вследствие пробоя выхлопных газов по газовому стыку;
- осуществлять контроль исправности уплотнительного кольца газового стыка, исправности топливной аппаратуры;
- при установке уплотнительных колец не допускать их перекручивания;
- при установке цилиндровых комплектов в блок смазывать маслом или смазкой уплотнительные кольца;
- качественно зачищать место постановки цилиндровых комплектов в блок дизеля;
- производить диагностику степени сжатия после проведения цикловых работ, смены цилиндровых комплектов.
Комплектование, сборка и монтаж цилиндровой втулки
После ремонта втулок и рубашек сборка производится в следующей последовательности:
а) установить на рубашку новые уплотнительные кольца не допуская их скручивания;
б) смазать клеем ГЭН-150 сопрягаемые поверхности рубашки, втулки и уплотнительные кольца;
в) если вынимались втулки, перед постановкой подобрать новые втулки, так, чтобы при установке обеспечить натяг 0,023-0,07мм;
г) если из цилиндровой втулки вывертывались шпильки, перед их постановкой смазать клеем ГЭН – 150 резьбовой конец шпильки и резьбовые отверстия во втулке, после чего ввернуть шпильки во втулку, при этом шпильку с центровочным буртом ввернуть со стороны скоса.
д) запрессовать втулку.
Сборка втулки цилиндра с крышкой
Сборка втулки цилиндра с крышкой производится в следующей последовательности:
а) осмотреть состояние втулки цилиндра, проверить чистоту рабочей поверхности, поверхность газового стыка и мест установки уплотнительных резиновых колец;
б) смазать маслом, применяемом на дизеле, новые прокладки и установить их на втулки перетока охлаждающей жидкости из втулки цилиндра в крышку;
в) осмотреть крышку цилиндра, проверить чистоту внутренних плоскостей и отсутствие забоин на поверхностях уплотнения газового стыка и прилегание к блоку цилиндров;
г) поднять каждую крышку цилиндров. Установить новую прокладку уплотнения газового стыка на бурт крышки цилиндра и установить крышку на втулку цилиндра так, чтобы впускные клапаны располагались со стороны скоса Е на нижнем бурте втулки цилиндра;
д) поставить шайбы на шпильки, смазать маслом, применяемым для дизеля, сферические поверхности шайб и гаек, резьбу гаек и шпилек. Навернуть гайки и затянуть их ключом. На шпильку, стоящую под скосом Е втулки цилиндра, установить новое резиновое уплотнительное кольцо, предварительно смазанное маслом, и колпачковую гайку;
е) затяжку гаек производить равномерно в три приема динамометрическим ключом в следующей последовательности:
1) моментом 150 Н·м ± 20 Н·м (15 кгс·м ± 2 кгс·м) в порядке j-m-k-n-l-o;
моментом 300 Н·м ± 20 Н·м (30 кгс·м ± 2 кгс·м) в порядке o-l-n-k-m-j;
моментом 400 Н·м ± 20 Н·м (40 кгс·м ± 2 кгс·м) в порядке k-n-l-o-j-m;
2) в последовательности j-k-l-m-n-o моментом 400 Н·м ± 20 Н·м (40 кгс·м ± 2 кгс·м) проверьте крепление всех гаек;
3) проверить на герметичность втулки цилиндров в сборе с крышками давлением 1,2 МПа ± 0,05 МПа (12 кгс/см2 ± 0,5 кгс/см2). Течь воды не допускается;
ж) перевернуть крышку вместе с втулкой и произвести обмер рабочей поверхности втулки, допускается овальность согласно нормам. В случае увеличения овальности отсоединить крышку цилиндра, осмотреть состояние поверхности втулки цилиндра, крышки и прокладки. Устранить возможные забоины и вновь собрать;
з) установить крышку вместе с втулкой в блок цилиндров и завернуть гайки шпилек крепления крышки цилиндра к блоку, до «отправкой точки» затяжки. Проверить прилегание крышки к блоку. В месте прохождения шпилек крепления крышки к блоку щуп толщиной 0,03 мм не должен проходить. Допускается на расстоянии 30 мм от продольной и поперечной осей крышки прохождение щупа толщиной до 0,05 мм;
и) открепить и вынуть крышку цилиндра с втулкой из блока и установить их в вертикальное положение вверх втулкой.
2.5 Крышка цилиндра
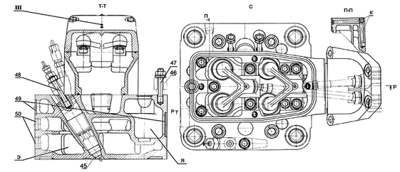
Крышка цилиндра литая из высокопрочного чугуна. В крышке установлены два впускных клапана 2 и два выпускных клапана 6 (посадочные фаски клапанов наплавлены специальным сплавом), направляющие втулки 3 и 7 с уплотнительными кольцами 10 (рисунок 2.6) .
Каждый клапан удерживается в закрытом состоянии двумя пружинами 27 и 28. Пружины опираются на нижнюю тарелку 12 и удерживаются верхней тарелкой 18, в которую установлены два сухаря 17.
Для предохранения верхнего торца клапана от расклепывания установлен колпачок 20.
Для удержания колпачка в верхней тарелке установлено стопорное
кольцо 19. К крышке цилиндра крепится закрытие 14. Между закрытием и лотком установлен патрубок 31. Стык патрубка уплотняется кольцами 30.
В закрытии установлены оси 23 с рычагами 22 привода клапанов. Оси фиксируются втулками 24.
Стыки закрытия 14 с крышкой цилиндра 1, закрытия 14 с крышкой закрытия 16 и патрубка 31 с лотком дополнительно уплотняются герметизирующим составом – «жидкой прокладкой».
Впускные клапаны в закрытом состоянии прилегают посадочными фасками к фаскам днища крышки, выпускные клапаны к фаскам седел 5, которые удерживаются в днище крышки пружинными кольцами 4 из жаростойкой стали.
Каждая пара одноименных клапанов открывается одним рычагом через толкатели.
Гидротолкатель состоит из втулки 33, упора 34, пружин 35, шарика 36, толкателя 37 и колпачка 39. От выпадения толкатель удерживается кольцом 38, а колпачок - шплинтом 40.
Масло в гидротолкатель поступает из масляной системы дизеля через отверстие в штанге, отверстие Д в рычаге и отверстие Ж во втулке в полость Л гидротолкателя, когда клапан закрыт. В момент нажатия гидротолкателя на клапан давление масла в полости Л мгновенно повышается, шарик 36 препятствует выходу масла через отверстие Ж и усилие рычага передается на клапан через масляную подушку.
Рычажно-клапанный механизм смазывается разбрызгиваемым маслом, поступающим из лотка через патрубок 31.
Оси рычагов смазываются маслом, поступающим по отверстиям в рычагах. Из крышки цилиндра по отверстию К и трубе в блоке цилиндров масло стекает в раму дизеля.
В крышке имеется полость для прохода охлаждающей жидкости. Жидкость поступает из втулки цилиндра по отверстиям А и отводится через отверстие Г. Отверстие Б предназначено для контроля плотности уплотнения крышки цилиндров со втулкой.
Разборка
Для разборки необходимо открепить и снять индикаторный кран 46 и форсунку 45, далее открепить и снять: крышки 16, рычаги 22 и закрыть 14 совместно с патрубком 31.
С помощью приспособления 30Д.181.42спч (съемник стопорных колец) снять пружинное кольцо 19, после чего снять колпачки 20.
Установить приспособление Д49.181.15спч (приспособление для разборки клапана) и, сжимая пружины клапанов, вынуть сухари 17. Снять приспособление, тарелки 18, пружины 27 и 28, тарелки 12. Вынуть клапаны из крышки. Вынуть уплотнительные кольца 10 из направляющих втулок 3 и 7. Вынуть гидротолкатели из рычагов. Для разборки гидротолкателя вынуть шплинт 40 и снять колпачок 39. Вынуть стопорное кольцо 38, толкатель 37, пружины 35, упор 34 и шарик 36.
Следует отметить, что при разборке нескольких гидротолкателей, втулки 33 и толкатели 37 невзаимозаменяемые.
1 – крышка цилиндра; 2 – клапан впускной; 3 – втулка направляющая впускного клапана; 4 – кольцо пружинное седла выпускного клапана; 5 – седло выпускного клапана; 6 – клапан выпускной; 7 – втулка направляющая выпускного клапана; 8 – прокладка уплотнения газового стыка; 10 – кольца уплотнительные;
11 – кольцо резиновое между закрытием и крышкой цилиндра; 12 – тарелка пружины нижняя; 13 – шпилька крепления закрытия крышки цилиндра; 14 – закрытие; 15 – кольцо резиновое между закрытием и крышкой закрытия; 16 – крышка закрытия; 17 – сухарь разрезной; 18 – тарелка пружины верхняя; 19 – кольцо пружинное верхних тарелок пружин впускных и выпускных клапанов; 20 – колпачок клапанный; 21 – болт; 22 – рычаг;
23 – ось рычага; 24 – втулка; 25 – шпилька крепления оси выпускного рычага; 26 – сухарь; 27 – пружина внешняя клапанная; 28 - пружина внутренняя клапанная; 29 - шпилька крепления оси впускного рычага;
30 – кольцо резиновое между закрытием и патрубком; 31 – патрубок; 32 – кольцо резиновое между патрубком и лотком; 33 – втулка гидротолкателя; 34 – упор; 35 – пружина гидротолкателя; 36 – шарик; 37 – толкатель; 38 – кольцо пружинное втулок гидротолкателей; 39 – колпачок гидротолкателя; 40 – шплинт; 45 – форсунка; 46 – кран индикаторный; 47 – шпилька крепления индикаторного крана; 48 – шпилька крепления форсунки; 49 – заглушка конструктивной полости; 50 – пробка водяной полости;
А – отверстие для подвода охлаждающей жидкости; Б - отверстие для слива просочившегося масла; В – выпускной канал; Г – отверстие для отвода охлаждающей жидкости; Д - отверстие в рычаге подвода масла к гидротолкателям; Е – впускной канал; Ж – отверстие во втулке гидротолкателя для подвода масла; И – размер проверочный; К – отверстие для слива масла из крышки цилиндра; Л – полость; Ш – отверстия для крепления топливопровода высокого давления; Э – водяная полость; Я – конструктивная полость
Рисунок 2.6 – Крышка цилиндра
Возможные неисправности и их устранение
Клапан дизеля Д-49 может иметь следующие неисправности:
а) потеря герметичности;
б) износ тарелки клапана;
в) износ и задиры стержня;
г) биение фасок;
д) трещины, вмятины и прогары тарелки.
Потеря герметичности
Происходит в результате динамических нагрузок и высоких температур. Выявляется одним из двух методов: в первом случае на рабочую поверхность крышки наносят карандашом 8-10 рисок. Вставляют клапан в гнездо и поворачивают с нажимом на 1/3окружности в одну сторону. Карандашные риски должны быть стерты на ширине 2 мм. Во втором случае клапан вставляют в гнездо крышки и заливают керосин со стороны камеры сгорания на 10 минут. Течь керосина укажет на нарушение герметичности. Герметичность восстанавливается совместной притиркой на стаканах или вручную, применяя пасту ГОИ-36 или корундовый порошок зернистостью 300, размешанный с дизельным маслом. Притирочный поясок на рабочих фасках клапана должен быть непрерывным по окружности шириной не менее 2 мм независимо от того, где он расположен: в верхней, нижней или средней частях притирочных поверхностей.
Износ тарелки клапана
Происходит по тем же причинам, что и потеря герметичности. Выявляется путем измерения толщины тарелки клапана специальным прибором, который позволяет измерить высоту от тыльной части до середины притирочной поверхности пояска. Для выпускного клапана она допускается не менее 2,5 мм, а для впускного - не менее 2,8 мм.
Износ тарелки клапана можно восстанавливать путем нанесения металла наплавкой или напылением. Перед наплавкой на стакане снимается слой металла с тарелки для удаления наклепа и неровностей, после чего в печи подогревают клапан до температуры 300-350 градусов и устанавливают его тарелкой вниз на вращающийся стол. Наплавку ведут в аргоне на установке «Удар-300» током 120-140 А. В качестве присадочного материала используют проволоку из стеллита диаметром 4-5 мм марки ВЭК по АМТУ 291-66. Стеллит содержит (%): кобальта 63; вольфрама 4; хрома 28-32; кремния 2-2,75; углерода 1-1,3; серы не более 0,07; железа не более 2; никеля до 2. В качестве электрода используется вольфрамовый пруток диаметром 4-5 мм с вылетом из мундштука горелки 5-6 мм. После наплавки клапан помещается в муфельную печь или песок, нагретый до температуры 300-350 градусов, где он медленно остывает. Стеллитом наплавляют клапаны, изготовленные из стали 4Х10С2М и 30ХМА. Размеры тарелки доводят до нормы на стакане, используя резцы с пластинками марки Т-15К6.
Восстановление изношенных и упрочнение новых клапанов также может производиться наплавкой посадочного пояска порошком ПГ-12Н-01, состоящим из (%): углерода 0.74; марганца 0.40; кремния 4,6; хрома 12,5; бора 2,9; железа 3,4; никеля 75.46. Данная наплавка увеличивает продолжительность работы клапана до 390-450 тыс. км.















