диплом (1231446), страница 8
Текст из файла (страница 8)
Технические характеристики модификаций системы приведены в таблице 3.1.
Таблица 3.1 - Технические характеристики модификаций системы
| HDC 60/12 (2.509-615.0) | HDC 90/12 (2.509-623.0) | HDC 120/12 (2.509-625.0) | HDC 60/12 Н (2.509-616.0) | HDC 90/12 Н (2.509-624.0) | HDC 120/12 Н(2.509-626.0) | ||
| Данные о производительности | |||||||
| Рабочее давление | МПа (бар) | 6 (60) | 6 (60) | 6 (60) | 6 (60) | 6 (60) | 6 (60) |
| Максимальное рабочее давление (предохранительный клапан) | МПа (бар) | 14 (140) | 14 (140) | 14(140) | 14 (140) | 14 (140) | 14 (140) |
| Производительность | л/ч (л/мин) | 6000 (100) | 9000 (150) | 12000 (200) | 6000 (100) | 9000 (150) | 12000 (200) |
| Подключение водоснабжения | |||||||
| Количество подаваемой воды (минимальное) | л/ч (л/мин) | 6000 (100) | 9000 (150) | 12000 (200) | 6000 (100) | 9000 (150) | 12000 (200) |
| Давление (минимальное) | МПа (бар) | 0,15 (1,5) | 0,15 (1,5) | 0,2 (2,0) | 0,15 (1,5) | 0,15 (1,5) | 0,2 (2,0) |
| Давление (максимальное) | МПа (бар) | 0,6 (6) | 0,6(6) | 0,6 (6) | 0,6 (6) | 0,6 (6) | 0,6 (6) |
| Температура подаваемой воды (макс.) | °С | 60 | 60 | 60 | 85 | 85 | 85 |
| Электрические параметры | |||||||
| Вид тока | - | 3~ | 3~ | 3~ | 3~ | 3~ | 3~ |
| Частота | Гц | 50 | 50 | 50 | 50 | 50 | 50 |
| Напряжение | В | 400 | 400 | 400 | 400 | 400 | 400 |
| Потребляемая мощность | кВт | 22,5 | 33,5 | 44,5 | 24 | 35 | 46 |
| Предохранитель | А | 50 | 80 | 100 | 50 | 80 | 100 |
| Подвод электроэнергии | мм2 | 4х16 | 4х35 | 4х35 | 4х16 | 4х35 | 4х35 |
| Размеры и массы | |||||||
| Длина | мм | 1168 | 1168 | 1168 | 1168 | 1168 | 1168 |
| Ширина | мм | 768/800 | 768/800 | 768/800 | 768/800 | 768/800 | 768/800 |
| высота | мм | 1424 | 1424 | 1881 | 1881 | 1881 | 1881 |
| Вес высоконапорного модуля, включая обшивку и упаковку | кг | 330 | 430 | 530 | 350 | 450 | 550 |
| Вес распределительного шкафа, включая упаковку | кг | 95 | 95 | 95 | 95 | 95 | 95 |
| Уровень шума | |||||||
| Уровень шума (EN 60704-1) | дБ(А) | 74 | 76 | 76 | 74 | 76 | 76 |
| Вибрация прибора | |||||||
| Общее значение колебаний (ISO 5349) | |||||||
| Ручной пистолет- распылитель | м/с2 | 3,63 | 3,63 | 3,63 | 3,63 | 3,63 | 3,63 |
| Струйная трубка | м/с2 | 7,52 | 7,52 | 7,52 | 7,52 | 7,52 | 7,52 |
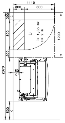
Геометрические размеры блока системы приведены на рисунке 3.5.
INCLUDEPICTURE "D:\\Заочник\\Диплом СИСТЕМА ОХЛАЖДЕНИЯ ТЕПЛОВОЗА ТГ16М 686844\\media\\image11.png" \* MERGEFORMATINET INCLUDEPICTURE "D:\\Заочник\\Диплом СИСТЕМА ОХЛАЖДЕНИЯ ТЕПЛОВОЗА ТГ16М 686844\\media\\image11.png" \* MERGEFORMATINET INCLUDEPICTURE "D:\\Заочник\\Диплом СИСТЕМА ОХЛАЖДЕНИЯ ТЕПЛОВОЗА ТГ16М 686844\\media\\image11.png" \* MERGEFORMATINET INCLUDEPICTURE "D:\\Заочник\\Диплом СИСТЕМА ОХЛАЖДЕНИЯ ТЕПЛОВОЗА ТГ16М 686844\\media\\image11.png" \* MERGEFORMATINET INCLUDEPICTURE "D:\\Заочник\\Диплом СИСТЕМА ОХЛАЖДЕНИЯ ТЕПЛОВОЗА ТГ16М 686844\\media\\image11.png" \* MERGEFORMATINET INCLUDEPICTURE "D:\\Заочник\\Диплом СИСТЕМА ОХЛАЖДЕНИЯ ТЕПЛОВОЗА ТГ16М 686844\\media\\image11.png" \* MERGEFORMATINET INCLUDEPICTURE "D:\\Заочник\\Диплом СИСТЕМА ОХЛАЖДЕНИЯ ТЕПЛОВОЗА ТГ16М 686844\\media\\image11.png" \* MERGEFORMATINET INCLUDEPICTURE "C:\\Documents and Settings\\Admin\\Рабочий стол\\media\\image11.png" \* MERGEFORMATINET INCLUDEPICTURE "C:\\Documents and Settings\\Admin\\Рабочий стол\\media\\image11.png" \* MERGEFORMATINET INCLUDEPICTURE "C:\\Documents and Settings\\Admin\\Рабочий стол\\media\\image11.png" \* MERGEFORMATINET INCLUDEPICTURE "C:\\Users\\1\\media\\image11.png" \* MERGEFORMATINET
INCLUDEPICTURE "D:\\Заочник\\Диплом СИСТЕМА ОХЛАЖДЕНИЯ ТЕПЛОВОЗА ТГ16М 686844\\media\\image9.png" \* MERGEFORMATINET INCLUDEPICTURE "D:\\Заочник\\Диплом СИСТЕМА ОХЛАЖДЕНИЯ ТЕПЛОВОЗА ТГ16М 686844\\media\\image9.png" \* MERGEFORMATINET INCLUDEPICTURE "D:\\Заочник\\Диплом СИСТЕМА ОХЛАЖДЕНИЯ ТЕПЛОВОЗА ТГ16М 686844\\media\\image9.png" \* MERGEFORMATINET INCLUDEPICTURE "D:\\Заочник\\Диплом СИСТЕМА ОХЛАЖДЕНИЯ ТЕПЛОВОЗА ТГ16М 686844\\media\\image9.png" \* MERGEFORMATINET INCLUDEPICTURE "D:\\Заочник\\Диплом СИСТЕМА ОХЛАЖДЕНИЯ ТЕПЛОВОЗА ТГ16М 686844\\media\\image9.png" \* MERGEFORMATINET INCLUDEPICTURE "D:\\Заочник\\Диплом СИСТЕМА ОХЛАЖДЕНИЯ ТЕПЛОВОЗА ТГ16М 686844\\media\\image9.png" \* MERGEFORMATINET INCLUDEPICTURE "D:\\Заочник\\Диплом СИСТЕМА ОХЛАЖДЕНИЯ ТЕПЛОВОЗА ТГ16М 686844\\media\\image9.png" \* MERGEFORMATINET INCLUDEPICTURE "C:\\Documents and Settings\\Admin\\Рабочий стол\\media\\image9.png" \* MERGEFORMATINET INCLUDEPICTURE "C:\\Documents and Settings\\Admin\\Рабочий стол\\media\\image9.png" \* MERGEFORMATINET INCLUDEPICTURE "C:\\Documents and Settings\\Admin\\Рабочий стол\\media\\image9.png" \* MERGEFORMATINET INCLUDEPICTURE "C:\\Users\\1\\media\\image9.png" \* MERGEFORMATINET
INCLUDEPICTURE "D:\\Заочник\\Диплом СИСТЕМА ОХЛАЖДЕНИЯ ТЕПЛОВОЗА ТГ16М 686844\\media\\image8.png" \* MERGEFORMATINET INCLUDEPICTURE "D:\\Заочник\\Диплом СИСТЕМА ОХЛАЖДЕНИЯ ТЕПЛОВОЗА ТГ16М 686844\\media\\image8.png" \* MERGEFORMATINET INCLUDEPICTURE "D:\\Заочник\\Диплом СИСТЕМА ОХЛАЖДЕНИЯ ТЕПЛОВОЗА ТГ16М 686844\\media\\image8.png" \* MERGEFORMATINET INCLUDEPICTURE "D:\\Заочник\\Диплом СИСТЕМА ОХЛАЖДЕНИЯ ТЕПЛОВОЗА ТГ16М 686844\\media\\image8.png" \* MERGEFORMATINET INCLUDEPICTURE "D:\\Заочник\\Диплом СИСТЕМА ОХЛАЖДЕНИЯ ТЕПЛОВОЗА ТГ16М 686844\\media\\image8.png" \* MERGEFORMATINET INCLUDEPICTURE "D:\\Заочник\\Диплом СИСТЕМА ОХЛАЖДЕНИЯ ТЕПЛОВОЗА ТГ16М 686844\\media\\image8.png" \* MERGEFORMATINET INCLUDEPICTURE "D:\\Заочник\\Диплом СИСТЕМА ОХЛАЖДЕНИЯ ТЕПЛОВОЗА ТГ16М 686844\\media\\image8.png" \* MERGEFORMATINET INCLUDEPICTURE "C:\\Documents and Settings\\Admin\\Рабочий стол\\media\\image8.png" \* MERGEFORMATINET INCLUDEPICTURE "C:\\Documents and Settings\\Admin\\Рабочий стол\\media\\image8.png" \* MERGEFORMATINET INCLUDEPICTURE "C:\\Documents and Settings\\Admin\\Рабочий стол\\media\\image8.png" \* MERGEFORMATINET INCLUDEPICTURE "C:\\Users\\1\\media\\image8.png" \* MERGEFORMATINET
Рисунок 3.5 - Геометрические размеры блока системы
Перечень работ по техническому обслуживанию системы приведены в таблице 3.2.
Таблица 3.2 – Перечень работ по техническому обслуживанию
| Время | Действие | Соответствующий узел | Проведение работ | Исполнитель |
| 1 | 2 | 3 | 4 | 5 |
| Ежедневно | Проверить ручной пистолет- распылитель | Ручной пистолет-распылитель | Проверить, плотно ли закрыт ручной пистолет- распылитель. Проверить работу защиты от | Оператор |
Продолжение таблицы 3.2
| 1 | 2 | 3 | 4 | 5 |
| непреднамеренного включения. Неисправные ручные пистолеты-распылители заменить | ||||
| Проверить шланги высокого давления. | Выходные трубопроводы, шланги к рабочему прибору | Проверьте шланги на предмет повреждений. Поврежденные шланги немедленно заменить. Опасность несчастных случаев | Оператор | |
| Раз в неделю или через 40 часов работы | Проверка герметичности установки | Вся установка | Проверить насос, перепускной клапан и систему трубопроводов на герметичность. При утечке масла из насоса более 3 капель в минуту или негерметичности вызвать специалистов из отдела по обслуживания клиентов. Оставить свободным негерметичное отверстие. | Эксплуатационник/ сервисная служба |
| Проверка состояния масла | Указатель уровня масла на насосе | Если масло помутнело, его необходимо заменить. | Оператор | |
| Проверить уровень масла | Указатель уровня масла на насосе | Проверить уровень масла в насосах. При необходимости долить масло (№ для заказа 6.288-016). | Оператор | |
| Проверить насос | Насос высокого давления | Проверить насос на наличие течей. При утечке воды более 3 капель в минуту сообщить в отдел обслуживания клиентов. | Оператор | |
| Проверить систему предохранения от отсутствия воды | Поплавковый выключатель в баке с поплавком | Нажать вниз и удерживать прибл. 5 секунд поплавок системы предохранения от отсутствия воды и следить за индикацией сбоя на панели управления. При необходимости. | Сервисная служба |
Продолжение таблицы 3.2
| 1 | 2 | 3 | 4 | 5 |
| Раз в месяц или через 200 часов работы | удалить отложения. | |||
| Проверить поплавковый клапан | Поплавковая камера | Уровень воды должен быть на 40 мм ниже перепускного отверстия. При закрытом поплавковом клапане вода не переливается. Настройки см. в пособии по обслуживанию. | Сервисная служба | |
| Проверить быстродействие | Управление | Закрыть потребитель (например, ручной пистолет-распылитель). По окончании времени холостого хода необходимо отключить насос. | Оператор | |
| Проверить автоматическое включение | Датчик давления | Насос бездействует из-за отсутствия убывания воды. Открыть ручной пистолет-распылитель. Если давление в сети высокого давления ниже точки переключения, следует запустить насос. | Оператор | |
| Затянуть хомуты для крепления шлангов | Все хомуты для крепления шлангов | Затянуть хомуты для крепления шлангов с помощью динамометрического ключа. Момент затяжки с номинальным диаметром до 28 мм = 2 Нм, от 29 мм = 6 Нм. | Оператор | |
| Раз в полгода или через 1000 часов работы | Смена масла | Насос высокого давления | Слить масло. Влить 1 л нового масла (№ для заказа 6.288-016.0). Проверить уровень на указателе уровня масла. | Оператор |
| Проверить прибор на наличие накипи | Общее состояние водяной системы | Нарушение работы вентилей или насоса может указывать на наличие накипи. Выполнить необходимые работы по удалению накипи. | Оператор, прошедший инструктаж по удалению накипи |
Продолжение таблицы 3.2
| 1 | 2 | 3 | 4 | 5 |
| Затянуть клеммы | Распределительный шкаф | Все клеммы конструктивных элементов электросети затянуты. | Электрик | |
| Раз в год | Проверка безопасности работы | Вся установка | Контроль безопасности работы согласно требованиям директив по работе с жидкостными струйными установками. | Специалист |
| В зависимости от условий окружающей среды | Проверить фильтрующие коврики вентилятора | Распределительный шкаф | Проверить загрязненность фильтрующих ковриков вентилятора и очистить их при необходимости. После проведения 10 очисток заменить фильтрующие коврики на новые. | Сервисная служба |
Моющие средства.















