ПЗ (1222901), страница 8
Текст из файла (страница 8)
, (3.13)
где Lн1 – монтажный ход натяжного устройства, необходимый для стыковки и ремонта ленты, который определяется по формуле
Lн1 = (0,3...1) ∙B (3.14)
Lн1 = 0,6 ∙0,8 = 0,48 м
Lн2 – рабочий ход натяжного устройства, необходимый для компенсации вытяжки ленты и создания первоначального натяжения, который определяется по формуле
Lн2 = 0,01∙L, (3.15)
Lн2 = 0,01∙5 = 0,05 м
Так как Lн < 0,8 м, выбирается винтовое натяжное устройство.
3.11.3 Выбор конструкции параметров натяжного барабана
Диаметр натяжного барабана определяется по формуле 3.12
Выбирается ближайший больший диаметр натяжного барабана из стандартного ряда размеров барабанов, Dн = 400 мм
Рисунок 3.4 – Винтовое натяжное барабан
Параметры и основные размеры винтового натяжного барабана сводятся в таблицу 3.6.
Таблица 3.6 – Параметры и основные размеры винтовых натяжных устройств
| Размеры, мм | Масса вращающихся частей, кг | |||||||||||
| B | D | L | A | Б | Г | М | Е | Н1 | Н2 | И | К | |
| 800 | 400 | 950 | 800 | 1190 | 1315 | 1370 | 1450 | 150 | 315 | 285 | 116 | 120 |
3.12 Выбор поддерживающих устройств конвейера
Для транспортирования насыпных и штучных грузов применяются роликовые опоры, как правило, желобчатой формы сечения. Для поддержания ленты с грузом и исключения провиса необходима установка, как рядовых, так и специальных поддерживающих устройств.
3.12.1 Выбор рядовых роликовых опор
Верхние желобчатые роликовые опоры устанавливаются на рабочей ветви и выбираются исходя из ширины ленты B=800 мм и угла наклона боковых роликов α=20°, c гладкими роликами диаметром 127 мм.
Рисунок 3.5 − Схема верхней рядовой желобчатой роликоопоры
Таблица 3.7 − Основные параметры и размеры верхних рядовых желобчатых роликоопор
| Ширина ленты, мм | Размеры, мм | Угол наклона , град. | Масса вращающихся частей, кг | |||||||||
| D | K | L | A | E | C | M | n | |||||
| 800 | 127 | 240 | 310 | 1100 | 1150 | 905 | 340 | 8 | 20 | 22,0 | ||
Нижние прямые роликовые опоры устанавливаются на холостой ветви и выбираются исходя из ширины ленты B=800 мм, c гладкими роликами 127мм.
Рисунок 3.6 − Схема нижней прямой роликоопоры
Таблица 3.8 − Параметры и размеры нижних прямых роликоопор
| Ширина ленты, мм | Размеры, мм | Масса вращающихся частей, кг | ||||||||||
| D | L1 | L | A | E | Н | h | M | dб | n | |||
| 800 | 127 | 990 | 950 | 1100 | 1150 | 187 | 123 | 120 | 16 | 8 | 18,5 | |
3.12.2 Выбор параметров специальных роликовых опор
Переходные опоры устанавливаются для плавного перехода формы ленты из плоской в желобчатую и наоборот. Переходные роликовые опоры выбираются в зависимости от угла наклона боковых роликов(рядовых), т.к. α=20°, то угол наклона переходных роликоопор α=10°. Основные параметры и размеры аналогичны параметрам верхних рядовых желобчатых роликовых опор.
Рисунок 3.7 − Схема переходных роликовых опор
В зоне загрузки устанавливаются амортизирующие роликовые опоры, для смягчения ударов груза о ленту. Амортизирующие роликовые опоры устанавливаются при перемещении средне и крупнокусковых грузов, либо мелкокусковых с насыпной плотностью груза pп = 2,5 т/м3 и более. Основные параметры и размеры аналогичны параметрам верхних рядовых желобчатых роликовых опор.
Рисунок 3.8 − Схема амортизирующей роликовой опоры
Выбираются очистные роликовые опоры со спиральными роликами для холостой ветви. Основные параметры и размеры очистных роликоопор аналогичны соответствующим параметрам нижних прямых роликоопор.
Рисунок 3.9 − Схема очистной роликовой опоры
3.13 Расположение поддерживающих и направляющих устройств на трассе конвейера
3.13.1 Выбор шага расстановки роликовых опор конвейера
Шаг расстановки рядовых роликовых опор на рабочей ветви выбирается в зависимости от ширины и насыпной плотности, т.к. ширина ленты B=800 мм и насыпная плотность груза pп = 1,8 т/м3, то lp = 1200 мм.
В зоне загрузки пылевидных, порошкообразных, зернистых и мелкокусковых легких грузов под направляющим лотком загрузочного устройства устанавливаются собранные в батарею обычные рядовые роликоопоры с расстоянием, вдвое меньшим lр.
В зоне загрузки средне- и крупнокусковых грузов, а также мелкокусковых с насыпной плотностью не менее 2,5 т/м3 устанавливают амортизирующие роликоопоры на расстоянии друг от друга, на 200 мм превышающем диаметр ролика амортизирующей роликоопоры.
У концевых барабанов в зоне перехода ленты из желобчатого положение в прямое и наоборот устанавливаются одна-две переходные роликоопоры с различным углом наклона боковых роликов с шагом, равным шагу установки рядовых роликоопор груженой ветви ленты lр. При угле наклона боковых роликов рядовых роликоопор 20° угол наклона этих роликов в переходной опоре равен 10–11°.
Первая переходная роликоопора устанавливается на расстоянии не менее 800 мм от оси концевого барабана, но не более lр.
Центрирующие роликоопоры устанавливаются на рабочей ветви через каждые 10 рядовых верхних роликоопор, начиная от приводного барабана.
На холостой ветви центрирующие роликоопоры устанавливаются через каждые 7–10 рядовых нижних роликоопор. На конвейерах длиной менее
15 м центрирующие опоры не устанавливают, а при длине до 30 м включительно устанавливают одну центрирующую роликоопору.
Роликоопоры на рабочей ветви конвейера, работающего в тяжелых и средних условиях, устанавливаются так, чтобы образующие обечаек концевых барабанов находились выше образующей среднего ролика рядовой желобчатой роликоопоры на величину 25 мм при ширине ленты от 400 до 650 мм, и на величину 45 мм при ширине ленты 800 и 1000 мм. На конвейерах, работающих в легких условиях, образующие обечаек барабанов находятся на одном уровне с образующими средних роликов рядовых желобчатых роликоопор.
Рядовые роликоопоры на холостой ветви устанавливаются на расстоянии l′р, вдвое большем lр.
3.13.2 Выбор параметров загрузочного устройства
Выбирается загрузочное устройство с самотечным движением груза. В загрузочном устройстве груз перемещается только под действием сил тяжести. К ним относятся устройства с самотечным движением груза, состоящие из загрузочной воронки и направляющего лотка. Загрузка происходит у натяжного барабана.
Параметры направляющего лотка загрузочного устройства выбираются в зависимости от ширины ленты B = 800 мм и скорости ленты 0,5 м/с приведенные в таблице 3.9.
Рисунок 3.10 − Загрузочное устройство
Таблица 3.9 − Размеры загрузочного устройства
| Ширина ленты, мм | Высота лотка, м, не менее | Длина лотка, м, при скорости ленты, м/с |
| до 1,6 | ||
| 800 | 0,3 | 1,6 |
|
| ||
B1 = 0,5 ∙ 800 = 400 мм;
B2 = 0,7 ∙ 800 = 560 мм.
3.13.3 Схема расстановки устройств по трассе
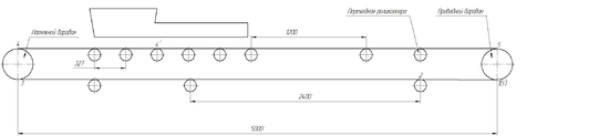
Вычерчивается 2 барабана – приводной и натяжной на расстоянии длины трассы – 5 м (рисунок 3.11).
На рабочей ветви устанавливаются переходные роликоопоры на расстоянии 800 мм от осей концевых барабанов. Так как угол наклона роликов основных опор α = 20о, то устанавливается по 1 переходной опоре с α = 10о .
Выбирается расстояние между роликоопорами рабочей ветви lр =1200 мм.
Начиная от последней переходной опоры, показывается положение лотка, высота лотка 0,3 м, длина лотка 1,6 м.
Под лотками устанавливаются сближенные гладкие роликоопоры, собранные в батарею, расстояние между ними 327мм.
Все оставшееся пространство на рабочей ветви заполняется обычными рядовыми роликами с шагом lр = 1200 мм.
На холостой ветви сначала устанавливается первая от натяжного барабана роликоопора на расстоянии 1 м, все оставшееся пространство заполняется роликоопорами с шагом lр’ =2400.
2 очистные опоры устанавливаются на холостой ветви конвейера после приводного барабана.
Рисунок 3.11 − Схема синтеза трассы конвейера для тягового расчета
На рабочей ветви 8 роликоопор; на холостой ветви 3 роликоопоры.
Угол обхвата приводного барабана 180°.
3.14 Тяговый расчет конвейера
3.14.1 Синтез трассы конвейера
Для определения расстояния между рабочей и холостой ветвями ленты, вычерчивается в масштабе на миллиметровой бумаге поперечное сечение конвейера.
















