Диплом исправленный (1222151)
Текст из файла
Введение
К величайшему сожалению, в последние годы наблюдается тенденция к увеличению количества аварий, стихийных бедствий, и других чрезвычайных ситуаций. Этому способствует хаотическая интенсификация производственно-коммерческой деятельности, неудовлетворительное состояние объектов строительства, несоблюдения норм эксплуатации специального и взрывоопасного оборудования и тому подобное. С учетом состояния зданий, которые нуждаются в немедленном капитальном ремонте, чрезвычайно опасной является потенциальная угроза землетрясений, наводнений и других стихийных бедствий.
В последние годы число крупных техногенных катастроф и опасных природных явлений неуклонно растет. Риски ЧС, возникающие в процессе хозяйственной деятельности и глобального изменения климата, несут значительную угрозу для населения и объектов экономики страны.
В зонах возможного воздействия поражающих факторов при авариях на критически важных и потенциально опасных объектах проживают свыше 90 миллионов россиян, или 60% населения страны. Годовой экономический ущерб (прямой и косвенный) от ЧС различного характера может достигать 1,5-2% валового внутреннего продукта — от 675 до 900 миллиардов рублей
С учетом вышесказанного существует неотложная необходимость создания специальной многофункциональной техники большой производительности для эффективной ликвидации завалов и спасения потерпевших людей.
Задание данного дипломного проекта заключается в проектировании машины для аварийно-спасательных работ на базе серийного экскаватора на гусеничном ходу, которое включает сменные модули для выполнения специфических операций на аварийных объектах и отмечается маневренностью и возможностью быстрого переоборудования.
1. Обоснование технической целесообразности предлагаемых проектных решений
1.1. Состояние вопроса и задачи проектирования
1.1.1. Классификация завалов в населенных пунктах
Анализ последствий аварий позволяет классифицировать завалы в населенных пунктах на две группы и три типа завалов по многим показателям, такими как: крупность отдельных элементов, их масса, объемом завала и так далее /1/. Наиболее существенными при этом есть наличие в зоне завалов потерпевших или их отсутствие(основывается разделение на две группы). Средние значения этих показателей приведены в таблице 1.1.
Таблица 1.1 Типы завалов
| Показатель завала | Единицы измерения | Тип завала | ||
| простой | средний | сложный | ||
| Крупность отдельных элементов | м3 | 1 | 1..3 | 3 |
| Масса элементов | т | 3 | 3..10 | 10 |
| Наличие связей(арматуры) | нет | є | є | |
| Мера пустотности | % | 50 | 40..50 | 40 |
| Средняя длина ячеек завалов | м | 20 | 20..30 | 30 |
| Средняя высота ячеек завалов | м | 1 | 1..1,5 | 1,5 |
| Объем завала на ширину необходимого транспортн. прохода(в среднем 4.5 м) | м3 | 100 | 100..250 | 250 |
| Уровень завалов проезжей части путей и улиц | % | 0 | 50 | 100 |
| Мера неустойчивости остаточных зданий и сооружений | % | 0 | 5..10 | 10 |
| продолжение таблицы 1.1 | ||||
| Нахождение потерпевших в наземной(Н) или подземной(П) частях завала | нет | Н, П | Н, П | |
| Уровень сложности освобождения потерпевших : разборка конструкций(РК), разборка и резание(РРК), прокладка спец проходов(ПП) | нет | РК, РРК | РК, РРК, ПП | |
1.1.2. Ориентировочный перечень и последовательность выполнения аварийно-спасательных работ
Требования к технике базируются на ее соответствии разным видам работ, которые выполняют для ликвидации последствий аварий.
К первоочередным работам принадлежат:
Расчищение площадей от обломков и нагромождений конструкций для подхода к местам возможного нахождения людей;
Освобождение потерпевших из-под завалов, осыпей, защемлений(при невозможности быстрого выполнения указанных работ нужно обеспечить подведение воздуха и снабжение едой);
К дальнейшим работам относятся:
Расчищение площадей от обломков и нагромождений конструкций по всей аварийной зоне и создания транспортных путей;
Разрушение неустойчивых конструкций;
Очистка территории от разнообразных загрязнений и складирования отходов.
Ликвидация завала может выполняться по двум основным технологическим вариантам /1/:
-
способом частичной или полной разборки завала сверху или в направлении выявления пострадавших;
-
способом отрыва приямка из внешней стены здания и следующим пробитием лаза;
Общей особенностью обоих вариантов является необходимость предупреждения смещения элементов завала и сохранения их положения устойчивого равновесия.
При выполнении работ первым описанным вариантом, выполняется вытягивание и перемещение автокраном за периметр завала обломков строительных конструкций, которые препятствуют проникновению к пострадавшим, при этом, элементы завала захватывают крюками за металлические петли, арматуру, а при их отсутствии - с помощью строп(что значительно увеличивает время разбора завала и многочисленность задействованных спасателей). Одновременно выполняется перекусывание арматурных связей. При отсутствии фронта работ, за периметр завала выносят обломки малой фракции.
1.2. Анализ существующих машин для разборки завалов
По классу аварийно-спасательной техники были выявлены две универсальных аварийно-спасательных машины: ИМР 2М (Рисунок 1.1) и УМРЗ- 1(Рисунок 1.2).
Рисунок 1.1 Машина ИМР 2М
Машина ИМР 2М принадлежит МЧС Российской федерации. ИМР 2М это устарелая инженерная машина для разборки завалов на базе танка Т72. Машина оборудована отвалом, которой может работать как грейдерный и стрелой с 8 метровым вылетом, на которой установлен рабочий орган грейферного типа. Такие машины активно использовались при ликвидации аварии на Чернобыльской АЭС.
УМРЗ- 1 является многоцелевым подвижным средством на колесной базе УРАЛ- 4320, который предназначен в комплексе за набором разнообразных видов сменного рабочего оборудования для выполнения технологических
операций при разработке завала в процессе проведения аварийно-спасательных и восстановительных работ. Существует две модификации этой машины, УРМЗ- 1 и УМРЗ- 2, которые отличаются массой (17 и 21 тонн соответственно) и радиусом действия рабочего органа (7,2 и 16 метров) В таблице 1.2 представлен состав рабочего оборудования обеих модификаций.
Таблица 1.2 Рабочее оборудование УМРЗ
| Состав рабочего оборудования | УМРЗ- 1 | УМРЗ- 2 |
| Гидравлический молот МГ- 120 | + | + |
| Гидравлические ножницы НГ- 213 | + | - |
| Гидравлические ножницы НГ- 413 | + | + |
| Гидравлические ножницы НГ- 713 | + | + |
| Гидравлические ножницы НГ- 811 | + | + |
Одним из недостатков машины является ее недостаточная производительность (экономическая характеристика и техническая производительность представлены в разделе 6). Обычно УМРЗ используют в комплексе с автокранами или манипуляторами, а это значительно снижает эффективность поисково-спасательных и аварийно-спасательных работ.
По классу одноковшовых экскаваторов на гусеничном ходу, в результате которого, была выявленна модель японской фирмы Hitachi(Хитачи), а именно «двурукий» экскаватор ASTACO(Астако) (Рисунок 1.3).
Рисунок 1.3 Машина фирмы «Хитачи» - «двурукий» экскаватор
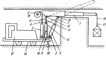
Известен трубоукладчик (см. авторское свидетельство SU N 1039860, B 66 C 23/36, опубликованное в Бюллетене изобретений N 33 от 07.09.1983 г.), который может быть использован в качестве аварийно-спасательной машины для разборки завалов и перемещения обломков разрушенных сооружений и конструкций при спасении людей. Он содержит шасси с рамой, крановую стрелу, шарнирно соединенную с ней поддерживающую опору регулируемой длины со штангой ее фиксации, причем поддерживающая опора шарнирно соединена с рамой посредством упомянутой штанги с образованием вместе со штангой, стрелой и рамой параллелограммного механизма, при этом штанга выполнена регулируемой длины.
Рисунок 1.4 Общий вид установки авторское свидетельство SU N 1039860
Однако, использование такого известного устройства в чрезвычайных ситуациях ограничено из-за малых размеров его рабочей зоны, которая определяется размерами крановой стрелы, способной совершать только качательные движения в вертикальной плоскости. Кроме того, способность трубоукладчика перемещать обломки разрушенных сооружений и конструкций зависит от возможностей его шасси передвигаться по местности, что в большинстве аварийных ситуаций бывает невозможно осуществить.
Известны грузоподъемные краны, в том числе на самоходном шасси, которые могут быть использованы в качестве аварийно- спасательной машины. Они содержат стрелу, способную совершать качательные движения в вертикальной плоскости и поворачиваться в горизонтальной плоскости вместе с поворотной платформой. Кроме того возможно использование поддерживающей опоры /3/.
Однако, такие известные машины трудно и опасно использовать для разборки завалов в районах аварий, т.к. строповка обломков-грузов неправильной формы чрезвычайно затруднена и сопряжена с пребыванием рабочего-строполя в непосредственной близость к разрушенному объекту.
Известен экскаватор, изготавливаемый АО "Тверской экскаваторный завод", АО "Компания Промтехника", который может быть использован как аварийно-спасательная машина для разборки завалов в районах аварий со сложным рельефом местности. Он содержит шасси с поворотной платформой, на которой установлена качающаяся стрела с приводным гидроцилиндром, и рабочий орган в виде ковша, шарнирно соединенный с концом рукояти /4/.
Эта машина имеет увеличенную рабочую зону, в частности за счет возможности опускания ковша на глубину 4 м на расстоянии до 15 м, что отсутствовало в предыдущих известных машинах.
Однако и такая машина не может быть использована с большой эффективностью для разборки завалов, так как в ее наборе сменных рабочих органов отсутствует универсальный захват с несколькими степенями
подвижности, что характерно для манипуляционного оборудования, наилучшим образом соответствующего назначению аварийно- спасательной машины, а также из-за ограниченной плоскостью качания стрелы рабочей зоны.
Известен лесопогрузчик фирмы "ВАЛМЕТ", который может быть использован в качестве аварийно-спасательной машины для разборки завалов в районах аварий и имеет наибольшее число общих признаков с заявляемым изобретением.
Он содержит шасси со стрелой, которая шарнирно соединена с поворотной стойкой, приводные гидроцилиндры, из которых одни взаимодействуют со стрелой, а другие - с поворотной стойкой и установлены на шасси, а также захват с основанием в виде поворотной плиты, которая шарнирно соединена с концом стрелы, причем при транспортном положении стрелы упомянутые гидроцилиндры имеют минимальную свою длину, при этом приводной гидроцилиндр стрелы, стрела, поворотная стойка и шасси соединены шарнирно, образуя четырехзвенный механизм /5/.
Этот известный лесопогрузчик способен опускать захват ниже уровня стоянки шасси за счет разворота основания захвата.
Однако он не может быть эффективно использован для разборки завалов в районах аварий, имеющих сложный рельеф местности, поскольку для захвата объекта манипулирования лесопогрузчик "ВАЛМЕТ", как любой фронтальный погрузчик, должен подъехать вплотную к объекту, причем захват объекта возможен только в плоскости качания стрелы.
Задачей изобретения РФ 2137701 В66С23/36 является создание новой аварийно-спасательной машины, обладающей большой рабочей зоной и высокой грузоподъемностью на максимальном вылете стрелы при одновременной маневренности и способности работать в районах аварий со сложным рельефом местности, имеющей возвышенности, впадины, узкие проходы, а также с сохранением компактности в транспортном положении.
Поставленная задача решена тем, что в известной аварийно-спасательной машине, содержащей шасси, поворотную стойку, на которой шарнирно закреплена стрела, приводные гидроцилиндры, из которых одни взаимодействуют со стрелой, а другие - с поворотной стойкой, согласно настоящему изобретению, введены поворотная платформа, которая установлена на шасси, складывающаяся поддерживающая опора с ходовым устройством и манипулятор с основанием, которое установлено на этой опоре и соединено с концом стрелы посредством стабилизатора, обеспечивающего плоскопараллельное перемещение манипулятора в рабочей зоне, а поворотная стойка и приводные гидроцилиндры шарнирно соединены с поворотной платформой, причем, основание манипулятора соединено шарнирно со стабилизатором с возможностью поворота в плоскости, перпендикулярной плоскости качания стрелы.
Такое техническое решение имеет большую рабочую зону, развивает максимальную грузоподъемность во всей рабочей зоне и может выполнять спасательные работы на местности со сложным рельефом в условиях нагромождения обломков разрушенных сооружений.
Характеристики
Тип файла документ
Документы такого типа открываются такими программами, как Microsoft Office Word на компьютерах Windows, Apple Pages на компьютерах Mac, Open Office - бесплатная альтернатива на различных платформах, в том числе Linux. Наиболее простым и современным решением будут Google документы, так как открываются онлайн без скачивания прямо в браузере на любой платформе. Существуют российские качественные аналоги, например от Яндекса.
Будьте внимательны на мобильных устройствах, так как там используются упрощённый функционал даже в официальном приложении от Microsoft, поэтому для просмотра скачивайте PDF-версию. А если нужно редактировать файл, то используйте оригинальный файл.
Файлы такого типа обычно разбиты на страницы, а текст может быть форматированным (жирный, курсив, выбор шрифта, таблицы и т.п.), а также в него можно добавлять изображения. Формат идеально подходит для рефератов, докладов и РПЗ курсовых проектов, которые необходимо распечатать. Кстати перед печатью также сохраняйте файл в PDF, так как принтер может начудить со шрифтами.















