Диплом исправленный (1222151), страница 2
Текст из файла (страница 2)
Это достигается за счет того, что манипулятор с опорой смонтирован на конце стрелы и благодаря наличию поддерживающей опоры с ходовым устройством может занять устойчивое положение и перемещаться по местности одновременно с поворотом стрелы и поворотной платформы, перемещая оперативно захваченный обломок сооружения или конструкции в стороны от завала, освобождая доступ к пострадавшим от аварии.
Кроме того, наличие стрелы, выполненной телескопической, и ее приводного гидроцилиндра, который имеет длину больше минимальной своей длины, но меньше максимальной при транспортном положении стрелы, позволяет наклонять стрелу глубоко вниз, опуская манипулятор с поддерживающей опорой и ходовым устройством на дно котлована, трещины, оврага и располагая его там в устойчивом положении.
Известен ряд инженерных машин (экскаваторов), оборудованных устройствами для экскавации и перемещения грунтов /6/. Для повышения подвижности на слабонесущих грунтах или грузоподъемности экскаваторы устанавливаются на гусеничное шасси, а для повышения мобильности, в особенности в целях применения в строительстве, экскаваторы устанавливаются на колесное шасси. При этом оба вида экскаваторов могут работать с оборудованием, предназначенным для экскавации прямой или обратной лопатой. Для экскаваторов разработано универсальное оборудование, элементы которого, в зависимости от монтажа, могут преобразовываться с образованием как прямой, так и обратной лопаты, а также могут оборудоваться иными строительным или специальным рабочими инструментами.
Ковши (или другие рабочие инструменты) таких экскаваторов крепятся на стреле, выполняемой в виде манипулятора, состоящего из одной-двух секций и рукояти, на которой, непосредственно, устанавливается ковш или другой рабочий инструмент.
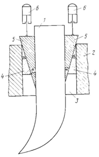
Для расширения возможностей экскаваторов при работе на тяжелых грунтах экскаватор может оборудоваться зубом-рыхлителем, см. например российский патент 2059764, кл. Е 02 F 5/32, который может быть использован как отдельный рабочий инструмент для предварительного разрушения перемещаемого грунта, например смерзшегося, так и совместно с экскавационным ковшом, образуя захватно-клещевой орган для захвата и перемещения грузов, размеры которых не позволяют размещаться в экскавационном ковше (Рисунок1.5). При этом захватно-клещевой орган имеет возможность захватывать, например, балки, шпалы и т.п. предметы, расположенные горизонтально относительно поверхности земли или с небольшим наклоном относительно ее. В экскаваторе экскавационный ковш и зуб-рыхлитель снабжены каждый индивидуальным приводом с исполнительным гидроцилиндром, обеспечивая подвижность того и другого рабочего инструмента относительно друг друга.
Рисунок 1.5 Захватно-клещевой орган
Для использования в условиях чрезвычайных ситуаций, связанных, например с радиационным загрязнением, такие машины непригодны по причине отсутствия защиты от средств поражения и узкой специализации по применению, например отсутствии возможности использования при подъеме и перемещении грузов пригодных к строповке.
Следует отметить, что имеются бронированные узкоспециализированные машины, например "Аварийно спасательная машина" по российскому патенту №2137701, кл.6 В 66 С 23/36, или "Инженерная машина разграждения" по российскому патенту №2072088, кл. 6F41Н 13/00, способные захватывать длинномерные предметы. Однако именно узкая специализация таких машин и отсутствие возможности работы по перемещению грунта являются факторами, сдерживающими их использование.
Известна также германская инженерная, бронированная машина, "Pionierpanzer 3", выполненная на шасси танка "Леопард-2", /7/ пригодная к применению в боевых условиях или условиях чрезвычайных ситуаций, в связи с наличием бронированного, защищающего экипаж от средств поражения, корпуса.
Применение на данной машине рабочего органа в виде стрелы-манипулятора, состоящей из двух секций и рукояти, на которой устанавливается в качестве рабочего инструмента экскавационный ковш, не позволяет применять такую машину в стесненных условиях, поскольку для работы стрелы - манипулятора требуется расширенная в вертикальной плоскости свободная зона перед корпусом.
Последний недостаток отсутствует у принятой за прототип по большинству существенных признаков американской самоходной установки (военной гусеничной инженерной машины) для проделывания проходов в противотанковых заграждениях - "Гризли"[8]. В качестве шасси данной машины использовано бронированное шасси танка "Абрамс". Вместо башни на шасси танка смонтирована бронированная надстройка, в которой располагается экипаж. В числе инженерного оборудования данной машины установлена стрела телескопического типа с коробчатым поперечным сечением по форме равнобедренного треугольника, на конце которой в качестве рабочего инструмента шарнирно установлен экскавационный ковш с приводом от гидроцилиндра, обеспечивающего возможность выполнения землеройных работ прямой и обратной лопатой. Стрела выполнена двухсекционной с неподвижной и выдвижной секцией и установлена вдоль борта на опорно-поворотном устройстве, установленном в цилиндрической надстройке, вынесенной в носовую часть корпуса и размещенной перед рубкой экипажа. Следует отметить, что треугольное коробчатое сечение телескопической стрелы с верхним расположением угла является весьма рациональным для восприятия вертикальных нагрузок, характерных при работе экскавационным ковшом, обеспечивая минимальный вес стрелы. Телескопическое выполнение стрелы позволяет вести землеройные работы, используя, с одной стороны, практически полную пространственную зону перед корпусом машины, с другой стороны, обеспечивая возможность работы в ограниченном для манипуляций телесном угле пространства перед корпусом шасси.
Однако на инженерной ВГМ "Гризли" не в полной мере используются возможности телескопической стрелы с экскавационным ковшом.
Так, более полно такие возможности используются в экскаваторе-планировщике, выпускаемом ОАО "Мотовилихинские заводы"/9/, извлечения из которой также прилагаются. Экскаватор-планировщик содержит телескопическую стрелу с основным рабочим органом - экскавационным ковшом (вместо которого могут использоваться сменные, рабочие органы, например планировочный ковш или отвал), обеспечивая не менее четырех рабочих движений оборудования: наклон стрелы в вертикальной плоскости, поворот стрелы с ковшом относительно продольной оси, поворот ковша в вертикальной плоскости относительно стрелы и выдвижение стрелы. Конструктивно возможность выполнения упомянутых движений обеспечивается следующим. Наклон стрелы обеспечивается за счет гидроцилиндров, поворачивающих портал стрелы в шарнирах, закрепленных на опорно-поворотной платформе. Выдвижение стрелы производится перемещением выдвижной секции стрелы экскаватора относительно невыдвижной секции, которая далее по тексту будет именоваться опорной секцией. Корпуса обеих секций стрелы имеют коробчатое сечение
Перемещается выдвижная секция по вращающимся роликам, закрепленным на корпусе опорной секции через подшипники качения. Для перемещения используется механизм выдвижения (телескопирования), расположенный внутри выдвижной секции стрелы и выполненный в виде длинноходового гидроцилиндра, связанного одной стороной с опорной секцией, другой стороной с проушинами выдвижной секции. Опорная секция установлена неподвижно в осевом направлении в верхней цилиндрической части портала (цилиндре портала) стрелы, и обеспечена возможностью вращения механизмом ротации на подшипниках скольжения относительно центральной оси цилиндра портала. При этом от выпадения из цилиндра портала опорная секция удерживается взаимодействием торцевых поверхностей портала и
опорной секции, образующих подпятник скольжения. Механизм ротации позволяет обеспечить поворот стрелы и связанного с ней экскавационного ковша (или иного землеройного оборудования) в любое положение относительно горизонта, необходимое для работы, что позволяет производить планировочные работы, обеспечивая заданные углы отвалов и откосов, например, в дорожном строительстве. Такой перевод экскавационного ковша из одного рабочего положения в другое всегда производится в нерабочем положении экскавационного ковша, при отсутствии осевой нагрузки на подпятники портала стрелы, поскольку в рабочем положении имеет место высокий уровень трения в подпятнике скольжения из-за действия направленной вдоль стрелы составляющей от рабочей нагрузки. Для преодоления трения скольжения при наличии осевой нагрузки в рассматриваемом устройстве потребовался бы, во-первых, значительно более мощный привод для осуществления поворота а, во-вторых, потребовалось бы увеличение габаритов (и массы) конструкции во исключение поломок экскавационного оборудования, включая механизм ротации.
Экскавационный ковш, применяемый в качестве рабочего инструмента экскаватора планировщика ЭО 43212 установлен на выдвижной секции стрелы шарнирно и снабжен приводом от короткоходового гидроцилиндра, обеспечивающего поворот ковша к стреле или его отворот от стрелы.
Следует отметить развитость проекции цилиндрической надстройки и опорно-поворотного устройства в целом, что отрицательно сказывается на его защищенности от кинетических средств поражения, отсутствие в стреловом оборудовании механизма ротации, обеспечивающего поворот ковша или всей телескопической стрелы относительно продольной оси как без нагрузки, так и под нагрузкой, что ограничивает возможности использования экскавационного оборудования и является недостатком прототипа. Кроме того, возможности такой инженерной машины ограничены по применению для разборки завалов и заграждений в сравнении с экскаватором, оборудование которого содержит
дополнительный инструмент, например, зуб рыхлитель, установленный с возможностью образования захватно-клещевого рабочего органа. В то же время прямое перенесение известного технического решения по установке зуба-рыхлителя из стрелы манипулятора в телескопическую стрелу не представляется возможным из-за существенно меньших поперечных габаритов выдвижной секции в сравнении с рукоятью стрелы манипулятора, ограничивающих возможности размещения на выдвижной секции как исполнительных органов, так и приводов к ним.
Таким образом, недостатки военной гусеничной инженерной машины заключаются в ограниченных функциональных возможностях стрелового оборудования и недостаточно высокой защищенности узлов опорно-поворотного устройства от средств поражения.
Задачей изобретения РФ 2283467, F41H7/00 (Рисунок 1.6) является разработка военной гусеничной инженерной машины с расширенными функциональными возможностями работы стрелового оборудования и повышенной защищенностью опорно-поворотного устройства от средств поражения.
Рисунок 1.6 Изобретение РФ 2283467, F41H7/00
Технический результат, достигаемый изобретением, заключается:
- в повышении отражающей способности бронированного корпуса к средствам поражения за счет предложенного выполнения формообразующей поверхности корпуса опорно-поворотного устройства;
- в понижении потребной мощности в механизме ротации на вращение стрелы в условиях рабочих нагрузок, действующих вдоль стрелы, за счет уменьшения трения в подпятнике портала;
- в обеспечении возможности образования на телескопической стреле захватно-клещевого рабочего органа за счет установки зуба-рыхлителя на выдвижной секции с рычажным механизмом в его приводе, размещенном в габаритах указанной секции;
- в обеспечении возможности использования экскаваторной стрелы в качестве грузоподъемного крана.
Поставленная задача решается тем, что в инженерной гусеничной машине на шасси базового танка, содержащей корпус, установленную над корпусом бронированную рубку для размещения экипажа и механизмов машинного отделения, опорно-поворотное устройство с несущей платформой и гидравлическим приводом ее поворота, установленный на платформе портал, телескопическую двухсекционную стрелу коробчатой формы, включающую опорную секцию и выдвижную секцию, снабженную гидроцилиндром телескопирования и экскавационным ковшом с гидроцилиндром привода, согласно изобретению опорно-поворотное устройство установлено в носовой части шасси сбоку рубки и размещено в бронированном корпусе, консольно закрепленном на рубке и выполненном в виде низкопрофильного прямого цилиндра с днищем по форме шарового сегмента, снабженного со стороны рубки проемом для размещения привода поворота несущей платформы, а верхняя часть опоры портала выполнена цилиндрической формы и снабжена механизмом ротации стрелы, при этом на выдвижной секции стрелы выполнен гусек, на конце выступающей части которого размещены проушины с осью, на
которой установлен экскавационный ковш и зуб-рыхлитель, размещенный под экскавационным ковшом с возможностью обеспечения раздельной или совместной работы путем образования захватно-клещевого рабочего органа для использования, например, при разборе завалов и заграждений, притом стенка выдвижной секции, расположенная с противоположной стороны от гуська, дополнительно оснащена грузозахватной крюковой подвеской для строповки грузов, а на боковых стенках выполнены кронштейны, в проушинах которых закреплены два короткоходных гидроцилиндра, связанных с зубом-рыхлителем через рычажный механизм с образованием привода для разворота и фиксации зуба-рыхлителя в заданном диапазоне углов, а в боковых стенках неподвижной секции стрелы со стороны выдвижной секции выполнены фигурные вырезы для размещения гидроцилиндров привода поворота зуба-рыхлителя при переводе стрелы из рабочего в транспортное положение.
1.3. Анализ существующего рабочего оборудования для аварийно-спасательных работ
1.3.1. Гидроскалыватели- ножницы
Гидроскалыватели- ножницы (или крашеры, или мультипроцессоры) разработаны для первичного взлома зданий и первичной обработки (обычно измельчение) строительных отходов(Рисунок 1.7).















