Диплом исправленный (1222151), страница 5
Текст из файла (страница 5)
В дальнейшем, конструктивные размеры челюстей гидроскалывателя будут изменении на более эффективные для разборки завалов среднего типа.
2.2.4. Степень свободы рабочего органа вспомогательной стрелы
При разборке завалов гидроскалывателем Delta C - 500, в результате неравномерного размещения элементов завала, и при заданной степени свободы рабочего органа, выполнение работ не будет эффективным по нескольким причинам. Во-первых, при условиях ограниченности во времени, необходимая скорость разрушения остаточных конструкций должна быть максимально возможной. Это обеспечивается ориентацией рабочего органа с точки зрения энергозатрат наивыгоднейшее положение. Для обеспечения такого положения степень подвижности гидроманипулятора не является достаточной. Во-вторых, мультипроцессор Delta C - 500 не оборудован механизмом поворота относительно своей оси, потому существует необходимость в создании переходного модуля, который обеспечит необходимую степень свободы рабочего органа для более эффективного использования гидроскалывателя.
В результате патентного поиска, не было найдено дополнительного механизма увеличения степени подвижности выбранного гидроманипулятора ОМТЛ-120-01. Поэтому было принято решение в проектировании необходимого универсального переходного механизма.
В результате поиска прототипов, был найден механизм похожего приложения (рисунок 2.9), который был избран за базовый, для механизма изменения угла наклона рабочего органа относительно оси телескопической стрелы гидроманипулятора. Техническая характеристика кронштейна приведена в таблице 2.10.
Рисунок 2.9 Быстросъемный кронштейн экскаваторного ковша гидроманипулятора ИФ- 300
Таблица 2.10 Техническая характеристика быстросъемного кронштейна экскаваторного ковша
| Критерий | Количественное значение | |
| Объем ковша, м3 | 0,25 | |
| Масса ковша(без грунта), кг | 300 | |
| Гидроцилиндр | 90x60x400 | |
| Диаметр штоковой полости, мм | 90 | |
| Диаметр штока, мм | 60 | |
| Ход поршня, м | 400±5 | |
Для обеспечения поворота гидроскалывателя относительно собственной оси вращения, был спроектирован поворотный механизм (приведен ниже).
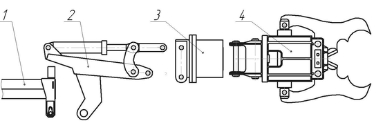
Схема компоновки вспомогательной стрелы и рабочего оборудования показана на рисунке 2.11.
1 – Телескопическая стрела гидроманипулятора; 2 - универсальный переходной механизм; 3 - поворотный механизм; 4 – гидроскалыватель.
Рисунок 2.11 Схема компоновки вспомогательной стрелы
2.3. Проектирование переходного модуля
Проектирование переходного модуля целесообразно выполнять по методам подобия и моделирования новых конструкций машин /10/. Согласно п. 2.2.4 за базовый механизм был выбран быстросемный кронштейн экскаваторного ковша гидроманипулятора ИФ- 300. Данный кронштейн состоит из ножки 1, на которой смонтированы две боковых пластины 2, ушек гидроцилиндра 3, коромысла 4 и шатуна 5 с соответствующими отверстиями 6 для крепления экскаваторного ковша. С помощью болтового соединения А и пальца Б кронштейн прикрепляется к гидроманипулятору.
Для совместимости с гидроманипулятором ОМТЛ- 120-01, нужно спроектировать ножку 1 по форме, которая обеспечит качественное соединение гидроманипулятора и переходного модуля (рисунок 2.13), и по размерам, которые будут найдены методом подобия. Размеры других элементов механизма будут найдены только методом подобия.
Базовый механизм рассчитан на нагрузки, которые создаются силой веса заполненного ковша в положении, когда эти нагрузки будут максимальны, и потому для переходного модуля конструктивные размеры деталей будут пропорциональными к базовым с коэффициентом подобия .
Вес рабочего органа m1, на которую рассчитан базовый кронштейн, будет равняться массе заполненного ковша :
(2.3)
где - масса ковша; гр- масса грунта в ковше.
Тогда, масса грунта в ковше, в первом приближени [11], будет равняться:
(2.4)
где - объем ковша.
Масса рабочего органа (вместе с поворотным механизмом) m2 :
(2.5)
где г−с- масса гидроскалывателя; пов.мех- масса поворотного механизма (пов.мех=269,7 кг).
Согласно выше описанного, коэффициент подобия:
Расчеты геометрических размеров сборочных единиц проектируемого кронштейна выполнялись графическим методом в САПР "Компас 3D V14" потому в пояснительной записке не приведены. В соответствии с геометрическими размерами, общий вид переходного модуля изображен на рисунке 2.14.
Прочностные характеристики будут обеспеченны коэффициентом подобия, потому расчеты на прочность проводить не нужно. Основные параметры спроектированного переходного модуля, которые нужны в дальнейших расчетах, приведены в таблице 2.11.
Таблица 2.11 Основные параметры переходного модуля
| Критерий | Показатель | ||
| Масса(без учета жидкости в гидроцилиндре), кг | 202 | ||
| Гидроцилиндр | 100x60x462 | ||
| Диаметр штоковой полости, мм | 100 | ||
| Диаметр штока, мм | 60 | ||
| Ход поршня, м | 462±4 | ||
| Координаты центра тяжести | Хс | 71 | |
| Ус | 450 | ||
2.4. Проектирование площадки для крепления гидроманипулятора
В соответствии с присоединительными размерами и конструктивным выполнением манипулятора ОМТЛ- 120-01 форма переходной площадки имеет вид, изображен на рисунке 2.15. Материал платформы : Сталь 50Л (после нормализации: σвр = 660 МПа; σт = 390 МПа;).
2.4.1. Проектный расчет переходной площадки
В первом приближении на площадку действует сила веса манипулятора, которая создает момент Мгідр.м, относительно оси симметрии стыка соединения поворотной платформы и данной переходной площадки:
, (2.7)
где гидр.м- масса гидроманипулятора; гидр.м- расстояние от центра масс манипулятора до поворотной платформе.
Разрезы площадки, в которых напряжения будут наибольшими, показанны на рисунке 2.16.
Рисунок 2.16 Критические сечения конструкции переходной площадки
Напряжение в сечении 1:
(2.8)
где W - момент сопротивления площади стыка при повороте вокруг оси Х (направление движения экскаватора):
(2.9)
где а и - толщина и длина площадки соответственно.
Тогда, необходимая толщина площадки а1 :
. (2.10)
По аналогии, для сечения 2:
. (2.11)
Для Стали 50Л(σвр=660 МПа), при коэффициенте запаса прочности
n=2,25, допустимое напряжение:
.
Тогда,
.
.
2.4.2. Проверочный расчет платформы
С учетом собственного веса:
, (2.12)
где пл= 367 кг - масса площадки; пл=0,535 м - расстояние от центра масс площадки до поворотной платформы.
; (2.13)
, (2.14)
Тогда,
,
.
С учетом коэффициента динамики Кд=1,5, конечная форма и конструктивные размеры переходной площадки указаны на рисунке 2.17.
Основные параметры спроектированной платформы представлены в таблице 2.12.
Таблица 2.12 Основные параметры спроектированной платформы
| Материал | Сталь 50Л ГОСТ 977-88 | |
| Масса, кг | 367 | |
| Координаты цетра тяжести | Хс | 0,326 |
| Ус | 0,535 | |
2.5. Соединение гидроманипулятора с экскаватором ЭО - 5122
Соединение переходной площадки с поворотной платформой
В результате специфики работы модифицированного экскаватора на аварийно-спасательных работах, а именно - непостоянного наличия объема работ, было принято решение выполнить установку переходной площадки (дальше площадки) на поворотной платформе с помощью болтового соединения. Это позволит использовать, установленную на площадке, вспомогательную стрелу для выполнения специфических спасательных работ, а после демонтажа площадки - использовать экскаватор по прямому назначению.
Расчет болтового соединения сводится к решению двух задач :
-
Нахождения всех усилий, действующих на каждый болт соединения;
-
Расчет наиболее нагруженного болта данного соединения.
Исходные даные для расчетов приведены в таблице 2.13:
Таблица 2.13 Исходные данные для расчета болтового соединения
| Масса переходной площадки(пл), кг | 367 |
| Масса гидроманипулятора с рабочим органом(гидр.м), кг | 3372 |
| Предел текучести σт для стали 40Х ГОСТ 4543-71, МПа | 900 |
На болтовое соединение в целом, действует сила веса манипулятора с рабочим органом и сила веса самой площадки, что изображено на рисунке 2.18.
1 - переходная площадка; 2 - швеллер поворотной платформы
Рисунок 2.18 Силы, которые действуют на болтовое соединение.
Действие внешних сил веса платформы и гидроманипулятора можно свести к действию суммарной силы веса, прилагаемой к центру соединения, и суммарному моменту действия этих сил относительно центра соединения[12] (рисунок 2.19), а именно:
Суммарная сила веса :
(2.15)
Суммарный момент:
; (2.16)
,















