Пояснительная записка (1210792), страница 8
Текст из файла (страница 8)
Для осуществления процесса электрошлаковой наплавки различных поверхностей необходима достаточно глубокая шлаковая ванна, получение которой проще всего при вертикальном или наклонном расположении деталей. По сравнению с дуговой наплавкой это менее универсальный способ, но он весьма эффективен в тех случаях, когда на деталь необходимо наплавить слой металла большой толщины (более 14–16 мм). Благодаря применению большой силы тока и электродов большого сечения можно достичь высокой производительности – до 150 кг наплавленного металла в час.
4.5 Вибродуговая наплавка
Этот способ обычно используется для наплавки деталей типа тел вращения диаметром от 8–10 мм и более. Сущность этого метода наплавки заключается в том, что основной и электродный металл нагревается до расплавления теплотой, которая выделяется в результате возникновения периодически повторяющихся электрических разрядов, т.е. прерывисто горящей электрической дуги; Наплавленный слой образуется в процессе кристаллизации расплавленного основного и электродного металла
(рисунок 4.5). Малая длительность и прерывистость горения электрической дуги обусловлены вибрациями электродной проволоки, которые создаются с помощью электромагнитных или механических вибраторов. В процессе вибраций наблюдаются короткие замыкания вследствие прикасания электродной проволоки к наплавляемому изделию (основному металлу), а во время отрыва проволоки возникает большой силы ток и загорается электрическая дуга. При среднем значении тока 150А экстраток достигает 1000 А.
Рисунок 4.5 – Схема вибродуговой наплавки: 1 - вибрирующий наконечник, 2 - электродная проволока, 3 - деталь, 4 - наплавленный слой.
В качестве присадочного металла применяют наплавочные проволоки (одну или несколько), которые могут иметь возвратно-поступательные перемещения поперек сварочной ванны, а также электродные ленты, пластины или стержни большого сечения, иногда и трубы, которые используют для наплавки цилиндрических поверхностей. При наплавке обычно применяют флюсы АН-8, АН-22 и др. Длительность горения дуги составляет
0,002 - 0,003 с.
Наплавочная установка состоит из вибродуговой головки, аппаратуры управления, вращателя, источника тока. Во время наплавки выполняются следующие движения: вращение наплавляемой детали, поступательное движение вибродуговой головки вдоль продольной оси наплавляемой детали, подача проволоки в зону дуги и вибрация проволоки. Питание осуществляется от выпрямителей, сварочных генераторов, а также от низковольтных трансформаторов с вторичным напряжением 12–16 В и более. Более высокие показатели достигаются при наплавке на постоянном токе обратной полярности. Обычно в сварочную цепь включают индуктивность, значение которой выбирают в зависимости от частоты вибрации электродной проволоки, напряжения, рода тока и других факторов. Для наплавки пригодны сварочные проволоки диаметром 0,8–2,0 мм. С целью защиты расплавленного металла от взаимодействия с окружающей средой наплавка ведется в струях жидкостей или защитных газов, а также под слоем флюса. Применяются водные растворы кальцинированной соды; смеси кальцинированной соды, мыла и глицерина; эмульсии глицерина.
Прерывистость процесса позволяет получать зону термического влияния малой ширины, поэтому наплавленные детали имеют весьма малые деформации, что особенно важно при наплавке сложных изделий, изготовленных с высокой точностью.
Если наплавка выполняется в струе жидкости, происходит ускоренное охлаждение наплавленного металла, поэтому он имеет повышенную твердость и износостойкость. Вибродуговая наплавка эффективна, если необходимо наплавлять слои металла небольшой толщины.
Недостатками вибродуговой наплавки являются сравнительно низкий коэффициент наплавки и невысокая производительность наплавки.
4.6 Индукционная наплавка
Индукционная наплавка. Сущность индукционной наплавки заключается в следующем. Наплавляемую деталь помещают в электромагнитное поле индуктора, который питается переменным током высокой частоты (ТВЧ). В массе металла детали или компактной присадки индуктируются вторичные переменные токи той же частоты, распределяющиеся в поверхностном слое металла и нагревающие этот слой. Чем выше частота тока, тем тоньше нагреваемый слой металла. Для стальных деталей преимущественный нагрев токами высокой частоты поверхностных слоев металла сохраняется вплоть до точки Кюри (768°С). После того, как металл нагреется выше точки Кюри, глубина проникновения индуктированных токов увеличивается в 10...20 раз (в зависимости от частоты), благодаря чему распределение температуры в нагреваемом металле становится более равномерным. Детали или компактные присадки нагревают до плавления металла и соединяют. Для предохранения от окисления и улучшения сплавления основного и наплавленного металлов применяют флюсы. Следует отметить, что в наиболее распространенных способах индукционной наплавки в качестве присадочного материала применяют не компактные материалы, а шихту, состоящую из металлических порошков и флюсовых добавок[7].
4.7 Центробежный метод литья
Центробежным способом заливают полые заготовки из цветных и железоуглеродистых сплавов, имеющих относительно низкую температуру плавления. Такой процесс возможен при условии, что температура плавления металла восстанавливаемой детали выше, чем у наплавляемого материала.
Кроме этого применяют способ центробежной наплавки с предварительным расплавлением присадочного металла и последующей его заливкой внутрь вращающихся заготовок. При этом наплавляемые втулки вращаются в центробежных машинах, патронах стаканов или специальных приспособлениях. Нагрев заготовок и плавление заливаемого материала производят в высокочастотных, электродуговых и других печах. Для расплавления легкоплавких антифрикционных материалов можно использовать обычные горны. Такой способ обеспечивает получение плотного беспористого слоя металла, однако производительность способа менее высока.
Наибольшее распространение этот способ получил при изготовлении различных биметаллических втулок. Известны два варианта этого способа наплавки (рисунок 4.6), отличающиеся применяемым присадочным материалом. Можно использовать присадочный материал в твердом состоянии в виде металлических порошков, стружки и др. В этом случае плавление присадки идет за счет теплопередачи от нагреваемого ТВЧ основного металла. По второму варианту присадочный металл плавят в отдельной емкости и заливают в расплавленном состоянии внутрь вращающегося наплавляемого цилиндра.
Особенностью является формирование наплавленного металла под действием центробежных сил, которые, с одной стороны, способствуют более равномерному распределению расплава на основном металле и удалению вредных примесей, а с другой – усугубляют ликвационные явления. Поэтому при наплавке сильно ликвирующих сплавов необходимо применять специальные технологические меры: регламентировать количество заливаемого металла, температуру и продолжительность нагрева, число оборотов центробежной машины, скорость охлаждения металла и др. Примерами реализации этого способа является центробежная наплавка гильз автомобильных двигателей, гильз гидроцилиндров и червячных машин[7].
При нагреве в печах без защитной среды рабочие поверхности деталей сильно окисляются, поэтому на заливаемых втулках следует предусматривать припуски для снятия образующейся при нагреве окалины.
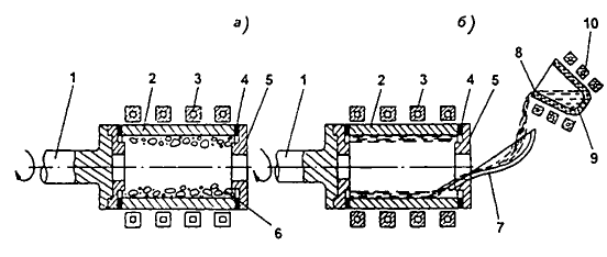
Рисунок 4.6 – Принципиальные схемы индукционной наплавки центробежной
заливкой с использованием твердого (а) и расплавленного (б) присадочного
материала: 1- шпиндель центробежной машины; 2 – наплавляемая деталь;
3 – индуктор; 4 – прокладка; 5 – крышка; 6 – шихта; 7 – керамический
желоб; 8 – расплавленный металл; 9 – тигель; 10 – индуктор плавильного
агрегата
Поверхности деталей от окисления могут быть также защищены нанесением жаростойких обмазок, например, следующего состава в процентах: маршалита 50 %, жидкого стекла 50 % или смеси шамотного порошка и маршалита в соотношении 1:3 и жидкого стекла 50 %. Обмазку наносят кистью и хорошо просушивают.
Прочная связь наплавленного материала с поверхностью заготовки и равномерное его распределение обеспечиваются правильным выбором частоты вращения детали, зависящей от диаметра детали.
Технологический процесс наплавки втулок содержит следующие операции: – подбор заготовки-втулки;
– сверление отверстия заготовки под заданный размер;
– обтачивание наружной поверхности и торцов;
– изготовление прокладок или донышек для закрытия торцов;
– установка асбестовых прокладок или приварка одного донышка;
– механическая и химическая очистка втулок;
– покрытие раствором буры;
– введение дозированного количества сплава во втулку;
– приварка или установка на прокладках второй крышки с мелкими отверстиями в центре для выхода газов;
– нагрев втулки для расплавления сплава;
– установка втулки в патроне токарного станка или другого вращающегося приспособления;
– вращение втулки с требуемой частотой отображено в таблице 4.1.
Таблица 4.1 – Требуемая частота вращения втулки от внутреннего диаметра
| внутренний диаметр втулки, мм | 80 | 160 | 200 | 250 | 320 |
| частота вращения втулки, об/мин | 700 | 600 | 550 | 500 | 450 |
Длительность вращения заготовки 3–5 мин с принудительным охлаждением, сжатым воздухом при температуре 700–750 °С. Съем заготовки со станка и окончательное охлаждение производится на воздухе до нормальной температуры. После охлаждения снимают или отрезают донышко крышки и производят чистовое растачивание внутренней поверхности. Производят проточку наружной поверхности втулки под посадочный размер и окончательную подрезку торцов.
Для изготовления биметаллических втулок необходимо иметь нагревательное устройство с рабочей температурой 1200–1300 °С, приспособление для вращения нагретой заготовки, сварочный аппарат для приварки донышек и станки для обработки готовых втулок. Для вращения заготовок могут быть использованы токарные станки.
Внутреннюю поверхность втулки травят 10-ти процентным раствором соляной кислоты, промывают в горячей воде и покрывают 3-х процентным раствором буры, нагретым до 80–90 °С.
В шихту из бронзы добавляют размельченный древесный уголь. Для изготовления втулок используют цельнотянутые или сварные стальные толстостенные трубы, стальные поковки или отливки. Применение чугунных заготовок возможно только при заливке втулок жидким металлом или расплавлении наплавленного металла электрической дугой. Прочность связи наплавляемого центробежным способом металла втулки повышается при предварительной нарезке на ее внутренней поверхности резьбы. Наилучшая связь обеспечивается при использовании для наплавки втулок перлитно-ферритного чугуна.
5 РАЗРАБОТКА ТЕХНОЛОГИИ ВОССТАНОВЛЕНИЯ ДЕТАЛЕЙ ВАГОНОВ МЕТОДОМ ЗАЛИВКИ ЖИДКИМ МЕТАЛЛОМ ДЛЯ ЛВЧД-1 Г. ХАБАРОВСК
5.1 Общие требования к шпинтону тележки КВЗ-ЦНИИ
Шпинтон предназначен для ограничения перемещений букс в горизонтальной плоскости и не позволяют им, а следовательно, и колесным парам разъединяться с рамой тележки при сходе вагона с рельс. Шпинтоны изготавливаются отливкой из стали 25Л. В процессе эксплуатации изнашивание шпинтона по цилиндрической поверхности 1 (рисунок 5.1) происходит в результате вертикальных перемещений фрикционной втулки, которые возникают при ослаблении затяжки гайки. При этом одновременно образуется смятие и износ заплечиков 4 шпинтона при соударении с верхней кромкой фрикционной втулки.
Ослабление затяжки гайки происходит в результате недостаточной затяжки гайки при ремонте тележки, при износе, смятии резьбы 2 под действием вертикальных сил при перемещении фрикционных клиньев и втулки, а также из-за коррозии резьбы.
Разрешается наплавка изношенной цилиндрической поверхности 1 шпинтона при износе для тележки КВЗ-ЦНИИ более 2 мм при капитальном ремонте при условии, что равномерный износ не превышает 10 мм по диаметру, а при одностороннем – не более 5 мм на сторону. Перед наплавкой цилиндрической части шпинтон нагревают до t=300...350 °С. При этих сварочных работах применяют электроды типов Э-42, Э-42А,
Э-46,O3H-350, порошковую проволоку ПП-ТН350, то есть присадочные материалы с повышенными механическими свойствами.
Рисунок 5.1 – Износ шпинтонов
Предварительный нагрев осуществляют с целью улучшения сцепления наносимого слоя металла с основным, и чтобы уменьшить влияние остаточных термических напряжений, возникающих при наплавочных работах.
Восстановление резьбовой части шпинтона 2 производится после предварительного удаления изношенной резьбы на токарном станке.
Наплавку этой поверхности целесообразно производить аналогично наплавке цилиндрической части шпинтона.
Восстановление резьбы по наплавленной поверхности производится на токарных станках. Однако такой способ не обеспечивает требуемой прочности витков резьбы и поэтому целесообразно после выточки резьбы подвергать ее упрочнению накаткой роликами.
Восстановление изношенных галтелей 4 до альбомных размеров разрешено при условии, что величина износа не уменьшает более чем на
30 % сечение основного металла.
Иногда в эксплуатации встречаются шпинтоны с трещинами по цилиндрической части и в подошве шпинтона, идущие от отверстия под
болт 3.














