Пояснительная записка (1210792), страница 7
Текст из файла (страница 7)
4.2.2. Для смазывания деталей регулировочной муфты тормозной рычажной передачи следует применять смазку ЦИАТИМ-201 или ЖТКЗ-65.
4.2.3. В трущихся деталях ручного и стояночного тормоза следует применять смазку графитную.
В пунктах формирования и оборота составов пассажирских вагонов при проведении технического обслуживания ТО-1 шарниры межвагонных соединений и лестниц на кузове вагонов следует смазывать приборным маслом МВП, смазкой ЦИАТИМ-201 или смазкой Солидол Ж. Шарниры и пружины переходных и входных площадок смазывать смазкой Солидол Ж или Солидол С.
6.1.2. В пунктах формирования и оборота при проведении технического обслуживания ТО-1 механизмы замков следует смазывать приборным маслом МВП или смазкой ЦИАТИМ-201.
6.1.3. Узлы трения циркуляционного и ручного насоса смазывать смазкой ЦИАТИМ-201.
6.1.4. Петли дверей, шарниры, резьбовые соединения пантографов смазывать смазкой Солидол Ж или Солидол С. Механизмы подъема окон, поворотные механизмы форточек смазывать смазкой Солидол Ж или Солидол С.
6.1.5. В местах интенсивного обледенения под кузовом вагона после предупреждения о гололеде необходимо применять смазку антиобледенительную ЦНИИ-КЗ.
6.1.6. Резьбовые и фланцевые соединения водяной магистрали экологически чистых туалетов ТВ-1, ТВ-2, Омега-4 смазывать смазкой ЦИАТИМ-201. Резьбовые соединения магистрали теплоносителя смазывать смазкой ВНИИ-НП-232.
6.1.7. Узлы трения циркуляционного и вакуумного насосов вакуумной установки МВИЮ смазывать смазкой ЦИАТИМ-201.
6.2. Холодильная установка
6.2.1. Для компрессоров холодильных машин рекомендованы минеральные и синтетические масла с низкой температурой застывания и высокой химической стабильностью. Физико-химические показатели отечественных компрессорных масел приведены в приложении № 8.
6.2.2. В компрессорах холодильных установок пассажирских вагонов применять товарное минеральное масло с антиокислительной присадкой марки ХФ 12-16. По согласованию в установленном порядке допускается применение нефтяного загущенного масла ХФ 22-24, или полиэфирные синтетические масла ХФС-134а и импортные масла TRITON SE 55 и BSE -170 . Масло ХФ 12-16 применяется в компрессорах холодильных установок, хладагентом которых являются хладон 22 (международный индекс R-22), Астрон С10М1 (М1LE). В компрессорах с хладоном R 134а применять полиэфирное масло TRITON SE 55 и BSE –170.
6.2.3. В компрессорах, работающих в период гарантийного срока, смену масла производить в соответствии с инструкциями по эксплуатации компрессоров предприятий – изготовителей.
6.2.4. Полную смену масла в компрессорах необходимо производить при деповском ремонте, при ремонте с разборкой компрессора, при сезонных перезаправках или при браковке проб компрессорного масла по результатам лабораторного анализа.
Перед заправкой свежего масла картер компрессора и масляный фильтр необходимо очистить от загрязнений, промыть керосином и просушить. Количество вновь заправляемого масла составляет от 4 до 5 л. Заправка и дозаправка компрессорного масла контролируется по уровню смотрового стекла.
6.2.4. Заправка или дозаправка компрессора товарным маслом ХФ 12-16 производится в пунктах формирования и оборота и при проведении технического обслуживания пассажирских вагонов. Компаундирование с другими сортами масел для эксплуатации в компрессорах запрещается.
6.2.5. Заправка или дозаправка компрессора может быть произведена регенерированным маслом ХФ 12-16 с предварительной его осушкой и проверкой физико-химических характеристик на соответствия техническим требованиям по показателям, предусмотренным ГОСТ 5546-66. При этом содержание влаги в масле не должно превышать 0,003 % (30 мг на 1 кг масла).
6.2.6. Хранение масла ХФ 12-16 до применения необходимо осуществлять только в герметически закрытой таре предприятия-изготовителя. В пунктах формирования и оборота хранение масла осуществляется в плотно закупоренной таре, находящейся в сухом отапливаемом помещении. Перед применением необходима лабораторная проверка масла, предусмотренная п. 6.2.5. настоящего раздела.
6.2.7. Отбор проб масла из компрессора для лабораторного анализа следует производить при проведении очередного технического обслуживания ТО-3 и деповского ремонта. Пробы отбираются при помощи заправочной трубки, подсоединенной к заправочному вентилю, сразу после остановки компрессора, но не позднее, чем через 30 минут после остановки компрессора. При значении показателя загрязненности масла свыше 80 масло следует заменить свежим.
7.2. Оборудование и его защита
7.2.1. Для защиты межэлементных перемычек и выводов (борнов) щелочных и кислотных аккумуляторных батарей следует применять консервационное масло НГ-203 А.
7.2.2. Для антикоррозионной защиты крышек баков щелочных аккумуляторов необходимо применять консервационное масло НГ-203Р.
7.2.3. Для консервации устройств электротехнического оборудования следует применять консервационное масло НГ-203 А или состав предохранительный ПП-95/5.
7.2.4. В качестве вспомогательного изоляционного материала, предотвращения увлажнения и загрязнения изоляционные поверхности штепселей, глухой и рабочей розеток покрывать тонким слоем кремнийорганической пасты КПД.
4 МЕТОДЫ ВОССТАНОВЛЕНИЯ ДЕТАЛЕЙ НА ЖЕЛЕЗНОЙ ДОРОГЕ
4.1 Металлизация
Сущность способа – металл, расплавленный различными способами, распыляется воздухом или газом на восстанавливаемую поверхность. Металлизация может быть электродуговая, плазменная, высокочастотная, газопламенная. Металлизация осуществляется специальным аппаратом – металлизатором (рисунок 4.1).
Рисунок 4.1 - Эскиз электродугового металлизатора: 1 – электродная проволока; 2 – провода от трансформатора; 3 – ролики; 4 – направляющие
Воздух движется под давлением 0,6 МПа, а расплавленные частицы размером 1,5–10 мкм – со скоростью 120–300 м/с. Частицы ударяются о поверхность, заполняют микронеровности и поры и обусловливают сцепление их между собой. Толщина слоя от нескольких микрон до 10 мм.
Подготовка детали к металлизации: очистка поверхности от загрязнений, пленок, окислов; механическая обработка для придания правильной геометрической формы; придание поверхности шероховатости, необходимой для прочного удержания нанесенного слоя металла с помощью обработки дробью, накаткой, обдувкой песком, нанесением резьбы, защита поверхности, не подлежащей металлизации.
При газопламенной и плазменной металлизации для восстановления деталей, работающих при знакопеременных и ударных нагрузках, с местным износом до 3–5 мм, напыление металла производится с одновременным оплавлением в три этапа: нагрев детали до температуры 200–250 °С, нанесение подслоя, нанесение основного слоя.
При ремонте локомотивов этим способом восстанавливают клапаны газораспределительного механизма дизеля, втулки цилиндров, шейки коленчатых валов и др.
Преимущества: высокая пористость наносимого металла, что придает ему хорошую износостойкость; низкая температура нагрева основного металла детали. Недостатки: при нарушении технологии подготовки детали возможно отслоение наносимого металла от изношенной поверхности.
4.2 Дуговая наплавка под флюсом
Нагрев и расплавление металла, так же как при сварке, осуществляются теплом дуги, горящей между плавящимся электродом и основным металлом под слоем флюса (рисунок 4.2). Наплавка под флюсом является одним из основных видов механизированной наплавки. Основными преимуществами являются непрерывность и высокая производительность процесса, незначительные потери электродного металла, отсутствие открытого излучения дуги. Отличительной особенностью наплавки под флюсом является хороший внешний вид наплавленного слоя (гладкая поверхность и плавный переход от одного наплавленного валика к другому).
В связи с тем, что в технологии выполнения между наплавкой и сваркой много общего, для наплавки применяется то же оборудование, что и при сварке соответствующими способами.
Наплавку углеродистых и низколегированных сталей выполняют под плавлеными флюсами ОСЦ-45, АН-348-А. Флюс АН-60 пригоден для одно- и многоэлектродной наплавки низкоуглеродистых и низколегированных сталей на нормальных и повышенных скоростях, а также для наплавки электродными лентами. Наплавку легированных сталей производят под низкокремнистыми плавлеными флюсами АН-22, АН-26 и др., а высоколегированные хромоникелевые стали и стали других типов с легкоокисляющимися элементами (титан, алюминий) - под фторидными флюсами АНФ-1 и АНФ-5.
Для предупреждения образования шлаковых включений и непроваров в наплавленном слое при многослойной наплавке необходимо тщательно удалять шлаковую корку с предыдущих слоев.
Рисунок 4.2 – дуговая наплавка под флюсом
4.3 Плазменная наплавка и напыление
Сущность этого метода заключается в том, что нагрев присадочного металла и основного осуществляется сжатой дугой или газовой плазмой, выделенной или совпадающей со столбом дуги. Механизм образования наплавленного слоя такой же, как и при других способах дуговой наплавки. Из наплавочных материалов при плазменной наплавке используют проволоку, прутки и порошки. Схема плазменной наплавки с вдуванием порошка в дугу показана на рисунке 4.3. Между вольфрамовым электродом 1 и внутренним соплом 2 возбуждают дугу. Плазмообразующий газ, проходя через нее, создает плазменную струю 3 косвенного действия, которая обеспечивает расплавление присадочного порошка.
Другая дуга, 4 прямого действия, горящая между электродом 1 и основным металлом 5, совпадает с плазменной струей прямого действия. Последняя создает необходимый нагрев поверхности, обеспечивая сплавление порошка и основного металла. Изменяя значение силы тока сжатой дуги прямого действия, можно достичь минимальной величины проплавления основного металла.
Толщину наплавленного слоя можно изменять в пределах 0,3 - 10 мм с разбавлением основным металлом от 3 до 30%.
При плазменной наплавке с присадочной проволокой косвенная дуга горит между вольфрамовым электродом и соплом, а дуга прямого действия - между вольфрамовым электродом и присадочной проволокой. От этих дуг получает теплоту и основной металл. Изменяя силу тока, регулируют долю основного металла и производительность наплавки. Наплавляемое изделие в этом случае в сварочную цепь не включено. Из защитных газов при плазменной наплавке применяют аргон, азот, углекислый газ, смеси аргона с гелием или азотом и др.
Выбор защитного газа связан со степенью его воздействия на наплавляемый и основной металлы. В качестве плазмообразующего могут применяться аргон, гелий, углекислый газ, воздух и др.
Рисунок 4.3 – Схема плазменной наплавки с вдуванием порошка в дугу
Для обеспечения стабильного протекания процесса наплавки необходимо применять неплавящиеся электроды из такого материала, который способен без разрушения выдерживать нагревание до высоких температур. Таким требованиям лучше всего отвечают электроды из чистого вольфрама или с присадками диоксида тория, оксидов лантана и иттрия. Преимущества этого вида наплавки - малая глубина проплавления основного металла, возможность наплавки тонких слоев, высокое качество и гладкая поверхность наплавленного металла.
Помимо наплавки плазменный нагрев может использоваться также для напыления поверхностных слоев. Процесс напыления отличается от наплавки рядом особенностей. Напыление – это процесс нанесения металлических слоев из частиц напыляемого материала, нагретых до температуры плавления или близких к оплавлению, на неоплавленную поверхность обрабатываемой детали. При напылении присадочный материал используется в виде проволоки или порошков, подаваемых в сжатую дугу, где он нагревается струей газового потока и с большой скоростью подается на поверхность изделия. Толщина напыленного слоя может изменяться от сотых до десятых долей миллиметра. Напыление более толстых слоев обычно не производится в связи с тем, что толстые слои склонны к отслоению от поверхности детали (откалывание). Напыление можно производить как металлами и сплавами, так и различного вида соединениями - оксидами, карбидами, нитридами и т. п.
Технологически в отличие от наплавки напыление выполняют по способу косвенного нагрева выделенной дуговой плазмой. Если при наплавке расстояние от сопла горелки до изделия составляет 6–25 мм, то при напылении – 50–120 мм и более. Напыленные слои обладают меньшей плотностью и большей пористостью по сравнению с наплавленными и более склонны к откалыванию от поверхности детали при нарушении технологии. Однако в них практически отсутствует разбавление основным металлом.
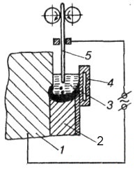
4.4 Электрошлаковая наплавка
При электрошлаковой наплавке для оплавления основного и присадочного металла служит шлаковая ванна, разогреваемая проходящим через нее электрическим током. Этот способ наплавки, как правило, сочетается с принудительным формированием наплавляемого слоя. Сущность процесса электрошлаковой наплавки (рисунок 4.4) состоит в том, что в пространстве, образованном поверхностью наплавляемого изделия 1 и формирующим кристаллизатором 4, охлаждаемым водой, создается ванна расплавленного шлака 3, в которую подается электродная проволока 5. Ток, проходя между электродом и изделием, нагревает шлаковую ванну до температуры выше 2000°С, в результате чего электродный и основной металлы оплавляются, образуя металлическую ванну, при затвердевании которой формируется наплавленный слой 2.
Рисунок 4.4 – Схема электрошлаковой наплавки на вертикальную поверхность














