Пояснительная записка (1210792), страница 5
Текст из файла (страница 5)
Рисунок 3.1 – Износ фрикционной планки
3.2 Фрикционный клин
Фрикционные клинья изнашиваются по вертикальной плоскости о фрикционную планку, а наклонные плоскости о надрессорную балку (рисунок 3.2). Обе плоскости изнашиваются неравномерно.
Вертикальная плоскость больше изнашивается по краям и меньше в середине. Это происходит в результате взаимного забегания боковых рам тележки при движении вагона. Наклонная плоскость изнашивается менее интенсивно, но также неравномерно. Анализ показывает, что интенсивность износа фрикционных клиньев с течением времени увеличивается.
Фрикционные клинья, имеющие износы вертикальной и наклоняй поверхностей более 3 мм при деповском ремонте, должны ремонтироваться наплавкой с последующей механической обработай или заменяться новыми. Наплавка разрешена при условии, что толщина оставшейся части стенок не менее 5 мм. При капитальном ремонте необходимо устанавливать новые клинья.
Вертикальные плоскости фрикционных клиньев допускается ремонтировать приваркой планок с последующей механической обработкой. Для этого производят обработку вертикальной стенки на фрезерном или строгальном станке до толщины 6 мм. В нижней части вертикальной стенки выполняют фаску под углом 45°.
После подготовительных работ к вертикальной стенке устанавливают планку из листовой стали Ст.З или низколегированной стали толщиной 10 мм. В планке должны быть просверлены 5 отверстий в шахматном порядке по всей плоскости. После плотного прижатия планки завариваются электрозаклепками по отверстиям, а затем планка приваривается к клину по периметру. Приварку проводят электродами Э46 или Э42А диаметром
4...5 мм. Катет швов должен быть 8...10 мм.
Рисунок 3.2 – Фрикционный клин
3.3 Надрессорная балка
В современном мире эксплуатация вагонного парка происходит в условиях высокого использования грузоподъемности вагона и высоких скоростей движения. В результате даже при движении по прямолинейным участкам с V=10 м/с сила инерции достигает колоссальных значений, способствующие привести к отрыву пятника от плоской поверхности подпятника.
В результате возможно краевое опирание пятника и перераспределение нагрузок по подпятнику, в результате чего, повышается повреждаемость в зоне подпятников. На рисунке 3.3 представлены наиболее типичные усталостные повреждения подпятника.
Рисунок 3.3 – Износы и повреждения надрессорных балок
Трещина 1 опорной колонки является следствием дефектов литейного происхождения. Эти трещины в соответствии с инструкцией разрешается заваривать при условии, что трещина расположена в нижней части колонки (h<250 мм), доступна для разделки и длина ее составляет не более половины длины периметра сечения колонки в данном месте. Выявляют эти трещины через технологические окна верхнего и нижнего поясов с подсветкой. Кольцевые трещины 2 являются следствием краевого опирания пятника на подпятник особенно при дополнительном воздействии центробежных и ветровых нагрузок на кузов вагона. Как правило, эти трещины зарождаются в зонах подпятников, расположенных по поперечной оси вагона. Заваривать кольцевые трещины разрешается при условии, что длина ее не превышает 250 мм и не переходит через наружный борт на плоскость верхнего пояса.
На образование кольцевой трещины вблизи прилива для шкворня влияет также действие крутящего момента, образующегося при продольном смещении пятника по подпятнику, особенно при наличии значительных износов борта подпятника и упорных поверхностей пятника. В этом случае возможно образование трещин вокруг всего прилива для шкворня с последующим выламыванием этого прилива и падением его внутрь объема надрессорной балки.
Трещины наружного борта 3 образуются чаще в сечениях борта по продольной оси вагона при значительных износах внутренних поверхностей от взаимодействия с пятником. При деповском ремонте разрешается эти трещины заваривать при условии, что длина двух трещин не превышает 120 мм. При капитальном ремонте заварка трещин не допускается.
При обследованиях надрессорных балок установлено, что глубина износов опорных поверхностей подпятников 4, упорных поверхностей наружных 5 и внутренних 6 буртов резко возросли. Это происходит из-за увеличения интенсивности перемещений пятника по подпятнику.
Перемещение пятника но подпятнику при дополнительном воздействии кромочного опирания пятника на подпятник н поворот пятника относительно подпятника при прохождении кривых приводят к износам опорной поверхности подпятника с максимальной глубиной износа возле наружного борта но поперечной оси вагона. Интенсивность этого износа составляет примерно 0,3...0,4 мм в год.
Наплавка изношенной опорной поверхности 4 разрешается электродами с повышенной износоустойчивостью металла, при условии, что глубина износа лежит в пределах от 3 до 7 мм.
Износы наружного 5 и внутреннего борта 6 имеют ярко выраженную ориентацию по продольной оси вагона и серповидную форму.
Разрешается устранять износы бортов, если оставшаяся толщина стенки наружного борта не менее 11 мм, а внутреннего не менее 7 мм.
Отколы борта также имеют ориентацию по продольной оси вагона и образуются под действием продольных сил при условии существенного износа борта.
Износы отверстия для шкворня 7 разрешается устранять обычным способом. Если износ отверстия превышает 2 мм на сторону или, если имеется откол внутреннего борта более половины периметра, борт восстанавливается путем вварки точечной втулки.
Продольные трещины 8 верхнего пояса, идущие от технологического окна, разрешается устранять при суммарной длине их не более 250 мм и не переходящих на наружный борт подпятника.
Надрессорная балка опирается наклонными поверхностями, расположенными под углом 45°, на фрикционные клинья. В процессе движения вагона надрессорные балки и клинья взаимно перемещаются вдоль и поперек вагона, что приводит к износу их наклонных поверхностей. Поэтому при всех видах ремонта производится измерение износов наклонных поверхностей с помощью шаблона.
Наклонные поверхности 9 восстанавливаются при износе более 3 мм на сторону при деповском ремонте и не допускаются при капитальном ремонте. Восстановление наклонных поверхностей производится либо наплавкой, либо путем приварки накладок из Ст. 45.
Установка стальных накладок допускается после механической обработки наклонной поверхности. Оставшаяся толщина металла на наклонной поверхности перед наплавкой должна быт ь не менее 7 мм
После наплавки или установки износостойких накладок должна обеспечиваться симметричность надрсссориой балки.
Существенное влияние на динамику вагона и на напряженное состояние деталей имеют зазоры в горизонтальных скользунах. При уменьшении суммарных зазоров между скользунами с 20 до 6 мм коэффициент динамики уменьшается примерно в 2...3 раза. Но одновременно увеличиваются горизонтальные поперечные силы при движении по кривым участкам, то есть происходит рост направляющих усилий на 0,5...1 т, что ухудшает вписывание в кривые и может привести к сходу вагонов с рельсов.
В соответствии с действующими инструкциями зазоры в скользунах при выпуске из деповского ремонта должны быть в пределах 6... 16 мм, а в эксплуатации 2...20 мм.
Увеличение зазора происходит за счет износа плоскости зрения съемного колпака скользуна 10.
Эти износы восстанавливают при величине более 3 мм обычной наплавкой с последующей механической обработкой до чертежных размеров или постановкой накладки с обваркой по всему периметру.
Регулирование зазора между скользунами тележки и рамы производится путем постановки под колпак сменных прокладок 11 различной толщины.
3.4 Фрикционная втулка
Фрикционные втулки шпинтонов изготовлены из стали Ст.45, закаленной до твердости 45 HRC.
Втулка шпинтона предназначена для предохранения шпинтона от механического износа фрикционными клиньями и является элементом фрикционного гасителя колебаний.
Втулка одевается на хвостовик шпинтона и неподвижно закрепляется на нем: одним концом втулка упирается в галтель шпинтона, с другой стороны крепление осуществляется корончатой гайкой, нажатие от которой передается через тарельчатую пружину. Эта пружина должна постоянно обеспечивать нажатие на втулку, компенсируя износ ее торцов и заплечика шпинтона.
В процессе колебаний вагона и рамы тележки на надбуксовых пружинах происходит перемещение фрикционных сухарей и возникновение больших сил трения между втулкой и сухарями. В результате такой работы сил трения появляются износы наружной цилиндрической поверхности 1 (рисунок 3.4) и износ внутренних поверхностей заплечиков 2.
Поверхности втулки изнашиваются неравномерно как вдоль образующей, так и по окружности. Неравномерность износа по глубине может достигать 2–3 мм. Это объясняется разной величиной усилия, с которой отдельные сухари прижимаются к втулке и перемещаются вдоль втулки. Величина этого усилия зависит от «полноты» сухарей и состояния наклонных поверхностей сухарей и колец.
Поверхность втулки изнашивается так, что сверху и снизу образуются бурты различной конфигурации в зависимости от глубины износа.
Кроме износа по наружному диаметру втулки, изнашивается также внутренний диаметр галтели. Износ происходит при взаимодействии шпинтона со втулкой (сила R).
Рисунок 3.4 – Износ фрикционной втулки шпинтона
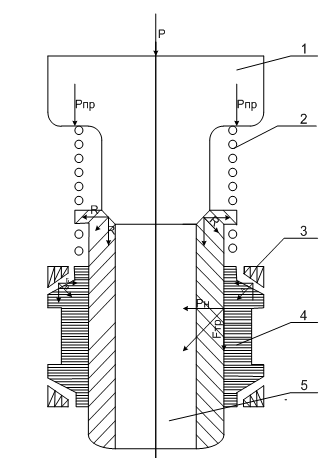
На рисунке 3.5 показаны силы действующие на втулку шпинтона.
P - сила действующая от рамы тележки на шпинтон. Шпинтон в свою очередь сжимает пружину, а она давит на кольцо с силой Рпр. Фрикционный клин взаимодействует непосредственно со втулкой шпинтона с силой, которая раскладывается на две составляющие Рн и Fmp. Под действием этих сил происходит механический износ втулки. Сила F вызывает скольжение клина вдоль втулки по вертикали, а сила Рн непосредственное нажатие клина на втулку.
Образовавшиеся при износе втулки ступени вредно влияют на работу надбуксового гасителя, вызывая удары сухарей о ступеньки втулки при прохождении его верхнего и нижнего положений.
Втулки с износом более 1 мм на сторону или 2 мм по диаметру должны подвергаться восстановлению. Наплавка может производиться, если износ по наружному диаметру составляет не более 30 % от толщины стенки втулки. При большем износе втулки не подлежат ремонту.
Рисунок 3.5 – Силы действующие на втулку шпинтона:
1 – шпинтон, 2 – пружина, 3 – кольца, 4 – фрикционный клин, 5 – втулка шпинтона.
Для повышения износостойкости и долговечности наплавку втулок целесообразно производить порошковой проволокой марки ПП-TН350 или электродами ОЗН-400. Втулки, наплавленные этими электродами, не требуют термообработки, так как твердость и износоустойчивость их не уступает термически обработанным (45 HRC).
Замеры твердости, а также наружного диаметра втулки нужно производить по рабочей поверхности на расстоянии 100...150 мм от ее нижней кромки. Втулка работает на открытом воздухе и поэтому подвергается коррозионному износу.
3.5 Фрикционный сухарь
В гасителях колебаний наблюдается интенсивный износ сухарей по цилиндрической поверхности 1 (рисунок 3.6) и коническим поверхностям 2, взаимодействующих соответственно с фрикционной втулкой и нажимными кольцами. Между сухарями предусматриваются зазоры 7 мм, которые обеспечивают возможность радиального их перемещения по мере износа цилиндрической поверхности втулки и сухарей. Так как нормальная работа гасителя предполагает непрерывный контакт между сухарями и втулкой, то предельная величина их износа тесно связана с величиной указанных зазоров. Эти зазоры полностью выбираются при определенном износе втулки и сухарей, после чего гаситель перестает работать.
Сухари опираются коническими поверхностями на кольца, имеющие аналогичную коническую поверхность с углом наклона 40° к горизонтали. В результате взаимодействия конических поверхностей сухарей и колец сухари непрерывно нагружены силой, направленной в сторону втулки и плотно их к ней прижимающих.
Благодаря конической форме сухарей при колебательном движении они перемещаются не только относительно втулки в вертикальном направлении, но также относительно колец в горизонтальном направлении.















