УЧАСТОК ЕТР ЛВЧ-1-2-3 (1202192), страница 4
Текст из файла (страница 4)
Для исключения сдвига венца относительно ступицы в 12 отверстий, просверленных в сборе, вставляются упругие разрезные втулки 3, ориентированные плоскостями разрезов перпендикулярно радиусу тормозного диска и фиксируемые в осевом направлении приставными кольцами 4, стянутыми болтовыми соединениями. С целью предотвращения ослабления болтовых соединений приставных колец вследствие температурных деформаций венца и втулок под головки болтов и гаек устанавливаются тарельчатые пружины 5 [1].
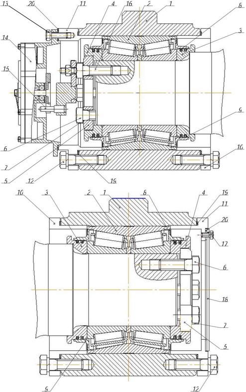
Буксовые узлы (рисунок 1.9) состоят из корпуса буксы 1, кассетного двухрядного подшипника 2 с размерами 230x130x150 с коническими роликами с прессовой посадкой внутренних колец на ось, задней 3 и передней 4 крышек, фиксирующих внутренние кольца подшипника на шейке оси в осевом направлении. Посадка задней крышки на предподступичную часть оси - прессовая.
Передняя крышка 4 фиксируется на оси шайбой 5 и болтами 6, стопорящимися стопорной шайбой 7, поджимая внутренние кольца подшипника.
Для предотвращения попадания влаги и пыли на дорожки качения подшипника имеются выполненные на задней и передней крышках кольцевые канавки, в которые вставлены кольца 8, и в паре с кожухами 9, вставленными в наружное кольцо подшипника, образующие лабиринтное уплотнение подшипника [1] .
Наружное кольцо подшипника фиксируется в корпусе буксы при помощи задней 10 и передней 11 крепительных
крышек, поджимаемых к корпусу буксы болтами 12.
На переднюю крепительную крышку 11 левого буксового узла (рисунок 1.9а) с помощью болтов 13 устанавливается осевой датчик 14. Передача крутящего момента от оси на датчик осуществляется при помощи поводка 15, установленного на специальных болтах 16, крепящих переднюю крышку подшипника.
Осевой датчик служит для регулирования работы дискового тормоза с целью предотвращения юза колесной пары.
Правые буксовые узлы в соответствии с рисунком 1.8 закрываются с помощью болтов 17 смотровой крышкой 18.
Для предотвращения попадания влаги и грязи в буксовые узлы между крепительными и смотровыми крышками и корпусом буксы устанавливаются уплотнительные прокладки 19 и 20.
Рисунок 1.9- Левый а
и правый б буксовые узлы
С целью исключения несанкционированного проникновения в буксовые узлы по одному болту на передних крепительных крышках и смотровой или осевом датчике каждого буксового узла обвязываются проволокой и пломбируются.
Подвешивание буксовое является первичной ступенью рессорного подвешивания тележки и предназначено для передачи нагрузок от рамы тележки на колесную пару.
Буксовое подвешивание (рисунок 1.10) состоит из двухрядного комплекта винтовых цилиндрических пружин 1 с оттянутыми и поджатыми опорными витками, гнезда опорного 2, устанавливаемого сверху на корпусе буксы и служащего для фиксации комплекта пружин на корпусе буксы, резиновой прокладки 3 для гашения высокочастотных колебаний и двух поводков 4 - для связи колесной пары с рамой тележки и передачи продольных и поперечных усилий.
Поводки буксовые устанавливаются в клиновые пазы кронштейнов буксы, и рамы тележки и закрепляются болтами 5. Болты от самоотвинчивания стопорятся шайбами 6.
Рисунок 1.10- Буксовое подвешивание
Подвешивание центральное является вторичной ступенью рессорного подвешивания тележки и предназначено для передачи нагрузки от кузова вагона через надрессорный брус и комплекты пружин на раму тележки.
Подвешивание центральное (рисунок 1.11) выполнено безлюлечным с цилиндрическими винтовыми пружинами 1, вертикальными 2 и горизонтальными 3 гидравлическими гасителями колебаний и служит для демпфирования вертикальных и горизонтальных колебаний кузова вагона.
Для реализации момента трения вопорныхскользунах и для предотвращения сдвигающих (продольных) усилий служат продольные поводки 4. Для ограничения прогиба использованы сварные опоры 5, установленные внутри пружин.
Для фиксирования надрессорного бруса относительно рамы тележки перед подкаткой тележки под вагон служит стяжное устройство, состоящее из двух серег 6, осей 7 и элементов крепления. Пружины 1 при этом должны быть подвергнуты предварител
ьному сжатию до совпадения паза серьги с отверстиями в проушинах на раме тележки.
Рисунок 1.11- Центральное подвешивание
Тормозные цилиндры предназначены для прижатия тормозных накладок к тормозному д
иску посредством передачи тормозного усилия к ним через тягу иклещевые механизмы и автоматического регулирования постоянной величины суммарного зазора между накладками и поверхностями тормозного диска по мере их износа [1].
Технические характеристики тележек моделей 68-4095, 68-4096 приведены в таблице 1.3.
Таблица 1.3-Технические характеристики тележек моделей 68-4095, 68-4096
| Основные параметры и размеры | Тележки моделей 68-4095, 68-4096 |
| Тип | 2-осная безлюлечная |
| Габарит по ГОСТ 9238-83 | 1-ВМ |
| База по колесным парам, мм | 2500 2470 |
| Тормоз | Дисковый 25 |
| Нагрузка на тележку от кузова брутто, кH | 280 |
| Статический прогиб суммарный, мм | 230-260...240-270 |
| Скорость конструкционная, км/ч | 160 |
| Масса тары, кг | 6800...7540 |
| Назначенный срок службы основных несущих элементов конструкции тележки, лет | 28 |
Как в
идно из обзора, тележки с дисковым тормозом значительно отличаются от тележек с колодочным чугунным тормозом. Как конструкцией, так и технологией облуживания. Эскизы безлюлечной тележки с дисковыми тормозамипредставлены в графической части ДП 190302.65. 6В6.07.
При организации технического обслуживания пассажирских вагонов учтем необходимость и возможность обслуживания тележек с дисковым тормозом. Учтем необходимое оборудование и оснастку при модернизации участка.
-
ОРГАНИЗАЦИЯ РАБОТ ПО ОБСЛУЖИВАНИЮ
ТЕЛЕЖЕК С КОЛОДОЧНЫМ ТОРМОЗОМ, ТЕЛЕЖЕК
БЕЗЛЮЛЕЧНОГО ТИПА С ДИСКОВЫМИ ТОРМОЗАМИ В
ОБЪЕМЕ ТО-1, ТО-2, ТО-3
2.1 Назначение и состав проектируемого участка, режим работы
Одним из подразделений пассажирского вагонного участка является производственный участок Единой технической ревизии и ТО, участок представляет собой одно целое по проведению ЕТР и ТО[2].
В состав данного участка, входят позиции текущего ремонта: внутреннего оборудования, ремонта ходовой части вагона, автотормозного оборудования и электрооборудования вагона организацией «ТРК», а также ремонт и проверка редукторных колесных пар и букс.
Под режимом работы понимают время её начала и окончания и порядок чередования работы и отдыха. Данный участок работает по 40 часовой пятидневной рабочей неделе
. Продолжительность рабочего дня 11часов режим работы
Для пассажирских вагонов установлены следующие виды технического обслуживания:согласно приказа МПС №9Ц от 04.04.1997г.)
ТО-1 пассажирским и грузо-пассажирским составам и отдельным вагонам перед каждым отправлением в рейс.
ТО-2 демисезонная подготовка вагонов в летним и зимним перевозкам.
ТО-3 единая ехническая ревизия подвижного состава производится либо по пробегу либо по сроку.
При ТО-1 производится осмотр с целью выявления неисправностей, при наличии требований производится инструментальный контроль, ремонт, проверка работоспособности узлов и деталей вагонов, а также систем водоснабжения, отопления, ЭЧТК, электрического и электронного оборудования и других систем.
ТР производится при обнаружении неисправностей в процессе ТО-1, для восстановления работоспособного состояния пассажирского вагона с заменой или восстановлением отдельных его составных частей.
По характеру и месту устранения обнаруженных неисправностей пассажирского вагона ТР подразделяется на следующие виды:
-
ТБР производят без отцепки вагона от состава в процессе ТО-1;
-
ТОР производят с отцепкой вагона от состава или поезда.
Текущий отцепочный ремонт пассажирских вагонов производят в тех случаях, когда неисправность вагона невозможно устранить безотцепочным ремонтом в процессе технического обслуживания, например смену колесной пары.
ТО-2 (сезонное) является подготовкой вагона к работе в зимних или летних условиях. Зимнее техническое обслуживание вагонов, работающих в районах с низкими температурами, заканчивают к 1 октября, остальных вагонов — к 15 октября. Летнее обслуживание заканчивают к 15 мая.
Перечень работ по ТО-2 включает работы по подготовке системы отопления (водяного, комбинированного или электрического типов), системы водоснабжения, вентиляции и кондиционирования воздуха, а также работы по доведению до требуемого значения плотности электролита аккумуляторных батарей. Выполняют также работы, предусмотренные ТО-1. При совпадении сроков ТО-2 и ТО-3 производится ЕТР вагона с выполнением дополнительных работ, требуемых сезонным обслуживанием.
Если в ходе проведения ТО-2 вагону в составе поезда выявляются неисправности требующие отцепки вагона и выставления его на позицию домкратов то в таком случае вагону производится ТОР и ТО-2 с предъявлением вагона приемщику и подписанием ВУ-36.
При производстве ТО-3 вагонов в период с 1 марта по 25 мая, а так-же в период с 20 августа по 31 октября, дополнительно производятся работы, связанные с
подготовкой вагонов к эксплуатации в летний или зимний период в соответствии с требованиями.
Вагонам, отставленным в запас, ТО-3 производится перед вводом их в эксплуатацию.
После проведения ТО-3 вагонов гарантийный срок эксплуатации распространяется на работы, произведенные при ТО-3, и устанавливается до следующего ТО-3 или планового вида ремонта (что наступит раньше).
При отмене основных руководящих документов и введением взамен них новых ТО-3 осуществляется по вновь разработанным и утвержденным руководящим документам до момента внесения изменений, дополнений в Комплект технологической документации или его пересмотра.
При ТО-3 воздухораспределитель, электро-воздухораспределитель, переключательные клапаны и соединительные рукава с вагона необходимо снимать, взамен ставить новые или отремонтированные. Снятое оборудование направляют в автоконтрольный пункт
При ТО-3 применяются смазочные материалы в соответствии с требованиями, определенными документами заводов-изготовителей, нормативно-технической, технологической документацией, инструктивными указаниями, приказами, распоряжениями, факсограммами














