ДП 23.05.03.6ПСД_С_В6.00-ПЗ-Попцов М.Ю. -WORD 2003 (1197303), страница 4
Текст из файла (страница 4)
- стеллажами для хранения запасных частей,
- устройствами централизованного ограждения составов,
- парковой громкоговорящей связью.
Конструкции горловин должны обеспечивать максимальное число парал-лельных операций. Горловины позволяют одновременно отправлять и прини-мать поезда разных направлений. Расформировывать и формировать поезда.
В горловине со стороны локомотивного хозяйства обеспечивается одно-временная подача и уборка локомотива [5].
Для выполнения технологических операций с пассажирскими поездами имеются вокзал, приемоотправочные пути для пропуска, приема и отправления всех категорий пассажирских поездов, багажное отделение с тупиком для постановки багажных и других пассажирских вагонов. Пассажирские поезда принимаются на главные пути I и II и специальные пассажирские пути 3 и 4.
Безостановочный пропуск пассажирских и грузовых поездов осуществляется по главным путям I и II. Контрольно-техническое обслуживание вагонов в этом случае осуществляется сходу [5].
Технологическое обслуживание формируемых на станции участковых и сборных поездов осуществляется аналогично технологии работы ПТО-С.
В пределах гарантийных участков на промежуточных станциях соответствующих границам участков безостановочного проследования поездов, располагаются пункты опробования тормозов (ПОТ), схема размещения средств технического оснащения приведена на рисунке 1.6 [1].
Рисунок 1.6–Схема размещения средств технического оснащения ПОТ. Условные обозначения: 1 – прожектор; 2 – помещение ДСП; 3 – громкоговорящая связь; 4 – тупик ТОР; 5 – здание ПОТ.
На постах опробования тормозов контролируют техническое состояние вагонов и устраняют возникшие неисправности, угрожающие безопасности движения поездов. Главное их назначение – техническое обслуживание и опробование автотормозов перед затяжными спусками [1].
В состав бригады включают не менее двух осмотрщиков-ремонтников вагонов, которые кроме опробования автотормозов, контролируют техническое состояние вагонов и выполняют необходимый ремонт. На постах должны иметься запасные части и материалы [1].
Опробование автотормозов на ПОТ производится в соответствии с Инструкцией по эксплуатации тормозов подвижного состава железных дорог ЦТ-ЦВ-ЦЛ-ВНИИЖТ/277 [6].
В пределах участков безостановочного движения, (на промежуточных станциях, разъездах, обгонных пунктах) размещаются контрольные посты. КП для двустороннего контроля технического состояния вагонов во время движения организуются на участках с интенсивным движением поездов с целью выявления греющихся букс, ползунов и других неисправностей, угрожающих безопасности движения поездов [1].
Работники поста (расположенного при входе на станцию) несут сменное дежурство круглосуточно и для оперативной связи с локомотивом обеспечиваются радиостанциями. При обнаружении в составе греющихся букс, ползуна или других неисправностей осмотрщик вагонов обязан по радиостанции или через дежурного по станции вызвать машиниста локомотива и потребовать немедленной остановки поезда [1]. После остановки поезда неисправность, угрожающая безопасности движения, должна быть выявлена и приняты меры к устранению осмотрщиками вагонов контрольного поста [1].
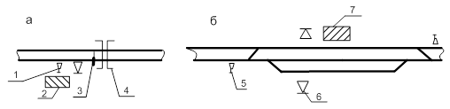
Контрольные посты должны быть оснащены прожекторными установками, стеллажами для хранения запасных частей и материалов, средствами для смены колесных пар и другими деталями. Кроме того, должны иметься помещения для обогрева и кратковременного отдыха рабочих. Схема размещения технологической оснастки контрольного поста приведена на рисунке 1.7.
Рисунок 1.7–Схема размещения средств технического оснащения КП: 1 – перегонное средство технического диагностирования, 2 – прожекторы, 3 – колонки двухсторонней парковой связи, 4 – помещение ДСП с помещением обогрева ремонтно-смотровой бригады, 5 – тупик для вагонов, требующих текущего отцепочного ремонта.
В дополнение к техническим средствам диагностирования предусматри-ваем систему двухстороннего контроля состояния вагонов в движущихся поездах. Для чего на отдельных станциях, перегонах и на переездах организу-
ем посты безопасности (ПБ), на которых осуществляется визуальный контроль над поездами со стороны работников всех служб [1]. Размещение технологической оснастки постов безопасности показано на рисунке 1.8.
Рисунок 1.8–Схема размещение средств технологической оснастки на ПБ. Условные обозначения: а – на железнодорожном переезде; б – на промежуточной станции; 1 – знак «пост безопасности» перед переездом; 2 – помещение дежурного по переезду; 3 – устройство обнаружения нижней негабаритности; 4 – переезд; 5 – знак «пост безопасности» перед станцией; 6 – прожекторные установки; 7 – помещение ДСП.
Организация работы на постах безопасности [1]:
- дежурный по станции обязан провожать поезд и следить за его состоянием;
- в случае обнаружения в поезде неисправностей, угрожающих безопасности движения, принять меры к его остановке и устранении неисправности;
- при невозможности устранения неисправности и обеспечения безопасного проследования вагона в поезде с установленной скоростью поезд доставляют до ближайшей станции, где вагон отцепляют от поезда.
Используя нормативы численности работников [4], произведем расчет численности рабочих на ПТО-У, ПОТ, КП и ПБ, в таблице 1.5.
Таблица 1.5–Расчет численности рабочих по направлениям для ПТО-У, ПОТ, КП и ПБ
| Направление железной дороги | Количество на направле-нии железной дороги | Штат в смену на: | Коэффи-циенты, учитыва-ющие (для ПТО-У и ПОТ) | Явочное | Явочное количество рабочих в 4,2 смены, Rяв на | Списочное количество рабочих на | Всего Rcп на направлении железной дороги | |||||||||||||||||
| ПТО-У | ПОТ | КП | ПБ | ПТО-У | ПОТ ПОТ | КП | ПБ | Длину состава, К1 | длину участка безостановочного движения К2 | ПТО-У | ПОТ | КП | ПТО-У | ПОТ | КП | ПТО-У | ПОТ | КП | ||||||
| нечетное направление | четное направление | нечетное | четное | нечетное | четное | нечетное | четное | |||||||||||||||||
| А – В | 1 | 3 | 35 | 11 | - | 7,4 | 5,8 | 3,545 | 0 | 0,69 | 1,15 | - | 5,87 | 4,6 | 2,81 | - - | 24,7 | 18,4 | 11,24 | - | 28 | 63 | 455 | 663 |
| - | 22,8 | - | 18 | - | 75,6 | - | 87 | |||||||||||||||||
| Б – В | 1 | 2 | 34 | 10 | - | 8,94 | 5,8 | 3,545 | 0 | 0,71 | 1,10 | - | 6,98 | 4,5 | 2,78 | - - | 29,3 | 18,1 | 11,07 | - | 34 | 42 | 442 | 604 |
| - | 22,8 | - | 17,8 | - | 74,8 | - | 86 | |||||||||||||||||
| В – Г | 1 | 2 | 26 | 8 | - | 7,4 | 4,8 | 2,93 | 0 | 0,68 | 1,10 | - | 5,54 | 3,59 | 2,19 | - - | 23,3 | 14,3 | 8,7 | - | 27 | 34 | 260 | 389 |
| - | 18,8 | - | 14,06 | - | 59 | - | 68 | |||||||||||||||||
Расчет программы ремонта и технология работы МПРВ и СПРВ представлен в разделе 1.7 и 1.8.
1.4 Расчет рабочего и наличного парков грузовых вагонов на заданной дороге
Рабочий парк грузовых вагонов рассчитывается по формуле [1]:
где
– количество вагонов, которые находятся в движении;
– количество вагонов, которые находятся под накоплением;












