Ответы (1115942), страница 6
Текст из файла (страница 6)
О
ценим точность рефрактометра Жамена: если длина кювет l = 5 см, длина волны используемого света = 500 нм, а регистрирующий прибор фиксирует сдвиг на m > 0.1 полосы, то
точность может быть повышена с помощью удлинения кювет или повышения чувствительности регистрирующего прибора.
Рефрактометрические исследования позволяют определять молекулярную рефракцию вещества, рассчитываемую по формуле
по формуле Лоренц-Лоренца
где NA – число поляризуемых частиц в единице объёма, – содержание компонента; М – молярная масса. Таким образом, молекулярная рефракция пропорциональна электронной поляризуемости, а поскольку электронная поляризуемость обладает свойством аддитивности, то и молекулярная рефракция обладает тем же свойством.
3) Спектральный аппарат Фабри-Перо:
С
пектральный аппарат Фабри-Перо состоит из двух параллельных стеклянных (или кварцевых) пластин, внутренние поверхности которых покрыты отражающим слоем с коэффициентом отражения r. Входящий луч будет многократно отражаться от поверхностей пластин, постепенно теряя энергию из-за частичного прохождения. Проходящие лучи интерферируют, образуя интерференционную картину, локализованную на бесконечности. Интерференционные максимумы для волн разных длин будут разделены пространственно, причём из-за большого количества лучей разрешающая способность окажется высокой.
Оценим разрешающую способность аппарата Фабри-Перо, используя формулу для дифракционной решётки (см. 16.2): R = mN. В данном случае N – число лучей, вышедших из аппарата; интенсивность N-го луча в r–2N раз меньше первого, поэтому
считая отношение интенсивностей равным 10–2, а r ~ 0.8 – 0.9, получим, что N ~ 10 – 100.
разность хода – это удвоенное расстояние между пластинами (~ 10 см), поэтому m ~ 105 – 106. Таким образом,
Свободную спектральную область можно также оценить по формуле для решётки:
то есть всего
поэтому данный прибор используют для исследования тонкой структуры спектров.
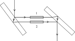
4) Представление о Фурье-спектроскопии:
Основной частью Фурье-спектрометра является интерферометр Майкельсона: луч попадает на стеклянную пластинку 1, частично отражающий свет на зеркало 2, а частично преломляющий его на зеркало 3; отражённые от зеркал лучи вновь попадают на пластинку 1, отражаются и попадают в регистрирующее устройство 4. Эти лучи имеют разные фазы и интерферируют. Пусть исходное монохроматическое излучение (частоты ) разделяется на две одинаковые по энергии составляющие:
Тогда регистрируемая интенсивность луча
(см. 11.1). Если в начальный момент установить зеркала 2 и 3 так, что = 0, то при поступательном перемещении одного из зеркал со скоростью v
где V – фазовая скорость волны (множитель 2 обусловлен тем, что разность хода в два раза больше перемещения зеркала). Поэтому регистрирующее устройство зафиксирует наличие переменной составляющей интенсивности
П
ри подаче на интерферометр волн нескольких частот их переменные составляющие интенсивности будут складываться, поэтому для непрерывного спектра может быть записан сигнал
– обратное преобразование Фурье исходного спектра. Спектральный состав падающего излучения может быть найден с помощью прямого преобразования Фурье:
Основное преимущество Фурье-спектрометров – возможность одновременной фиксации всего спектра целиком, а не отдельных частей спектра как в обычных спектральных приборах.
5) Представление о голографии:
Г
олография – способ фиксации объёмного изображения предмета, основанный на явлении интерференции волн. В этом методе фиксируются как амплитуд, частоты, так и разности фаз волн, рассеянных предметом. При съёмке голограммы фиксируют интерференционную картину между лучами источника (опорной волной) и лучами, рассеянными предметом (сигнальной волной). Голограмма представляет собой пластинку, покрытую фотоэмульсией; эмульсионный слой позволяет фиксировать минимумы и максимумы интерференционной картины. Для восстановления изображения, зафиксированного на голограмме, её облучают опорной волной, сохраняя ориентацию пластинки по отношению к пучку. Волны дифрагируют на зафиксированной интерференционной картине, образуя два изображения – мнимое (на месте объекта съёмки) и действительное.
Особенностью голографии является сохранение полного изображения любым участком голограммы; при восстановлении изображения по части исходной голограммы уменьшается разрешение, но воспроизводится весь снятый объект.
В
голографии для создания интерференционной картины требуются источники, излучение которых имеет достаточно большие время и длину когерентности. Поэтому для получения голограмм используют лазеры, однако в этом случае изображение получается одноцветным. Существуют два пути получения цветных голограмм: во-первых, использование лазеров с излучением разных цветом (например, красного, синего и зелёного). Во-вторых, съёмка и восстановление голограммы в белом цвете – в этом случае применяют толстослойные фотоэмульсии, поэтому интерференционные максимумы разных цветов попадают на разные глубины эмульсии. Образуется так называемая трёхмерная голограмма в отличие от двумерных голограмм, получаемых с помощью лазеров.
14. Дифракция волн. Принцип Гюйгенса-Френеля. Метод зон Френеля. Дифракция волн на круглом отверстии и круглой преграде. Амплитудная и фазовая зонные пластинки. Дифракция Фраунгофера на щели. Условия максимумов и минимумов дифракционной картины.
1) Метод зон Френеля:
Дифракция волн – явление огибания волнами препятствий; или, в более широком смысле, любое отклонение от законов геометрической оптики (см. 15.1).
Принцип Гюйгенса-Френеля: 1) любая точка на волновой поверхности может рассматриваться как самостоятельный источник сферических волн (их называют вторичными); 2) амплитуда колебаний в любой точке пространства может быть найдена как результат интерференции вторичных волн.
М
етод зон Френеля состоит в выделении на волновой поверхности таких областей, что разность хода лучей, излучаемых соседними зонами, составляет /2. Рассмотрим случай падения плоской волны на экран. Проведём окружность радиуса ОА с центром в точке А; В – точка пересечения этой окружности и прямой АС. AD – перпендикуляр к хорде BO. Тогда углы OAD и BOC равны, поэтому (
)
OC = rm, OA = l,
BC = а – разность хода лучей, приходящих в точку А из О и С (АВ = АО). Таким образом,
точка С – внешняя граница m-ой зоны Френеля, поэтому
Далее рассмотрим случай дифракции на том же экране волны, испускаемой источником, находящимся на прямой ОА. Разность хода, набираемая лучами, приходящими в точку С, до экрана может быть вычислена аналогично предыдущему случаю:
где L – расстояние от источника до экрана. Тогда
Площадь m-ой зоны Френеля
– не зависит от номера зоны, то есть все зоны Френеля имеют одинаковые площади.
Замечание: радиусы зоны Френеля найдены безотносительно к положению отверстия и зависят только от положения точки на экране; центр зон Френеля всегда находится «напротив» той точки, для которой эти зоны построены; соответственно, при перемещении из одной точки экрана в другую зоны Френеля сдвинутся в том же направлении.
2) Дифракция волн на круглом отверстии и круглой преграде:
При создании в экране круглого отверстия для точек, расположенных вдоль оси отверстия, «открыты» какие-то зоны Френеля. Интенсивность света в таких точках может быть найдена с помощью метода векторных диаграмм: разобъём каждую зону Френеля на малые кольца; тогда вектор Е от каждого из таких колец будет постепенно поворачиваться (увеличивается разность хода); «последний» вектор первой зоны Френеля будет иметь разность фаз
с первым, поэтому результирующая амплитуда от первой зоны Френеля составит 2Е, где Е – радиус окружности. При аналогичном построении для второй зоны Френеля «последний» вектор придёт в точку, лежащую чуть ниже начальной, поскольку интенсивность постепенно уменьшается (интенсивность излучения точечного источника пропорциональна
Результирующая интенсивность от первой и второй зон Френеля окажется близкой к нулю. Проводя такие же построения для следующих зон Френеля, можно получить, что при открытии нечётного числа зон Френеля в центре исследуемой картины будет наблюдаться светлое пятно, а при открытии чётного числа зон – тёмное. При открытии всех зон Френеля спираль постепенно сойдётся к своёму центру; результирующая амплитуда составит E, а интенсивность – I; при этом реализуется обычное прохождение света, то есть I = I0. Поэтому при открытии небольшого нечётного числа зон Френеля произойдёт усиление света в центре дифракционной картины – интенсивность составит 4I0.
Для точек, не лежащих на оси отверстия, будут открыты не вся первая, но зато части других зон Френеля; поэтому вокруг центрального пятна (светлого или тёмного) будут возникать кольца. При дифракции белого света картина станет цветной, поскольку радиусы зон Френеля различны для разных длин волн.
















