4_7_9 (1086096)
Текст из файла
4.7 ДИОДНЫЕ ПРЕОБРАЗОВАТЕЛИ ЧАСТОТЫ
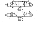
Два варианта схем диодных ПЧ – на рис.4.24. На СВЧ схемы следует рассматривать как электрические эквиваленты, так как в реальных конструкциях СВЧ резонансные цепи выполняются в виде отрезков полосковых (микрополосковых) или коаксиальных линий и волноводов. Напряжение (мощность) от гетеродина подается на тот же колебательный контур, на который подается и сигнал (рис. 4.24, а) в том случае, когда частота fГ, отличающаяся от fС на величину промежуточной частоты fПР, оказывается в полосе пропускания входного контура.
Если ослабление колебаний гетеродина во входном контуре слишком велико, то источники напряжений гетеродина и сигнала можно соединить в цепи диода последовательно – рис.4.24, б).
| Эквивалентная схема диода – рис.4.25, а): g – активная проводимость; C – емкость p-n-перехода; LS – индуктивность; rS – сопротивление соединительных проводников; CД – емкость держателя кристалла. На рис.4.25, б): C = Cpn + CД, где Cpn – емкость p-n-перехода. |
У диодов, предназначенных для преобразования частоты в диапазонах дециметровых и сантиметровых волн, LS и rS очень малы. Их можно не учитывать и пользоваться более простой схемой – рис. 4.25, б): C – емкость диода, равная сумме емкости p-n-перехода и емкости держателя кристалла CД.
При анализе диодного ПЧ, как и ранее, будем полагать UГ и UПР малыми по сравнению с UГ. Это допущение соответствует истинному положению, так как для преобразования частоты напряжение гетеродина должно быть большим, чтобы изменение тока захватывало значительный нелинейный участок характеристики диода.
Изменение проводимости g и емкости C диода (рис. 4.27) под действием напряжения гетеродина uГ = UГ cos(Гt) можно представить рядами Фурье:
g(t) =
+
coskГt; C(t) = C0 +
C0 coskГt. (4.33)
Полный ток в цепи диода в соответствии со схемой рис.4.26
i = ug + dqС /dt,
где u = uС + uПР; qС — заряд емкости.
Учитывая равенство qС = Cu , определим ток в цепи диода:
i = ug + Cdu/dt + udC/dt. (4.34)
Напряжения сигнала uС и промежуточной частоты uПР определяются выражениями (4.1) и (4.4). Фазовый угол ПР зависит от соотношения емкостной и резистивной составляющих проводимостей диода и от фазового угла проводимости нагрузки (на рис.4.24 – резонансный контур). Подставляя в (4.34) значения g(t) и C(t) из (4.33) и u = uС + uПР, заменяя произведения тригонометрических функций функциями суммарных и разностных углов и группируя слагаемые, можно получить выражение для тока диода.
Ток диода содержит составляющие различных частот. В случае не инвертирующего ПЧ ПР = kГ + C или ПР =C kГ, соответственно C= ПР ± kГ. Выделяя из суммы гармоник и комбинационных частот составляющие частот ПР, C, находим токи iПР, iС.
Комплексные амплитуды токов частот ПР, C
İпр = 0,5 ŪС (
+ jПРCk) + ŪПР (
+ jПРC0),
İC = ŪС (
+ jCC0) + 0,5 ŪПР (
+ jCCk). (4.36)
Для инвертирующего ПЧ ПР = kГ C и C = kГ ПР.
Некоторые компоненты тока в цепи диода в инвертирующем ПЧ имеют фазовые углы, знак которых противоположен знаку фазовых углов входных напряжений. Эти компоненты обусловлены сопряженными комплексными амплитудами напряжений
и
. Следовательно, у инвертирующего ПЧ уравнения комплексных амплитуд токов отличаются от (4.36):
İпр = 0,5 ŪС (
+ jПРCk) + ŪПР (
+ jПРC0),
İC = ŪС(
+ jCC0) + 0,5 ŪПР (
+ jCCk). (4.37)
Параметр СПР = 0,5 Сk называется преобразующей емкостью;
Gпр=0,5
— преобразующей проводимостью или крутизной преобразования.
Введем обозначения для комплексных параметров преобразования:
Y11 =
+ jCC0; Y22 =
+ jПРC0;
Y12 = Gпр + jCCПР; Y21 = Gпр + jПРCПР. (4.38)
С учетом этих обозначений уравнения прямого и обратного преобразований для не инвертирующего диодного ПЧ (4.36) примут вид
İС = Y11 ŪС + Y12 ŪПР, İПР = Y21 ŪС + Y22 ŪПР, (4.39)
а уравнения прямого и обратного преобразований для инвертирующего диодного ПЧ (4.37) примут вид
İС = Y11 ŪС + Y12 ŪПР, İПР = Y21 ŪС + Y22 ŪПР. (4.40)
По форме (4.39) и (4.40) совпадают с (4.26), (4.27) и (2.23). Согласно (4.39) и (4.40) преобразующий элемент (ПЭ) можно представить в виде линейного четырехполюсника с Y-параметрами (4.38). Общая эквивалентная схема ПЧ с источником сигнала и нагрузкой приведена на рис.4.28.
Уравнения источника сигнала с входным контуром и нагрузки с учетом знака определяются выражениями
İС = m1İГ Y1 ŪС ; İПР = YНЭ ŪПР, (4.41); (4.42)
где Y1 = Yк1 + m12YГ — суммарная проводимость входного контура и источника сигнала, пересчитанная к контуру в точках 1–1; Yк1 = Gк1 + jВк1 – собственная проводимость входного контура; YНЭ = Yк2 + m22YН – проводимость эквивалентной нагрузки ПЭ в точках 2–2;
Yк2 = Gк2 + jВк2 – собственная проводимость выходного контура; İГ = ЕГYГ в соответствии с теоремой об эквивалентном генераторе; ЕГ – ЭДС источника сигнала.
Коэффициент передачи напряжения ПЭ КП = ŪПР / ŪС найдем, подставив в первое выражение (4.39) уравнение нагрузки (4.42), для не инвертирующего ПЧ
КП = Y21 /YЭ2 ; (4.44)
для инвертирующего ПЧ
КП = Y21 /YЭ2 . (4.45)
Здесь YЭ2 = YНЭ + Y22 — эквивалентная проводимость выходного контура.
Используя вторые уравнения (4.39) и (4.40), можно определить входную проводимость в точках 1–1 преобразующего элемента ПЭ – рис. 4.28. С учетом (4.44) и (4.45) для неинвертирующего ПЧ
YВХ =İС / ŪС С = Y11 + Y12 ŪПР / ŪС = Y11 Y12 Y21/ YЭ2; (4.46)
для инвертирующего ПЧ
YВХ = Y11 + Y12 Y21/ YЭ2. (4.47)
Выходную проводимость ПЭ в точках 2–2 найдем из первого уравнения (4.39):
YВЫХ =İПР / ŪПР = Y22 + Y21 ŪС / ŪПР. (4.48)
Здесь ŪС / ŪПР = КОБР – коэффициент передачи ПЭ при обратном преобразовании. Из (4.39) и (4.41) получим
КОБР = ŪС / ŪПР = Y12 / YЭ1, (4.50)
где YЭ1= Y1 + Y11 – эквивалентная проводимость входного контура. При рассмотрении обратного преобразования полагаем ЕГ = 0.
Подставляя (4.50) в (4.48), получаем для не инвертирующего ПЧ
YВЫХ = Y22 Y12 Y21/ YЭ1. (4.51)
Аналогично из (4.40) для инвертирующего ПЧ
YВЫХ = Y22 +Y12 Y21/ YЭ1. (4.52)
Общий или сквозной коэффициент передачи напряжения диодного ПЧ на рис.9.28 найдем как K* = ŪН / ЕГ, где ŪН = m2 ŪПР. Для определения ŪПР надо решить систему уравнений (4.39) или (4.40) с учетом (4.41) и (4.42). Воспользуемся выражениями (4.43) и (4.49): YЭ1 ŪС + Y12 ŪПР = m1ЕГYГ;
Y21 ŪС + YЭ2 ŪПР = 0. (4.53)
Отсюда ŪПР = – m1ЕГYГY21/ (YЭ1 YЭ2 – Y12 Y21).
Общий коэффициент передачи напряжения
K* = m2 ŪПР / ЕГ = – m1m2YГY21/ (YЭ1 YЭ2 – Y12 Y21). (4.54)
Это общее выражение позволяет рассчитать АЧХ и ФЧХ диодного ПЧ. Диод преобразователя частоты используется в одном из двух режимов:
1) напряжение гетеродина изменяется преимущественно в области прямого тока – резистивный режим; 2) используется закрытый переход диода – емкостный режим.
В резистивном режиме применяется диод с малой баръерной емкостью – главную роль играет нелинейное активное сопротивление (нелинейная «резистивность») диода. Такой преобразователь частоты называется резистивным.
В емкостном режиме применяется диод со сравнительно большой нелинейной емкостью – варикап. При этом резистивность проявляется слабо. Такой преобразователь частоты называется емкостным.
4.7.1 Резистивный режим диода преобразователя частоты соответствует диапазону напряжений гетеродина преимущественно в области прямого тока. В таком преобразователе применяется диод с малой емкостью. Главную роль в этом режиме диода играет нелинейная зависимость тока диода от напряжения – нелинейная «резистивность». Применяя общую теорию к случаю резистивного режима и пренебрегая емкостями, – из (4.38) получаем параметры Y11 = Y22 = G(0), Y12 = Y21 = Gпр. Учитывая пренебрежимо малое влияние емкостного сопротивления в (4.54), найдем модуль резонансного коэффициента передачи напряжения:
K0*= – m1m2 GпрGГ/ (GЭ1GЭ2 – Gпр2), (4.55)
где GЭ1 = Gк1 + G(0) + m12 GГ; GЭ2 = Gк2 + G(0) + m22GН – эквивалентные резонансные проводимости соответственно входного и выходного контуров.
Характеристики
Тип файла документ
Документы такого типа открываются такими программами, как Microsoft Office Word на компьютерах Windows, Apple Pages на компьютерах Mac, Open Office - бесплатная альтернатива на различных платформах, в том числе Linux. Наиболее простым и современным решением будут Google документы, так как открываются онлайн без скачивания прямо в браузере на любой платформе. Существуют российские качественные аналоги, например от Яндекса.
Будьте внимательны на мобильных устройствах, так как там используются упрощённый функционал даже в официальном приложении от Microsoft, поэтому для просмотра скачивайте PDF-версию. А если нужно редактировать файл, то используйте оригинальный файл.
Файлы такого типа обычно разбиты на страницы, а текст может быть форматированным (жирный, курсив, выбор шрифта, таблицы и т.п.), а также в него можно добавлять изображения. Формат идеально подходит для рефератов, докладов и РПЗ курсовых проектов, которые необходимо распечатать. Кстати перед печатью также сохраняйте файл в PDF, так как принтер может начудить со шрифтами.
















