Лекции ОВТ (1074277), страница 8
Текст из файла (страница 8)
где Р12-1 -предельное давление , достигаемоеадсорбционным насосом при работе на изотермах 2-1.
Рис.36
Из представленной на рис. 36 системы изотерм следует, что переход на более высокую температуру регенерации (например, Т3 =500 К вместо Т2 = 293 К) понижает достигаемое предельное давление. Следует помнить, что эта температура ограничена термостойкостью сорбента.
Другим эффективным путем снижения предельного давления является снижение давления при регенерации, т.е. регенерация адсорбционного насоса в форвакууме, как это показано на рис. 35. Насос 6 здесь используется как форвакуумный. При таком методе регенерации, исходное количество газа на сорбате резко уменьшается (на рис. 36 это точка “f ” вместо точки “a” для изотермы Т3), что дает возможность получить гораздо лучший предельный вакуум (точка “g” вместо точки “в” на изотерме Т1).
Значения коэффициентов Генри, удобные для практического использования, приведены в лекции №14.
Лекция №16
Геттерно – ионные насосы
Принцип работы геттерно – ионных насосов основан на сорбции ионизированных молекул газа сорбентами (геттерами), использующими принцип хемосорбции. При этом для повышения эффективности процесса поглощения ионизированные молекулы газа (ионы) с помощью электрического поля принудительно направляются к сорбирующей поверхности и с большой силой “вбиваются” в нее.
В качестве геттера используется титан (иногда в сплаве с цирконием) вследствие высокой энергии сорбции, позволяющей прочно удерживать сорбированные молекулы. На практике используются три вида геттерно – ионных насосов, различающиеся способом увеличения траектории электронов, и способом испарения титана:
-
магниторазрядные (НОРД – насос орбитронный разрядный диодный )
-
геттерно – ионные насосы (ГИН)
-
сорбционные титановые охлаждаемые насосы (СТОН)
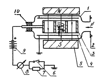
Рис.37. Схема конструкции магниторазрядного насоса
Рассмотрим схему магниторазрядного насоса , где:
1 – корпус;
2 – фланец для крепления к вакуумной системе (камере);
3 - ячеистый анод;
4 – катод (два катода по обе стороны анода);
5 – магнит, образующий поперечное магнитное поле;
6 – переключатель для работы в среднем, либо в высоком вакууме;
7 – дополнительное сопротивление для работы в среднем вакууме;
8 – амперметр;
9 – высоковольтный источник;
10 - токоввод
Насос работает следующим образом:
Первичные электроны, образовавшиеся в центре ячеек ячеистого анода 3 (например, вследствие космического излучения) ионизируют молекулы находящегося в объеме ячеек газа. Образовавшиеся вторичные электроны устремляются к стенкам ячеек положительно заряженного анода.Поперечное магнитное поле превращает их траекторию в архимедову спираль, лежащую в плоскости нормальной к магнитным силовым линиям. Увеличение траектории электронов резко повышает вероятность ионизации остальных молекул газа. Образовавшиеся ионы, летят к титановым катодам и бомбордируя их, распыляют титан на стенки ячеек анода. Таким образом, катоды поглощают газ в виде ионов, а аноды – в виде нейтральных молекул (поглощая их свежераспыленной титановой пленкой).
Суммарная геометрическая быстрота действия насоса может быть ориентировочно оценена:
SГ = F*V1
где F - площадь поверхностей катодов и анода, покрытая свежей титановой
пленкой и поглощающая газ, м2;
V1 - объем газа, ударяющегося о единицу поверхности в единицу времени,
м*с-1
Поскольку реальная быстрота откачки определяется эффективностью ионизации и сорбции молекул, то она в значительной степени зависит от электронной оболочки молекул и минимальна для благородных газов, имеющих полностью заполненную внешнюю электронную оболочку, как это показано в таблице.
Таблица
| Газ | H2 | N2 | CO2 | O2 | He | Ar |
| Относительная быстрота откачки | 270٪ | 100٪ | 100٪ | 57٪ | 10٪ | 1٪ |
Ярко выраженное свойство геттерных насосов откачивать разные газы с разной скоростью (селективность откачки) может быть использовано для целей течеискания. Так, обдувая негерметичную вакуумную систему аргоном или гелием при попадании струи пробного газа на место течи оператор наблюдает увеличение давления, т.к. эти газы медленнее откачиваются (медленнее, чем N2 и O2 , составляющие основу атмосферы).
Геттерно – ионный насос работает в широком диапазоне давлений 10-1 –10-7 Па, при этом его рабочая характеристика зависимости разрядного тока I от логарифма давления P, рис. 38, имеет два линейных участка.
Рис.38
В высоком вакууме (при давлении Р = 10-5 – 10-1 Па) разрядный ток прямо пропорционален давлению. При давлении больше 10-1 Па увеличение разрядного тока вызывает электрический пробой и повреждение электродов (см. пунктирующую линию). Во избежание этого, при Р > 10-1 Па выключатель 6, рис. 37, размыкается и сопротивление 7 начинает ограничивать разрядный ток, который начинает падать с увеличением давления (из-за нарастающего процесса рекомбинации ионов).
Максимальное (стартовое) рабочее давление насоса составляет 1 Па.
Насос может быть прогрет до температуры 450 0С без магнитов или до 150 0С в сборе с магнитами.
Лекция № 17
Криогенные насосы (крионасосы)
Крионасосами называются насосы использующие очень низкие температуры
(Т = 4…20К) для удаления остаточных газов из вакуумного объема. Откачка происходит за счет конденсации молекул откачиваемого газа на поверхностях криопанелей, охлаждаемых до криогенных температур.
Охлаждаемые жидким азотом маслоотражающие колпачки диффузионных насосов, поз. 1, рис.29 или патроны с адсорбентом, поз. 2, рис.34 у адсорбционных насосов в известном смысле являются крионасосами, но в общем понимании крионасосами называются такие насосы, которые могут конденсировать азот и кислород, что требует температур более низких, чем 77 К, обеспечиваемых жидким азотом.
Обычно криогенные насосы используют жидкий гелий (температура кипения в атмосфере 4,2 К) или реже, жидкий водород ( температура кипения 20,3 К). Для того, чтобы минимизировать потери (испарение) используемых жидких хладоагентов
(H2 и Не) и не допустить нежелательного повышения температуры криопанелей с конденсированным на них газом в крионасосах используются экраны, охлаждаемые жидким азотом и уменьшающие тепловую радиацию с деталей корпуса нагретых до комнатной температуры (300 К). Защитные экраны проектируются таким образом, чтобы криопанель не была “видна” со стороны нагретых до комнатной температуры деталей.
Схема конструкции “заливного” крионасоса (т.е. насоса в который хладоаген – жидкий гелий или водород заливается снаружи) показана на рис. 39а.
Рис.39а
Рабочая криопанель 7 представляет собой объем, заливаемый рабочим хладогнтом. Эта панель окружена охлажаемым жидким азотом (77 К) экранами 2. Емкость 1, охлаждаемая жидким азотом, не дает нагреваться до комнатной температуры крепежной горловине 8 криопанелями. Для уменьшения теплового потока, подводимого по материалу горловины, она выполнена в виде тонкостенного сильфона поз. 8 из нержавеющей стали, обладающей малой теплопроводностью Такая конструкция горловины уменьшает подвод тепла от корпуса к рабочей криопанели и уменьшает расход жидкого гелия. Экраны 2 служат для той же цели, уменьшают теплоподвод, осуществляемый за счет тепловой радиации от корпуса насоса (нагретого до комнатной температуры 293 К).В тоже время экраны конструируются таким образом, чтобы не уменьшать быстроту откачки насоса (криопанели).
В принципе, криогенный насос может работать начиная с атмосферного давления, но при этом большое количество хладоагента (жидкого гелия или водорода) надо затратить на конденсацию газов, которые можно было бы откачать другими типами насосов с минимальными затратами средств. Поэтому перед запуском (заливкой) крионасоса вакуумируемый объем откачивается системой предварительной откачки, которая обычно включает диффузионный парамаслянный насос, поз.5, (т.к. пары масла хорошо вымораживаются ловушкой поз.4), механический насос, поз.6 и присоединяется к корпусу криогенного насоса через затвор, поз.3 . Эта система создает предварительное разрешение порядка 10-2-10-3 Па.
Геометрическая скорость откачки насоса определяется площадью поверхности F, конденсирующей молекулы газов.
Sг=V1*F, м3* с-1
где V1-обьем газа, ударяющегося о единицу поверхности в единицу времени,
м*с-1
Реальная быстрота откачки данного (i–ого) газа определяется коэффициентом прилипания этого газа α (α < 1, т.к. большая часть ударившихся о криопанель молекул не успевает резко изменить своего кинетическую энергию) и с учетом обратного давления, определяемого давлением насыщающих паров РН данного газа при температуре криопанели может быть выражена:
где Рi - парциональное давление данного (откачиваемого) газа
Т - температура газа (может быть принята равной температуре экранов
Из представленного выражения следует, что газ будет откачиваться (конденсироваться) только в том случае, если его порциональное давление Рi больше давления его насыщающих паров при температуре криопанели.
На рис. 39б представлены зависимости давления насыщающих паров от температуры ( т.е. элементы тройной диаграммы, см. рис. 7) для основных атмосферных газов.
















