Лекции ОВТ (1074277), страница 5
Текст из файла (страница 5)
Схема вращательного пластинчато-статорного насоса показана на рис. 19, где
1 - впускной патрубок,
3 - пластины,
4 - ротор,
5 - выпускной патрубок,
6 – выпускной (шариковый клапан),
7 – масло,
8 – пружина между пластинами (не
обязательно).
Рабочие зоны насоса :
I – область всасывания,
II – область переноса,
III – область сжатия.
Рис.19
Насос состоит из стального ротора 4, закрепленного эксцентрично внутри стального корпуса 2. Две пластины 3 скользят внутри ротора 4 и плотно прижимаются к внутренним стенкам корпуса 2 с помощью пружины 8 или центробежной силой. При вращении ротора с пластинами откачиваемый газ по впускному патрубку 1 входит в область всасывания I, которая расширяется. Затем газ захватывается следующей пластиной, образуя область переноса II, переносится к впускному патрубку 5, образуя область сжатия, где сжимается до атмосферного давления и выбрасывается из насоса через клапан 6.
“Геометрическая” быстрота откачки (измеряемая на входном отверстии статора) составит:
Sг=2V1*n/60 [м3*с-1]
где V1- максимальный объем всасывающей области, м3
n – частота вращения ротора, с-1;
D – диаметр статора, м;
d – диаметр ротора, м ;
W – ширина ротора (статора), м.
Максимальная быстрота действия Smax меньше геометрической из-за влияния впускного патрубка, ограничивающего пропускную способность
где U – проводимость впускного патрубка 1.
Реальная быстрота откачки меньше максимальной геометрической из-за обратного потока газов и натекания. Суммарный поток газа, проходящий через насос:
Q = Q пр – Q обр
Q пр , Q обр – прямой и обратный потоки газа в насосе.
Из уравнения стационарного потока (существующего в насосе ):
Q = Q пр – Q обр = SmaxP - Qобр
где P - впускное давление насоса, Па
В соответствии с определением понятия предельный вакуум PI мы можем записать:
если P = PI , то Q = 0, откуда Qпр=Qобр
Q = 0 = SmaxPI – Qобр, откуда Qобр = SmaxPI
тогда SнP = Smax P - SmaxPI
Если мы разделим все выражение на Р, то получим
Если выразить S max через геометрическую быстроту действия насоса, то получим:
На рис. 20 представлена зависимость быстроты действия насоса ВН-494 от давления.
Видно, что только при атмосферном давлении Sн приближается к Sг.
Рис. 20 Быстрота откачки как функция впускного давления для вращательного масляного насоса ВН-494.
Лекция №10
Жидкосно–кольцевые вакуумные насосы
Жидкосно-кольцевые вакуумные насосы являются видом механических вакуумных насосов. Отличительной особенностью этих насосов является статор, сформированный из жидкости. Рабочая жидкость вращается в корпусе насоса с помощью крыльчатого ротора (импеллера) и образует статор, герметично уплотняющий лопатки ротора. Образующаяся между статором и ротором серповидная полость (разделенная на части лопатками ) используется для перемещения откачиваемого газа.
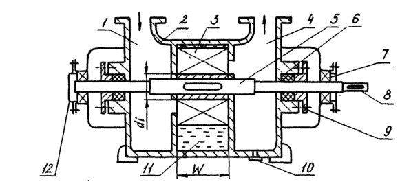
Схема одноступенчатого насоса показана на рис. 21 ,
Рис.21а
где:
2 - корпус,
3 - импеллер,
4 - выпускной патрубок,
5 - вал,
6- уплотнения (набор уплотнитель-
ных манжет),
7 - шарикоподшипники ,
8 - шпонка,
9 - нажимная втулка,
10 - сливная пробка,
11- рабочая (уплотняющая)
жидкость,
12 - заглушка подшипников,
13 - шпонка импеллера, Рис.21б
14 - область выхлопа,
15 - область всасывания,
Di - внешний диаметр импеллера,
di - внутренний диаметр импеллера – диаметр закрепления лопаток (ширина
ротора).
Как видно из схемы ось вращения импеллера эксцентрично закреплена относительно расточки корпуса насоса и вращающееся лопатки, погруженные концами в кольцо жидкости, образуют ряд последовательно движущихся (поворачивающихся) карманов, которые в области впускного патрубка увеличиваются в объеме, всасывая откачиваемый газ, а в области выпускного патрубка уменьшаются в объеме, сжимая газ до атмосферного давления и выбрасывая его в выпускной патрубок. Геометрическая быстрота откачки насоса:
S = VP*m*n [м3*с-1]
где Vp – максимальный объем кармана, образующегося в области всасывания, м3;
m –число лопаток импеллера (число карманов);
n – частота вращения импеллера, с-1
Ориентировочно можно написать:
где h – глубина погружения лопаток в жидкость в области всасывания, м.
В качестве рабочей жидкости насоса обычно используют воду (при температуре около 15 0С ) . Увеличение температуры жидкости ведет к увеличению давления и насыщающих паров и ухудшению вакуума (увеличению давления) и наоборот, снижение температуры улучшает вакуум, который может достигать 4*102 Па. Кроме воды могут использоваться этанол, фенол, метанол, эфиры.
На рис. 22 даны зависимости давления насыщающих паров от температуры для некоторых рабочих жидкостей.
Рис.22
Насос используется для откачки газов и паров в различных отраслях, начиная с откачки газов и паров из шахт и кончая созданием безмасляного низкого вакуума в электронной пищевой промышленности, сельском хозяйстве.
Преимущества насоса: безмасляный вакуум, большая (до 100 м3*с-1) скорость откачки недостижимая другими типами насосов. Недостаток: возможность получения только низкого вакуума (ограниченного давлением насыщающих паров воды (~ 2.5*103Па) или другой рабочей жидкости (метанол, этанол).
Лекция №11
Двухроторные насосы (насосы Рутса)
Принцип работы насосов Рутса, предложенный в 1857 г впервые был успешно использован в доменных воздуходувках, сейчас такие насосы успешно используются в вакуумной технике в качестве механических бустерных насосов ( т.е. вспомогательных насосов, улучшающих работу последовательно соединенных с ними высоковакуумных диффузионных) насосов.
Рис.25
1 - впускной патрубок (фланец),
2 - корпус,
3 – роторы, выполненные в форме “восьмерок”,
4 - вал,
5 - выпускной патрубок (фланец)
Насос использует два встречно-вращающихся ротора, выполненных в форме восьмерок . Принцип работы насоса (рис. 25) основан на том, что роторы 3 при вращении захватывают карманом, образованным боковой поверхностью ротора и статора, порцию откачиваемого газа из области, находящейся у впускного патрубка, и переносят его в область выхлопного патрубка. Обязательным требованием к конструкции роторов является чрезвычайно высокая точность их изготовления. При их встречном вращении величина зазора δ между поверхностями роторов не должна превышать 0,05 мм, при этом касание роторов недопустимо, т.к. приводит к их разогреву и заклиниванию. Увеличение зазора δ приводит к увеличению обратного потока газа и к снижению эффективности работы.
Обычно двухроторный насос устанавливают между механическим и диффузионным насосами. Двухроторный насос может работать с выхлопом в атмосферу, но это не рекомендуется из-за большого обратного потока газов через зазоры δ , а также из-за нагрева насоса, приводящего его к заклиниванию.
Геометрическая быстрота действия насоса:
SГ = 2πRWn0.5/60 [м3*с-1]
где R– радиус ротора , м
W - ширина ротора (статора), м
2 – количество роторов
0,5 – коэффициент, учитывающий относительный объем карманов ,
образуемых ротором и статором
n – частота вращения роторов, с-1
(Частота вращения роторов составляет 1500 – 4000 об/мин или n
25-70 с-1)
Суммарный поток газа, откачиваемый насосом:
Q = Q пр – Q обр [ м3*Па/с]
где Q пр ,Q обр – прямой и обратный потоки, соответственно.
Это выражение можно записать более подробно:
где P,Pобр – впускное и обратное давление насоса соответственно, Па
Uδ – суммарная проводимость зазоров (между роторами и между корпусом
и роторами), которые определяют обратный поток, м3*с-1
Разделив левую и правую части уравнения на Р получаем значение быстроты откачки:
[м3*с-1]
График зависимости быстроты действия двухроторного насоса от впускного давления показан на рис. 26. Из этого графика видно, что наибольшей быстротой действия насос обладает в области 102 –10-2 тор (104-1Па), т.е. в той области где малоэффективными являются как механический (масляный), так и диффузионный насосы, что объясняет эффективность создания вакуумных агрегатов, состоящих из трех последовательно соединенных насосов: диффузионного, двухроторного, вращательного механического.
Рис.26
Типовые насосы: ДВН – 500 (Россия) быстрота действия SH = 500 л*с-1
ЕН – 500 (Англия “Эдвардс”) SH = 500 л*с-1
Лекция №12
Диффузионные насосы
Диффузионный насос был одновременно изобретен в 1914 г в трех странах: в России, профессором Санкт-Петербургского Университета Боровиком, в Германии – инженером Геде и во Франции – Ленгмюром, поскольку к этому времени в мире появилась острая потребность в дешевом средстве получения высокого вакуума, необходимого для производства осветительных и приемно-усилительных ламп.
Принцип работы диффузионного насоса заключается в откачке молекул газа струей пара, переносящей откачиваемые молекулы из области впуска к выпускному патрубку. На рис. 27 показан принцип работы насоса с “прямым” диффузионным соплом. Главной частью такого насоса является расположенное в центре охлаждаемого водой или воздухом корпуса прямоточное расширяющееся сопло (сопло Ловаля).Струя паров масла или ртути выходящая из сопла со сверхзвуковой скоростью образует расходящийся конус и касаясь холодного корпуса, конденсируется на нем.
Рис.27
Молекулы откачиваемого газа, находящиеся в области впускного патрубка, попадая в струю пара переносятся этой струей к области выпускного патрубка насоса (к форвакуумной области насоса). Прямое сопло образует струю высокой плотности , в которую откачиваемым молекулам газа трудно проникнуть (диффундировать), что снижает скорость откачки (т.к. большая часть молекул газа отражается от струи обратно).
















