Лекции ОВТ (1074277), страница 10
Текст из файла (страница 10)
S1 ,S2 - площади трубки Бурдона, видимые с наружной и внутренней стороны
архимедовой спирали, соответственно, м2
Уравнения равновесия для упругой трубки Бурдона, нагруженной разностью давлений (Pe - Pm) может быть представлено:
F1 = F2 + cx
где с – коэффициент, характеризующий жесткость (упругость системы)
х – перемещение конца трубки Бурдона (шарнира 6)
тогда (Pe – Pm )S1 = (Pe – Pm )S2 + cx
откуда выражение для измеряемого давления:
Из полученного выражения видно, что величина измеряемого манометром давления будет зависит от атмосферного давления, что является существенным недостатком, при измерении давления в диапазоне малых давлений (1 – 10 тор).
Этого недостатка лишен мембранный манометр (типа Баратрон), в котором упругий элемент (мембрана) со стороны избыточного давления нагружен не естественным атмосферным , а строго постоянным “опорным” давлением. Это позволяет расширить диапазон измеряемых давлений до 10-1 Па.
Компрессионные манометры
Принцип работы манометра заключается в том, что в колбой манометра забирается известный постоянный объем газа, который сжимается в известное число раз, а затем измеряется давление уменьшенной в объеме (сжатой) порции взятого газа. Используется известное соотношение закона Бойля – Мариотта
PmV1 = P2V2
где Pm - измеряемое давление в системе;
V1 - объем (колбы) забираемой порции газа;
P2 - измеряемое манометром давление;
V2 - объем порции газа после сжатия в манометре
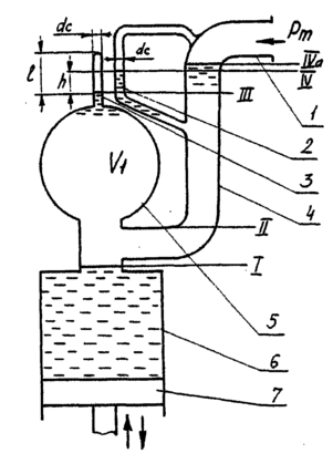
Для сжатия порции газа в стеклянном манометре используется ртуть не смачивающая стенки манометра. Манометр, рис. 42,состоит из следующих составных частей:
1 – трубка для присоединения к вакуумной (исследуемой) системе;
2 – “сравнительный” капилляр;
3 – ’’измерительный’’капилляр;
4 – соединительная трубка;
5 – колба (объем V1) для забора порции газа;
6 – резервуар с рабочей жидкостью (ртутью)
Исходное положение уровня ртути соответствует метке I, при этом колба 5 оказывается наполненной газом, давление которого (Pm) мы должны измерить. Затем мы плавно поднимаем уровень ртути. Объем V1 колбы 5 оказывается отрезанным от измерительной системы, когда уровень ртути достигает отметки II. Продолжая поднимать уровень устанавливаем его на отметке III (в “измерительном” капилляре), при этом степень сжатия газа n:
n = V1/V2
где dC – диаметр капилляра, м
Рис.42
– расстояние от уровня III до вершины измерительного капилляра, м
В сравнительном капилляре уровень ртути (уровень IV) выше, т.к на него не действует давление сжатой порции газа, а действует лишь давление Pm , которым в грубых расчетах можно пренебречь. В этом случае можно выразить давление сжатой порции газа:
P2
тор (мм рт. ст ) = h*133 Па
где h - разность уровней ртути в измерительном и сравнительном
капилляллярах
Используя исходное уровнение Бойля – Мариотта
откуда выражаем измеряемое давление:
где с1 - постоянная компрессионного манометра при измерении методом
линейной шкалы
На практике чаще используют другой метод измерения – метод “квадратичной шкалы”. При этом методе поднимая уровень ртути следят не за измерительным, а за сравнительным капилляром, поднимая в нем уровень ртути точно до вершины измерительного капилляра. Тогда получается, что l = h [м].
Выражение для расчета измеряемого давления:
где с2 - постоянная манометра при измерении методом квадратичной шкалы
Огромным преимуществом компрессионного манометра перед другими типами высоковакуумных манометров является возможность прямым методом измерять давление газов в диапазоне 100 – 10-3 Па, поэтому его используют в качестве эталона при градуировке других типов манометров (косвенного измерения).
Главным недостатком является невозможность правильного измерения давления конденсирующихся компонентов газовых смесей, т. к они могут конденсироваться при сжатии.
Недостатком является также длительность операции измерения и невозможность ее электронного мониторинга.
Лекция №20
Тепловые манометры
Принцип действия тепловых манометров основан на зависимости теплопередачи через разряженный газ от давления.
Теплопередача осуществляется от нагреваемой в вакууме тонкой нити к стенкам баллона датчика (рис. 43)
-
трубка для присоединения к вакуум системе
-
тонкая нагреваемая нить
-
держатель нити
-
газ
-
баллон датчика
Рис.43
Уравнение теплового баланса такого манометра можно представить в виде
где IH – сила электрического тока, проходящего через нагреваемую нить, А;
RH - сопротивление нити при температуре
, Ом;
TH - температура нити, град;
- температурный коэффициент сопротивления материала нити, 1/град;
QK - тепло, отводимое газом за счет конвекции, Вт;
QТ - тепло, отводимое газом за счет теплопроводности, Вт;
QИ - тепло, отводимое излучением, Вт;
QM - тепло, отводимое материалом нити за счет теплопроводности, Вт
Потери QИ и QМ не зависят от давления. Манометр должен быть сконструирован так, чтобы в диапазоне работы изменение QK и QT в зависимости от давления составляло заметную долю от общих тепловых потерь нити, и, следовательно, его можно было измерить.
Большинство выпускаемых типов вакуумметров позволяет измерять вакуум в датчике на основе зависимости теплопроводности газа от давления
где S - площадь поверхности нити, м2;
P - давление в колбе датчика, Па;
K - коэффициент теплопроводности газа в высоком вакууме
В этом случае (без учета конвекции QK) уравнение теплового баланса
где l - длина нити;
r - радиус нити;
σ - коэффициент Стефана – Больцмана;
b - коэффициент теплопроводности по сечению нити
Изменение теплопроводности QT (и суммарного теплоотвода ) от нагреваемой нити вызывает изменение ее температуры, по которому можно косвенно судить об изменение давления. Таким образом, тепловые манометры являются манометрами косвенного типа.
Чувствительность теплового манометра зависит от рода газа, заполняющего баллон датчика. Обычно прибор градуируется по воздуху, а пересчет на давление другого газа РГ производят по формуле
РГ = qГ *Р
Значения qГ для тепловых манометров:
| Газ | Воздух | Н2 | Не | Ne | СН4 | Ar | СО2 |
| qГ | 1,0 | 0,67 | 1,12 | 1,31 | 0,61 | 1,65 | 0,94 |
Нижний предел измеряемых тепловым манометром давлений зависит от соотношения постоянных составляющих QИ, QМ уравнения, не зависящих от давления и тепла , отводимого за счет теплопроводности газа. При QT
QИ +QM температура нити практически становится постоянной и перестает зависеть от давления.
Для понижения предельного измеряемого давления необходимо ослабить побочные процессы теплоотвода. Для уменьшения QМ нить должна иметь большое сопротивление тепловому потоку – быть более тонкой. Для уменьшения QИ нужно снизить температуру нити ТH , т.к по закону Стефана – Больцмана QИ
. Однако уменьшение ΔТ снижает чувствительность. Обычно (для датчиков ЛТ-2, ЛТ-4)
ТН =300…400 ОС.
Верхний предел измеряемых давлений определяется двумя факторами:
-
при переходе от среднего к низкому вакууму изменяется характер теплопроводности газа QT , которая перестает зависеть от давления. Зависящим от давления фактором остается лишь конвективный теплоотвод
где а – коэффициент, определяемый свойствами и температурой газа, формой и поверхностью нагревателя , а также положением датчика.
-
при высоком давлении большая теплопроводность газа сильно снижает температуру нити ТН, уменьшая разность температур ТН - Тδ и приводит к потери чувствительности.
Как следует из молекулярно-кинетической теории, теплопроводность газа QT при низком вакууме не зависит от давления. Поэтому при соотношении
L/d <<1 (точнее L/d < 1/200),
где L - длина свободного пробега молекул;
d - размер колбы датчика (d = 2R)
тепловой манометр принципиально не позволяет использовать зависимость (*) для измерения давления.
При использовании конвективного теплоотвода по уравнению (1), при более высокой температуре нити накала, возможно измерение давления тепловыми манометрами в диапазоне 103…105 Па ( с большой погрешностью).
По способу измерения тепловые манометров делятся на два типа: манометры сопротивления и термопарные.
В манометрах сопротивления (манометр Пирани) используется зависимость сопротивления нити от температуры. Нить манометра выполняет две функции: источник тепла и измерителя температуры.
Промышленность выпускает вакууметр сопротивления ВСБ-1 с датчиком
МТ-6.
















