Лекции ОВТ (1074277), страница 12
Текст из файла (страница 12)
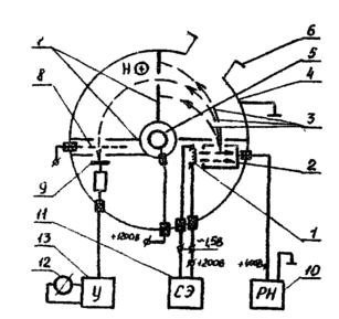
Камера статического масс-спектрометра состоит из корпуса 4, выполненного из нержавеющей стали IXI8H10T, внутри которого помещены: катод 1, ионизатор 2, диафрагмы 7 и коллектор ионов 9, высокоомное сопротивление и магнитный электрозарядный манометр 5. Камера помещается между полюсами магнитов в зазоре магнитной цепи, создающей магнитное поле 1,0*10+4…1,1*104 А*м-1. Магнитная цепь состоит из двух магнитов, отлитых из сплава Магнико-627, и арматуры из железа Армко.
В камере у коробки ионизатора 2 укреплен катод 1, накаливаемый переменным током и эмитирующий поток электронов. Для того чтобы направить поток электронов к коробке ионизатора 2, на него подается более положительный потенциал (+200 В) относительно катода. Коробка ионизатора имеет два прямоугольных отверстия в виде щелей. Через отверстие со стороны катода в коробку попадают электроны, эмитируемые катодом, а через другое отверстие выходят ионы, образовавшиеся при столкновении электронов с молекулами газа. Ионы ускоряются электрическим полем, образованным между ионизатором и входной диафрагмой. Разгоняющее напряжение составляет 300…400 В. Диафрагма приварена к корпусу камеры, а ускоряющее напряжение приложено так, что “минус” подан на корпус камеры, а “плюс” на коробку ионизатора. Ускоренные ионы, попадающие в камеру через щель входной диафрагмы, отклоняются магнитным полем за счет действия сил Лоренца и летят по круговым траекториям
где R – радиус, м ;
H – напряженность магнитного поля, А/м;
U – разгоняющее напряжение, В;
M/q – массовое число иона (отношение массы ионы М к заряду q), кг*К-1
Рис. 46 Схема масс-спектрометрической камеры
1 – катод;2 – ионизатор;3 – траектории ионов;4 – корпус;5 – манометр магнитно-разрядный;6 – присоединительный патрубок;7 – диафрагма;8 – супрессорная сетка;
9 – коллектор ионов;10 – источник разгоняющего напряжения;11 – стабилизатор эмиссии;12 – выносной прибор;13 - усилитель
Тяжелые ионы имеют больший радиус траектории, чем легкие. В масс- спектрометре течеискателя напряженность постоянного магнитного поля и разгоняющее напряжение подбираются так, чтобы только ионы гелия (или водорода) попадали на коллектор ионов. Радиус траектории рабочих (фиксируемых коллектором 9) ионов гелия (водорода) в данном масс-спектрометре равен 4 см. Перед коллектором ионов установлена супрессорная сетка, служащая для подавления фона от посторонних ионов (например, вследствие вторичной ионизации), которые могут попасть на коллектор. На эту сетку, называемую супрессорной, подается постоянное напряжение +30…40 В.
Принцип работы динамических масс-спектрометров основан на использовании различий в динамических (инерционных) характеристиках ионов с различными массовыми числами. К таким приборам относятся омегатрон (радиочастотный м-с), импульсный времяпролетный м-с, фарвитрон, электрический фильтр масс и др. Разрешающая способность таких приборов невысока (20…100 вместо 500…1000 у статического м-с), но они более портативны, просты, удобны в эксплуатации.
Рис.47. Схема динамического масс-спектрометра
1,6 – постоянный магнит;2 – катод;3 – пластины переменной полярности;
4 – коробка;5 – анод;7 – коллектор ионного тока;8 – регистрирующий прибор;
9 – усилитель;10 – электронный луч
Омегатрон или радиочастотный масс-спектрометр (рис.47) по принципу работы напоминает циклотрон. В коробке 4 датчика, присоединенного к вакуумной системе, создаются перпендикулярные постоянное магнитное поле напряженностью Н ( с помощью внешних магнитов) и переменное электрическое поле с разностью потенциалов U, создаваемое пластинами 3. Электрическое поле меняет полярность с частотой f (f = 0.1-1.5 МГц, т.е. представляет полосу “радиочастот” обычно используемых в радиовещании). Катод 2 с прикатодным электродом и анод 5 предназначены для создания узкого электронного пучка, проходящего через середину коробки 4. Этот электронный пучок служит для ионизации анализируемого газа, находящегося в датчике вакуумной системе. Образовавшиеся ионы взаимодействуют с электрическим и магнитным полями. При этом собственная частота ионов:
где Н – напряженность магнитного поля.
Если эта частота совпадает с частотой колебаний электрического поля, то ионы будут описывать траектории, близкие к спирали Архимеда, в плоскости, перпендикулярной вектору магнитного поля Н.
Как правило, магниты имеют Н = 2000…5000 Э. Ионный ток, характеризующий парциальное давление газа, соответствующее резонансному массовому числу М/q , регистрируется с помощью коллектора 7 и фиксируется прибором 8. Изменяя частоту переменного электрического поля, можно снять полную спектрограмму остаточных газов в пределах измерения прибора.
Промышленностью выпускается измерители парциальных давлений омегатронные ИПДО-1 и ИПДО –2 с датчиком РМО- 4С.
Импульсный времяпролетный масс-спектрометр (хронотрон) имеет схему работы, заключающуюся в одновременном запуске всех имеющихся в зоне ионизации ионов (различных масс) в “трубу дрейфа”. Ионы, образованные в ионной камере (образованной электродами ), выталкиваются из нее под действием импульса напряжения и попадают в ускоряющее электрическое поле. В дальнейшем ускоренный “пакет” ионов поступает в область дрейфа, представляющую собой эквипотенциальное пространство, при движении в котором происходит разделение ионов по массам. Время пролета t ионом расстоянии L зависит от его массы, так как при прохождении разности потенциалов U он набирает скорость
Тогда
т.е время пролета расстояния L зависит от массового числа иона. На выходе области дрейфа образуются “пакеты ” ионов одинаковых масс, которые через различные промежутки времени поступают на коллектор ионов и создают кратковременные импульсы напряжения. Значения напряжений импульсов пропорциональны парциальным давлениям анализируемых газов. Картину спектра получают на электронно-лучевой трубке, где вертикальное отклонение луча пропорционально парциальному давлению (длине пика), а запуск горизонтальной развертки осуществляется от генератора задержки, синхронизированного с задающим генератором.
Лекция №23
Течеискание
Существует ряд методов проверки герметичности вакуумных установок, из которых наиболее чувствительным является масс-спектрометрический.
Течи представляют собой микроскопические отверстия или щели, возникшие при сварке деталей камеры или при уплотнении элементов вакуумной системы прокладками.
Для статических (т.е. не откачиваемых насосом) вакуумных систем величина течи (поток натекающего газа Q) может быть определена по величине нарастания давления внутри откачной вакуумной камеры (или системы), т.е:
где ΔР –приращение давления, Па
Δt – время (приращения давления), с
V – объем вакуумной камеры, м3
Для динамических вакуумных систем поток натекания может быть рассчитан как:
Q = S*P [м3*Па*с-1 ]
где S – быстрота откачки камеры, м3*с-1
Р – установившееся давление в камере, Па
Существует много различных методов течеискания, различающихся чувствительностью (минимальным потоком натекания, определяемым данным методом – Qmin):
1. Пузырьковый метод (метод опрессовки) Qmin =10-3 м3*Па/с
2. Метод высокочастотного разряда Qmin =10-5 м3*Па/с
3. Манометрический метод Qmin =10-5 м3*Па/с
4. Метод палладиевого барьера Qmin =10-8 м3*Па/с
5. Галоидный метод Qmin =10-5 м3*Па/с
6. Масс-спектрометрический метод Qmin =10-10 – 10-11 м3*Па/с
Рассмотрим некоторые методы.
-
Пузырьковый метод (метод опрессовки) – является одним из простейших. Он основан на погружении исследуемого объекта в жидкость. Внутри объекта с помощью насоса или баллона с газом, рис 49, создается избыточное давление. Частота появления и размер пузырьков, появляющихся из течи определяют ее размер. Преимущество метода в его простоте. Недостатки – низкая чувствительность и необходимость иметь большие ванны с жидкостью.
Ванна с жидкостью может быть заменена мыльной пеной, наносимой на подозреваемые места кисточкой. При этом теряется и без того не высокая чувствительность метода.
Рис.49 Метод опрессовки.
1-Источник газа под давлением (1-2 атм.).
2-Сосуд с жидкостью.
3-Исследуемый объект.
4-Место утечки.
-
Высокочастотный метод – используется для проверки герметичности только стеклянных сосудов. Специальный высокочастотный искровой разрядник,рис. 50, подносимый к исследуемому сосуду (колбе лампы, кинескопу и т.д.) позволяет определить в первую очередь степень вакуума в сосуде, а не течь: красный цвет флюоресцирующего газа указывает на низкий вакуум, т.е. наличие течи, серый – на отсутствие течи.
Рис.50 Метод высокочастотного разряда.
1-Исследуемая лампа.
2-Генератор высокочастотного тока (разрядник Тесла).
-
Масс-спектрометрический метод – является самым чувствительным методом течеискания. Принцип заключается в обдувании всех потенциально опасных мест исследуемого объекта пробным газом, которого почти не содержится в воздухе. Это гелий или, реже, водород.
Течеискатель представляет собой статический масс-спектрометр (с собственной вакуумной системой) герметично соединенный с исследуемым объектом и настроенный на пробный газ. В тот момент, когда оператор, обдувающий пробным газом исследуемую вакуумную систему попадает на место течи, течеискатель выдает звуковой и световой сигналы.
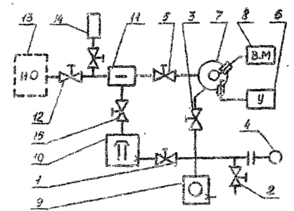
Течеискатель типа ПТИ–10 – специальный масс-спектрометрический тип течеискателя предназначен для нахождения микроскопических малых течей в различной герметичной арматуре. Течеискатель позволяет находить место течи независимо от давления испытуемой вакуумной аппаратуре, а также определять общую величину натекания в вакуумных системах, где газоотделение стенок в тысячи раз превосходит натекание из внешней атмосферы. Масс-спектрометрический течеискатель ПТИ-10 настроен на измерение парциального давления гелия или водорода, он включает масс-спектрометр (м-с) статического типа (см. рис.46) с фокусировкой ионных пучков в однородном магнитном поле. Течеискатель состоит из двух основных частей: вакуумной и электрической.
Рис.51 Вакуумная схема гелиевого течеискателя ПТИ-10
Дросселирующий клапан 12 служит для соединения испытуемого объема с течеискателем, а также позволяет плавно регулировать давление в масс-спектрометрической камере 7. Вымораживающая азотная ловушка 11 (сосуд Дюара, заливаемый жидким азотом) препятствует проникновению паров масла из диффузионного насоса м-с камеру. Масс-спектрометрическая камера газоанализатора 7 представляет собой металлическую цилиндрическую коробку со съемной крышкой для быстрой смены катода, имеющую патрубок для присоединения к вакуумной системе. Диффузионный паромасляный насос 10 с воздушным охлаждением типа Н-0,025-2,обеспечивающий предельный вакуум
10-4 Па, предназначен для получения высокого вакуума в м-с камере. Механический насос 9 типа ВН-02-2 предназначен для получения предварительного вакуума. Насос откачивает систему до давления 1 Па за 5…10 мин. Клапан 5 предназначен для отсоединения м-с камеры от вакуумной системы при смене катода, ремонте камеры, а также при размораживании ловушки (с целью предотвращения загрязнения м-с камеры). Клапаны 1,2,3 служат для коммутации предварительного вакуума: клапан 1 –для подключения диффузионного насоса к форвакуумному насосу после достижения им давления 1 Па; клапан 2 – для напуска атмосферы ко впускному патрубку механического насоса после его выключения, чтобы избежать затягивания масла из механического насоса в форвакуумную систему; клапан 3 – для байпасной откачки м-с камеры 7 после аварийной смены катода. М-с камера разгерметизируется при закрытых клапанах 5 и 1, чтобы избежать окисления разогретого масла в диффузионном насосе, и после смены катода откачивается через клапан 3 до давления 1 Па. Термопарный манометр 4 служит для измерения давления в системе предварительного разряжения. Магниторазрядный манометр ММ-10, расположенный в м-с камере, предназначен для измерения в ней давления в диапазоне 1…10-4 Па.
















