Сен диплом (1052234), страница 8
Текст из файла (страница 8)
Работы по ремонту пути с укладкой асимметричной рельсошпальной решетки в пределах переездов с вырезкой старого балласта выполняются по отдельному техпроцессу в настоящем технологическом процессе не учитываются.
При выполнении работ по данному технологическому процессу необходимо соблюдать требования Правил технической эксплуатации железных дорог Российской Федерации; Инструкции по сигнализации на железных дорогах Российской Федерации; Инструкции по движению поездов и маневровой работе на железных дорогах Российской Федерации, Инструкции по обеспечению безопасности движения поездов при производстве путевых работ; Правил по охране труда при содержании и ремонте железнодорожного пути и сооружений; Временной инструкции по укладке и содержанию скрепления ЖБР-65.
4.5 Производственный состав
Численный состав колонн подготовительных, основных и отделочных работ определяется в следующей последовательности:
-
в соответствии с ведомостью затрат труда и графиком производства основных работ количество монтеров пути требуется 60 человек.
-
численный состав колонн подготовительных и отделочных работ определяется по формуле:
N0 = (А1 + А2 ) / (480 (n – 1)) , (3.15)
где А1 – затраты труда в подготовительный период, чел-мин;
А2 – затраты труда отделочных работ, чел-мин;
n – периодичность предоставления «окон», n = 2;
N0 = (2732+22709) / (480 1) =53 чел.
Состав бригад:
| Бригада №1 | 7 чел |
| Бригада №2 | 8 чел |
| Бригада №3 | 8 чел |
| Бригада №4 Бригада №5 Бригада №6 | 10 чел 10 чел 10 чел |
Итого: 53 чел.
Состав цеха по обслуживанию машин:
| УКС-25/9-18 | 2поезда | 8 маш |
| Бульдозер | 2 шт | 2 маш |
| Трактор с прицепным грейдером | 1 шт | 1 маш |
| МПТ | 1 шт | 2 маш |
| ВПО-3000С | 1 шт | 6 маш |
| ЭЛБ-4МКС | 1 шт | 3 маш |
| ВПРС-03С | 2 шт | 8 маш |
| Путевой струг | 1 шт | 2 маш |
| ХДВ | 3 состава | 6 маш |
| Итого: 38 чел |
Бригада геодезической подготовки:
| Инженер-геодезист | 1 чел |
| Техник | 1 чел |
| Мерщик | 1 чел |
Итого: 3 чел.
Руководящий и обслуживающий персонал:
| Заместитель начальника | 1 чел |
| Производитель работ | 1 чел |
| Дорожный мастер | 2 чел |
| Сигналисты | 6 чел |
Итого: 10 чел.
Всего: 104 чел.
4.6 Организация работ.
Перед производством работ по замене рельсошпальной решетки 8 монтеров пути на фронте работ 1000 м производят закрепление шпал, снимают путевые пикетные знаки, опробуют и смазывают стыковые болты, подготавливают места для въезда на путь и съезда с него землеройных машин, демонтируют стеллажи для покилометрового запаса.
В этот же период выполняется геодезическая подготовка: закрепляется ось проектного пути установкой кольев на откосе земполотна через 25 м, через 50 м на кольях устанавливаются высотные отметки, соответствующие проектным отметкам бровки земполотна и проектным отметкам головки рельса.
Основные работы по смене рельсошпальной решетки на фронте работ протяженностью 1000 м пути производятся в «окно» продолжительностью 11 часов (Приложение 2). Протяженность фронта работ обусловлена производительностью применяемых путевых машин, длиной рабочих поездов, продолжительностью «окна». Работу выполняют 47 монтера пути и 21 машиниста.
Работы в «окно» выполняются поточным способом в темпе ведущей машины – путеукладочного крана УКС-25/9-18. Рабочие поезда прибывают на участок работ в следующей последовательности:
- путеразборочный поезд, состоящий из локомотива (в голове поезда), 14-ти четырехосных платформ, оборудованных УСО, платформ МПД-2С, ПТЛ, двух тяговых платформ и путеразборочного крана УКС-25/9-18;
- путеукладочный поезд, состоящий из путеукладочного крана УКС-25/9-18, 18-ти четырехосных платформ, оборудованных УСО с пакетами по 3 новых звена, платформ МПД-2С, ПТЛ, двух тяговых платформ и локомотива (в хвосте поезда);
- хоппер-дозаторная вертушка, состоящая из 20 хоппер-дозаторов и локомотива;
- электробалластер ЭЛБ-4МКС с локомотивом;
- две выправочно-подбивочно-рихтовочные машины ВПРС-03С.
После закрытия перегона и прибытия разборочного поезда на место работ 12 чел бр. №3 демонтируют уложенные в предыдущее «окно» инвентарные рубки, изымают из балласта деревянные шпалы и складируют их на откосе земполотна. Инвентарные рубки загружаются на путеразборочный кран.
Путеразборочным краном УКС-25/9-18 демонтируют старую рельсошпальную решетку звеньями по 25 м, формируют их в пакеты по 4 звена, перемещают на платформы и закрепляют. Работу выполняют 8 монтеров пути и 4 машиниста. В конце участка работ выгружаются инвентарные рубки. Путеукладочным краном снимается звено, уложенное последним в предыдущее «окно».
Двумя бульдозерами срезается верхний слой балластной призмы толщиной согласно проекту (в среднем 20 см под шпалой) по заранее установленным высотникам и перемещается на обочины земполотна, через каждые 25 м, со стороны подрельсовых площадок шпал колеи 1520 мм, вал старого балласта срезается для подготовки площадок под укладку строповочных рубок после их демонтажа. Грейдером производится планировка поверхности среза и формирование ремонтной основной площадки земполотна. В конце участка, на протяжении последнего звена укладки, выполняется отвод срезки балласта: на протяжении 10 м – на полную глубину, на протяжении следующих 10 м – с повышением поверхности среза до отметки 7 см ниже нижней пласти шпал, на протяжении последних 5 м старый балласт вырезают вручную 6 монтеров пути на глубину до 6 см ниже нижней пласти шпал демонтируемого пути.
Рис 3.2. Схема расстановки бульдозеров и грейдера при срезке старого балласта.
Путеукладочным поездом УКС-25/9-18 укладывают новые звенья. Работу выполняют 26 монтеров пути бр. №2 и 3 и 4 машиниста. При этом (в отличие от технологии работ с симметричным звеном) после опускания звена выполняются следующие операции:
-
поперечное перемещение заднего конца звена на ось земполотна до совмещения концов стыкуемых рельсов;
-
стыковка звена с установкой накладок на стыки рельсов колеи 1067мм и наживление двух болтов на каждом звене;
-
поперечное перемещение переднего конца звена на ось земполотна с контролем положения в плане;
-
окончательное опускание и расстроповка звена;
-
грубая рихтовка середины звена;
-
частичное ослабление клемм, продольное перемещение рельсов с установкой нормальных стыковых зазоров, закрепление клемм.
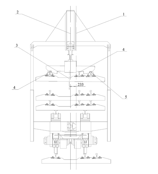
Рис. 3.3. Положение вывешенного звена в порталах УКс-25/9-18.
1- Ось земполотна и пути колеи 1520 мм. 2- Ось пути колеи 1067 мм и крана. 3- Ось вывешенного звена.4- Инвентарные рельсы. 5- Строповочные рубки.
Во время остановок работы крана для перетяжки пакетов звеньев эти же бригады выполняют частично поправку шпал по эпюре, установку и закрепление остальных стыковых болтов. За путеукладочным поездом 8 монтера пути бр. №4 поправляют остальные шпалы по эпюре, демонтируют строповочные рубки с укладкой их на обочину, на подготовленные площадки.
В конце участка работ 8 монтеров пути бр. №3 отрезают рельсы демонтируемого пути по разметке, сверлят болтовые отверстия и укладывают инвентарные рельсовые рубки. 14 монтеров пути выполняют грубую рихтовку старого пути на сопряжении с новым с образованием S-образных кривых для отвода проектного смещения оси пути.
Из хоппер-дозаторов выгружается щебеночный балласт в объеме 780 м3 на 1км пути по всей ширине пути с установкой дозатора на отметку «0». В пределах последнего уложенного звена балласт выгружается только на протяжении первых 5 м.
Вслед за хоппер-дозаторами движется электробалластер без работы. В пределах последнего уложенного звена (на протяжении которого выполнен отвод срезки старого балласта) дозаторными крыльями электробалластера старый балласт перемещается с обочин на концы шпал.
8 монтеров пути бр. № 2 забрасывают старый балласт в путь на отводе. 4 монтера пути бр. № 3 готовят место для зарядки струн электробалластера за 30 м до начала участка работ.
Возвращаясь в начало работ, электробалластер дозаторными крыльями выполняет срезку валов старого балласта с обочин. После зарядки дозаторных струн производится подъемка пути ЭЛБ-4МКС на величину 10-12 см.
Выправка пути со сплошной подбивкой шпал в подрельсовой зоне колеи 1067 мм выполняется двумя машинами ВПРС-03С: первая работает на протяжении 500 м в конце фронта работ и на протяжении 50 м на старом пути для выполнения отвода, вторая начинает работу за 25 м до начала фронта работ и работает на протяжении 500 м первой половины фронта работ.
По окончании вышеуказанных работ и проверки состояния пути на всем участке перегон открывают для движения первого поезда со скоростью 15 км/час, последующих – 25 км/ч.
На следующий день, в «окно» продолжительностью 5 часов, на фронте работ 1000 м (участок № 1) из хоппер-дозаторов выгружается щебеночный балласт на концы шпал в объеме 340 м3 на 1 км пути (При этом дозатор со стороны рельсовой нити колеи 1520 мм устанавливается на отметку «+15», с другой стороны – на отметку «0». ВПО-3000С производится подъемка пути на высоту 80 мм. ВПРС-03С выполняется измерительный проезд, сплошная подбивка шпал в зонах рельсов колеи 1067 мм и выправка пути в местах зарядки и разрядки ВПО-3000С и отклонений по уровню и в плане. После проверки состояния пути перегон открывается для движения поездов со скоростью 25 км/ч.
На участке №2 в этот день выполняются подготовительные работы, а на следующий день комплекс работ по смене рельсошпальной решетки.
В пятый день, в «окно» продолжительностью 5 часов, на участке №1 из хоппер-дозаторов выгружается 380 м3 на 1 км пути щебеночного балласта на концы шпал и 340 м3 на 1 км пути – на участке № 2.
На участке №2 ВПО-3000С производится подъемка пути на высоту 8 см и сплошная подбивка шпал в зонах рельсов колеи 1067 мм и выправка пути ВПРС-03.
На участке №1 16 монтеров пути выполняют перераспределение балласта следующим образом: со стороны рельсовой нити колеи 1520 мм щебень с концов шпал перемещается на откос балластной призмы, со стороны общей рельсовой нити щебень с концов шпал и его излишки с откоса балластной призмы забрасываются внутрь колеи. ВПРС-03С выполняется выправка пути со сплошной подбивкой шпал.
После проверки состояния пути перегон открывается для движения поездов со скоростью 25 км/ч на участке №2 и со скоростью 40 км/ч на участке №1.
В отделочный период бригада в составе 10 монтеров пути выполняет оправку балластной призмы с формированием плеча балластной призмы шириной 35 см, 2 монтера пути выполняют установку и окраску путевых знаков, монтаж стеллажа покилометрового запаса. Путевым стругом производится планировка обочин и откосов земполотна.
ВПРС –03С выполняется выправка пути со сплошной подбивкой шпал в подрельсовых зонах колеи 1067 мм с формированием проектного плана и профиля пути. По окончании выправки путь открывается со скоростью 60 км/час.
1 раз в 10 дней на протяжении 5 фронтов смены рельсошпальной решетки краном МПТ загружаются строповочные рубки с обочины пути с укладкой на прицепную платформу. Работу выполняют 4 монтера пути и 2 машиниста МПТ. Загруженная платформа отправляется на звеносборочную базу.После обкатки выполняется послеосадочная выправка пути.















