Руководящие технологические материалы по сварке и контролю качества (1041424), страница 18
Текст из файла (страница 18)
6.4.3. При сварке порошковой проволокой шланг с держателем следует выбирать в зависимости от диаметра порошковой проволоки: для проволоки диаметром 2,8-3 мм - шланг с внутренним диаметром спирали 4,7 мм, для проволоки диаметром 2-2,5 мм - шланг с внутренним диаметром спирали 3,6 мм. Наконечники мундштука следует выбирать в зависимости от диаметра проволоки. Хороший токопровод обеспечивают медные наконечники длиной 40-50 мм.
6.4.4. Порошковая проволока после прижатия ее верхним роликом должна быть утоплена в канавку нижнего ролика на 2/3 своего диаметра. Прижатие проволоки должно быть минимальным, обеспечивающим ее равномерную подачу. Деформация (смятие) проволоки не допускается.
6.4.5. Ориентировочные режимы сварки стыковых соединений стержней самозащитной порошковой проволокой диаметром 3 мм должны соответствовать приведенным в табл. 6.8.
Таблица 6.8
┌───────────┬───────────────────────────────────────────────────────────┐
│Диаметры │ Режим сварки │
│стыкуемых ├────────────┬────────────────┬────────────┬────────────────┤
│стержней, │сварочный │скорость подачи│напряжение │вылет │
│(d_н), мм │ток, А │проволоки, м/ч │дуги, В │электродной │
│ │ │ │ │проволоки, мм │
├───────────┼────────────┼────────────────┼────────────┼────────────────┤
│ 20-28 │ 250-300 │ 210-236 │ 25-26 │ 30-40 │
│ │ │ │ │ │
│ 32-40 │ 350-400 │ 296-337 │ 26-30 │ 40-50 │
└───────────┴────────────┴────────────────┴────────────┴────────────────┘
6.4.6. При сварке в медных формах следует стремиться к тому, чтобы дуга не была направлена на стенки формы. После заполнения плавильного пространства примерно на 80% объема рекомендуется прервать процесс на 1-2 минуты в целях снижения температуры расплавленного металла и предотвращения подрезов стыкуемых стержней.
6.5. Сварка порошковой самозащитной проволокой спаренных стержней
6.5.1. Конструкция и размеры стыкового соединения спаренных арматурных стержней порошковой проволокой - тип С12-Мп - должна соответствовать приведенным на рис. 6.11 и в табл. 6.6.
Сварку выполняют с использованием инвентарных форм, приведенных на рис. 6.12.
6.5.2. Режимы и технику сварки спаренных стержней с прямой разделкой двух стержней следует скорректировать, учитывая увеличенный вылет электродной проволоки. Остальные технологические указания индентичны приведенным в пп. 6.4.1-6.4.6 для сварки однорядной арматуры.
6.5.3. Сварку спаренных стержней со стыками "вразбежку" (рис. 6.11 внизу) необходимо осуществлять, соблюдая следующий порядок:
вначале соединить нижний ряд стержней, используя инвентарные формы на рис. 6.3 или 6.4. При этом наплавленный металл не должен образовывать усилия более 1-1,5 мм;
верхний ряд стержней следует соединять двумя стыками через вставку. Для обеспечения процесса сварки следует применять две медные полуформы (рис. 6.13), ограждающие плавильное пространство с боков и сверху. Снизу плавильное пространство ограничивается нижним рядом стержней.
6.5.4. Конструкция и размеры полуформ должны соответствовать приведенным на рис. 6.13 и в табл. 6.9; схема их установки приведена на рис. 6.14.
Таблица 6.9
┌───────────────────────────────────────────────────────────────────────┐
│ Размеры в мм │
├─────────────────────┬────────┬───────┬──────┬──────────┬──────┬───────┤
│ Диаметр стыкуемых │ А │ В │ Н │ D │ E │ l │
│ стержней (d_н), мм │ │ │ │ │ │ │
├─────────────────────┼────────┼───────┼──────┼──────────┼──────┼───────┤
│ 32 │ 85 │ 80 │ 80 │ 36,5 │ │ │
│ │ │ │ │ │ │ │
│ 36 │ 90 │ 90 │ 90 │ 41,5 │ 35 │ 30 │
│ │ │ │ │ │ │ │
│ 40 │ 95 │ 90 │ 90 │ 45,5 │ │ │
└─────────────────────┴────────┴───────┴──────┴──────────┴──────┴───────┘
Механизированная сварка стыковых соединений арматуры на стальной скобе-накладке
6.6. Сварка порошковой самозащитной проволокой
6.6.1. Конструкция и размеры стыкового соединения горизонтальных стержней типа С14-Мп должна соответствовать приведенной на рис. 6.15 и в табл. 6.10.
6.6.2. Основные технологические условия сварки, включая технику ее выполнения, не отличаются от приведенных в пп. 6.4.3-6.4.5. Для лучшего провара корня шва стыковых соединений стержней дугу следует направлять в угол, образованный разделкой торцов стержней и стальной скобой-накладкой, предварительно закрепляемой двумя дуговыми прихватками на расстоянии примерно 0,5 d_н от края накладки по обе стороны от торцов стыкуемых стержней. Дуговые прихватки в процессе сварки фланговых швов должны быть полностью переплавлены.
Таблица 6.10
┌─────────────────────────────────────────────────────────────────────────────────────────────────────┐
│ Размеры в мм │
├────────┬────────┬─────┬───────┬────────┬────────┬───────────┬─────────────┬────────────┬────────────┤
│Обозна- │ Класс │ d_н │d'_н/d_│ l_1 │ бета │ l_н=l │ b │ Н │ h_1 │
│ чение │арматуры│ │ н │ │ │ │ │ │ │
│ типа │ │ │ │ │ │ │ │ │ │
│соедине-│ │ │ │ │ │ │ │ │ │
│ ния, │ │ │ │ │ │ │ │ │ │
│способа │ │ │ │ │ │ │ │ │ │
│ сварки │ │ │ │ │ │ │ │ │ │
├────────┼────────┼─────┼───────┼────────┼────────┼───────────┼─────────────┼────────────┼────────────┤
│C14-Мп │A-I, │20-40│0,5-1,0│ 8-12 │ <= 10° │2 d_н + l_1│ (0,35-0,40) │<= 1,2 d_н+s│<= 0,05 d_н │
├────────┤А-II, │ │ ├────────┼────────┤ │ d_н │ │ │
│С15-Рс │A-III │ │ │ 12-15 │ - │ │ │ │ │
├────────┤ │ │ ├────────┼────────┼───────────┤ │ │ │
│С16-Мо │ │ │ │ 10-20 │ <= 10° │3 d_н + l_1│ │ │ │
├────────┼────────┼─────┼───────┼────────┴────────┼───────────┤ │ │ │
│С14-Мп │Aт-IIIC,│20-32│0,5-1,0│Те же значения, в│4 d_н + l_1│ │ │ │
│C15-Pс │Aт-IVC │ │ │зависимости от │ │ │ │ │
│С16-Мо │ │ │ │способа сварки │ │ │ │ │
└────────┴────────┴─────┴───────┴─────────────────┴───────────┴─────────────┴────────────┴────────────┘
Примечания: 1. Для d_н = 20-25 мм S = 6 мм,
d_н = 28-40 мм S = 8 мм.
2. При отношении d'_н/d_н = 0,5-0,8 следует применять скобу-вкладыш (см. приложение 12).
В случае скопления большого количества шлака, затрудняющего процесс сварки, желательно прожечь электродной проволокой небольшое отверстие на 2-5 мм ниже зеркала жидкого шлака. После удаления некоторого количества шлака отверстие надо заварить и продолжить процесс сварки; сварку следует заканчивать резким обрывом дуги, прекратив подачу проволоки за 2-3 с до окончания процесса.
6.6.3. Сварка стыковых соединений из арматуры классов Ат-IIIС и Ат-IVС в монтажных условиях ограничена ввиду возможного локального разупрочнения термомеханически упрочненной арматуры. Сварка соединений типа С14-Мп может выполняться только на удлиненных стальных скобах-накладках (см. табл. 6.10), при этом фланговые швы следует сваривать в регламентированной последовательности: например, сваривают левый, ближний к сварщику шов, начиная его от левого края скобы-накладки в направлении к центру; после остывания до 100-150° сваривают правый дальний от сварщика шов также в направлении от края накладки к центру; затем после остывания этого шва до 100-150° сваривают дальний от сварщика шов с левой стороны стыкового соединения; заканчивают сварку ближним к сварщику швом с правой стороны. При этом условия сварки, описанные для первых двух швов, соблюдаются. Таким образом, выполняется последовательность сварки, условно названная здесь и ниже сваркой в шахматном порядке. В процессе сварки протяженных швов кратеры тщательно завариваются в месте соприкосновения "фланговых" швов со швом, заполнившим межторцевое плавильное пространство.
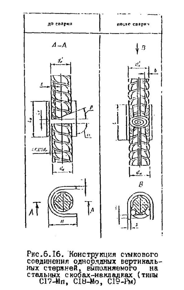
6.6.4. Конструкция стыкового соединения вертикальных стержней типа С17-Мп должна соответствовать приведенной на рис. 6.16 и в табл. 6.11.
6.6.5. Технологические условия сварки вертикальных соединений стержней следует выполнять, руководствуясь изложенными в п.п. 6.4.3-6.4.5. При этом дугу следует зажигать в противоположном от сварщика углу, образованном торцом нижнего стержня и скобой-накладкой, перемещая электродную проволоку влево, ориентировочно на 1/4 длины окружности по торцу нижнего стержня), заваривают угловой шов, затем не прекращая сварки, наплавляют второй валик, наплавляя электродную проволоку вправо, наплавляя шов, длина которого будет равна пи d/2 (половине длины окружности). Не прекращая процесса, возвращается к месту, где был закончен первый шов, и продолжают сварку влево, еще на четверть окружности, вновь возвращаются вправо, увеличивая протяженность шва и т.д., пока не будет заплавлен (наплавлен) весь торец нижнего стержня, затем начинают наплавлять второй, третий и т.д. слои аналогично первому слою.
Таблица 6.11
┌──────────────────────────────────────────────────────────────────────────────────────────────────────────────────────────┐
│ Размеры в мм │
├─────────┬─────────┬─────┬───────┬───┬────────────┬───────┬──────────┬──────────┬─────────────┬──────────────┬────────────┤
│Обозначе-│Класс │ d_н │ d'_н/ │l_1│ альфа -10° │ бета │ z │ l_н=l │ b │ Н │ h_1 │
│ние типа │арматуры │ │ d_н │ │ │ │ │ │ │ │ │
│соедине- │ │ │ │ │ │ │ │ │ │ │ │
│ния, │ │ │ │ │ │ │ │ │ │ │ │
│способа │ │ │ │ │ │ │ │ │ │ │ │
│сварки │ │ │ │ │ │ │ │ │ │ │ │
├─────────┼─────────┼─────┼───────┼───┼────────────┼───────┼──────────┼──────────┼─────────────┼──────────────┼────────────┤
│С17-Мп │A-I, │20-40│0,5-1,0│6-8│ 90° │30-40° │ <= 0,15 │ 2 d_н + │ (0,35-0,40) │<= 1,2 d_н + s│<= 0,05 d_н │
│ │А-II, │ │ │ │ │ │ d_н │ l_1 │ d_н │ │ │
├─────────┤А-III │ │ │ │ │ │ ├──────────┤ │ │ │
│С18-Мо │ │ │ │ │ │ │ │ 3 d_н + │ │ │ │
│ │ │ │ │ │ │ │ │ l_1 │ │ │ │
├─────────┤ │ │ │ │ │ │ ├──────────┤ │ │ │
│С19-Рм │ │ │ │ │ │ │ │ 2 d_н + │ │ │ │
│ │ │ │ │ │ │ │ │ l_1 │ │ │ │
├─────────┼─────────┼─────┼───────┤ │ │ │ ├──────────┤ │ │ │
│С17-Мп │Ат-IIIС, │20-32│0,5-1,0│ │ │ │ │ 4 d_н + │ │ │ │
│С18-Мо │Aт-IVC │ │ │ │ │ │ │ l_1 │ │ │ │
│С19-Рм │ │ │ │ │ │ │ │ │ │ │ │
└─────────┴─────────┴─────┴───────┴───┴────────────┴───────┴──────────┴──────────┴─────────────┴──────────────┴────────────┘
Основное внимание следует обращать на наплавку в угол, образованный скобой и торцами стержней.
Подводя электродную проволоку к ближней от сварщика кромке стержней и наплавляя валики многослойных швов, желательно лишний скопившийся шлак сбрасывать концом электродной проволоки, обеспечивая минимальное расстояние между концом проволоки и наплавленным металлом. Если расплавленный металл стекает вниз, следует, закорачивая дугу, прерывать сварку на 2-3 с, позволяя сформироваться шву.
Общая площадь наплавляемой многослойными швами поверхности сокращается и становится минимальной в верхней части разделки верхнего стержня. В конце сварки дугу закорачивают чаще, делая перерывы 2-3 с, обеспечивая качественное формирование шва. Сварка таких соединений требует высокой профессиональной квалификации.
6.6.6. После сварки межторцевого пространства наплавляют валиковые швы на режимах, приведенных в паспортных данных на выбранную сварочную проволоку. Порядок сварки фланговых швов для горячекатаной арматуры не регламентируется. При сварке арматуры класса Ат-IIIС и Ат-IVС порядок сварки фланговых швов идентичен приведенному в п. 6.6.5, т.е. в шахматном порядке. В том случае, если технические характеристики порошковых проволок, которыми сваривается межторцевое пространство, не позволяют выполнить вертикальные фланговые швы, следует выполнять такие соединения двумя технологическими приемами: сварку порошковой проволокой, а фланговые швы штучными электродами типа Э50. При этом порядок сварки электродами аналогичен приведенному выше. Не исключается возможность выполнения таких соединений двумя сварщиками последовательно. Первым сварщиком завариваются межторцевые пространства стыкуемых стержней, вторым - фланговые швы.
6.6.7. В практике строительства применяются стыковые соединения вертикальных арматурных стержней, имеющие замкнутые стальные скобы-подкладки*(10) , конструкция которых не нормируется ГОСТом*(11).
Схематично на рис. 6.17 показана конструкция одной половины полускобы и двух полускоб в сборке. Две полускобы могут собираться на выпусках арматуры на прихватках (рис. 6.18). Полускобы могут собираться отдельно и в месте их сопряжения свариваться сплошным швом. Это упрощает сварку, препятствуя вытеканию жидкого металла и шлака. Техника сварки в этом случае близка к приведенной выше, но зачастую возникает необходимость в процессе сварки прожигать отверстия для выпускания лишнего, мешающего варить, шлака.
Размеры подкладок приведены в табл. 6.12.
Таблица 6.12
┌─────────────────┬─────────────────────────────────────────────────────┐
│Диаметр │ Размеры элементов стальных скоб-подкладок, мм │
















