Руководящие технологические материалы по сварке и контролю качества (1041424), страница 13
Текст из файла (страница 13)
2) наложить подварочный кольцевой однопроходный шов (рис. 5.8, б). Для этого следует воздудить дугу на пластине в 5-7 мм от отверстия (рис. 5.10). Затем конец электродной проволоки перемещают вокруг стержня на расстояние 1-2 мм от кромки отверстия. Сварку следует закончить после перекрытия начала шва и вывода дуги на пластину по касательной на расстояние 10-15 мм.
5.2.7 Тавровые соединения стержней диаметрами 18-25 мм с пластиной должны выполняться в два этапа (рис. 5.9).
1) за один проход следует наплавить основной кольцевой шов.
При этом заплавляется зазор между стержнями и стенкой отверстия в пластине закладного изделия (рис. 5.9, а);
2) наложить два полукольцевых подварочных шва (рис. 5,9, б) по схеме, приведенной на рис. 5.10. Второй полукольцевой шов должен выполняться через 10-15 с после окончания наплавки первого полукольцевого шва.
5.2.8. При изготовлении изделий типа "закрытый столик" вначале рекомендуется производить сварку двух основных швов по концам каждого анкерного стержня, а затем сварку подварочных швов.
5.3. Ручная дуговая сварка тавровых соединений
5.3.1. Конструкция и размеры тавровых соединений арматуры с плоскими элементами проката, выполняемых дуговой ручной сваркой типа Т12-Рз, должны соответствовать приведенным на рис. 5.11 и в табл. 5.6.
5.3.2. Сборку элементов закладных изделий следует осуществлять в кондукторах или на прихватках.
Прихватки следует располагать: для соединений со стержнями диаметром до 16 мм - с одной стороны, а при стержнях больших диаметров - с двух противоположных сторон так, чтобы при сварке закладных изделий они были полностью переплавлены. Прихватки следует выполнять теми же электродами, что и сварные швы.
5.3.3. Соединения со стержнями диаметром до 14 мм, как правило, следует выполнять за один проход. При многослойной сварке каждый слой перед наложением последующего должен быть очищен от шлака и брызг металла. Переход от наплавленного металла к пластине и стержню должен быть плавным. Подрезы на стержнях не допускаются. Кратеры должны быть заварены.
Сварку следует выполнять электродами диаметром:
4 мм при d_н = 8-16 мм;
5 " " d_н = 14-32 мм;
6 " " d_н = 22-40 мм.
Сварочный ток следует назначать по паспортным данным электродов.
Таблица 5.6
┌──────────────────────────────────────────────────────────────────────────────────────────────────┐
│ Размеры в мм │
├──────────────┬──────────┬───────┬──────┬────────┬──────────────┬───────┬──────────┬─────┬────────┤
│ Обозначение │ Класс │ d_н │ s │ d_0 │ z при │ альфа │ s/d_н │ h_1 │h_2* при│
│ типа │ арматуры │ │ │ +-2 ├───────┬──────┤ _5° │ │ │d_н > 12│
│ соединения, │ │ │ │ │ s=6-7 │s=8-26│ │ │ │ +- 1 │
│способа сварки│ │ │ │ │ │ │ │ │ │ │
├──────────────┼──────────┼───────┼──────┼────────┼───────┼──────┼───────┼──────────┼─────┼────────┤
│Т12-Рз │A-I │ 8-40 │ >= 6 │d_1 + 2 │ 1-2 │ 2-3 │ 50° │ >= 0,50 │ <=2 │ 4 │
│ ├──────────┼───────┼──────┤ │ │ │ ├──────────┤ │ │
│ │А-II │ 10-40 │ >= 8 │ │ │ │ │ >= 0,65 │ │ │
│ ├──────────┼───────┼──────┤ │ │ │ ├──────────┤ │ │
│ │А-III │ 8-40 │ >= 6 │ │ │ │ │ >= 0,75 │ │ │
│ ├──────────┼───────┼──────┤ │ │ │ │ │ │ │
│ │Ат-IIIС │ 8-18 │ >= 8 │ │ │ │ │ │ │ │
└──────────────┴──────────┴───────┴──────┴────────┴───────┴──────┴───────┴──────────┴─────┴────────┘
______________________________
* При d_н <= 12 мм допускается выполнять соединения без подварочного шва.
5.4. Ванная и многослойными швами одноэлектродная сварка тавровых соединений
5.4.1. Приварку втавр рабочей арматуры непосредственно к опорным частям колонн (лист, плита) или изготовление крупногабаритных закладных деталей можно осуществлять, применяя конструкции и размеры соединений, приведенных на рис. 5.12 и в табл. 5.7, используя при этом инвентарные формующие устройства.
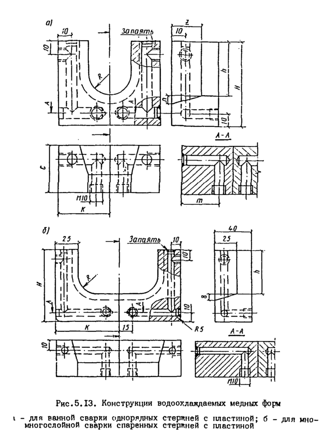
5.4.2. Конструкции и размеры инвентарных водоохлаждаемых медных форм должны соответствовать приведенным на рис. 5.13 и в табл. 5.8.
5.4.3. Сборку изделий следует осуществлять, как правило, в кондукторах. Для сохранения перпендикулярности элементов готового изделия одинарные или спаренные стержни перед сваркой нужно собирать "с обратным уклоном", т.е. под угол альфа = 5-7° (рис. 5.14). Конструкция кондуктора должна обеспечивать возможность жесткого закрепления пластин и свободную деформацию стержней.
При сварке закладных изделий типа "закрытый столик" вначале все стержни должны быть приварены к одной пластине, после чего пластину с приваренными стержнями необходимо освободить от закрепления и сварить другие концы стержней со второй закрепленной пластиной.
Примечание. Сварка спаренных стержней ГОСТ 14098-91 не регламентирована, однако, такие конструктивные решения в практике встречаются и бывают экономически целесообразны.
Таблица 5.7
┌──────────────────────────────────────────────────────────────────────────────────────────────────┐
│ Размеры в мм │
├─────────────┬───────────┬───────┬──────────┬──────────┬───────┬───────┬──────┬───────────┬───────┤
│Обозначение │Класс │ d_н │ l │ I_1 │ с │ c_1 │ h_1 │ альфа │ s/d_н │
│соединений, │арматуры │ │ │ │ │ │ │ │ │
│способа │ │ │ │ │ │ │ │ │ │
│сварки │ │ │ │ │ │ │ │ │ │
├─────────────┼───────────┼───────┼──────────┼──────────┼───────┼───────┼──────┼───────────┼───────┤
│Т13-Р_и │А-I, │ 16 │ <= d_н │ 10-14 │ 30 │ 24 │ 2-3 │ 15-20° │>= 0,5 │
│ │А-II, ├───────┤ │ ├───────┼───────┤ │ │ │
│ │A-III │ 18 │ │ │ 32 │ 27 │ │ │ │
│ │ ├───────┤ ├──────────┼───────┼───────┤ │ │ │
│ │ │ 20 │ │ 12-16 │ 34 │ 29 │ │ │ │
│ │ ├───────┼──────────┤ ├───────┼───────┤ │ │ │
│ │ │ 22 │<= 0,8 d_н│ │ 38 │ 31 │ │ │ │
│ │ ├───────┤ │ ├───────┼───────┤ │ │ │
│ │ │ 25 │ │ │ 41 │ 33 │ │ │ │
│ │ ├───────┤ │ ├───────┼───────┤ │ │ │
│ │ │ 28 │ │ │ 44 │ 38 │ │ │ │
│ │ ├───────┼──────────┤ ├───────┼───────┤ │ │ │
│ │ │ 32 │<= 0,5 d_н│ │ 52 │ 44 │ │ │ │
│ │ ├───────┤ │ ├───────┼───────┤ │ │ │
│ │ │ 36 │ │ │ 57 │ 47 │ │ │ │
│ │ ├───────┤ │ ├───────┼───────┤ │ │ │
│ │ │ 40 │ │ │ 61 │ 52 │ │ │ │
└─────────────┴───────────┴───────┴──────────┴──────────┴───────┴───────┴──────┴───────────┴───────┘
5.4.4. Режим ванной сварки одинарных стержней с пластиной следует выбирать, пользуясь данными табл. 6.20. Многослойную сварку спаренных стержней диаметрами 32-40 мм с пластиной следует выполнять электродами диаметром 5-6 мм при токе 225-275 А.
5.4.5. При ванной сварке одинарных стержней с пластиной необходимо:
касанием электрода о пластину возбудить дугу на высоте 3-5 мм от дна медной формы и задержать электрод до образования на дне формы небольшого количества жидкого металла;
перемещая электрод, перенести дугу на нижнюю часть торца стержня и после его проплавления перемещать электрод вдоль и поперек межторцевого зазора, так же как при ванной сварке стержней (см. п. 6.6.4).
Таблица 5.8
┌────────────────────┬──────────┬──────────────────────────────────────────────────────────────────┐
│Назначение форм │Диаметры │ Размеры форм, мм │
│ │сваривае- ├───────┬─────┬────────┬───────┬───────┬─────────┬────────┬────────┤
│ │мых │ R │ Н │ h │ k │ с │ m │ n │ Z │
│ │стержней │ │ │ │ │ │ │ │ │
│ │(d_н), мм │ │ │ │ │ │ │ │ │
├────────────────────┼──────────┼───────┼─────┼────────┼───────┼───────┼─────────┼────────┼────────┤
│Для ванной сварки │ 16 │ 10 │ 50 │ 30 │ 32 │ 30 │ 20 │ 5 │ 20 │
│одинарных стержней с│ │ │ │ │ │ │ │ │ │
│пластиной │ 18 │ 11 │ │ 31 │ │ │ 21 │ │ │
│(рис. 5.13, а) │ │ │ │ │ │ │ │ │ │
│ │ 20 │ 12 │ │ 32 │ │ │ 21 │ │ │
│ ├──────────┼───────┼─────┼────────┼───────┼───────┼─────────┼────────┼────────┤
│ │ 22 │ 13 │ 57 │ 35 │ 35 │ 35 │ 25 │ 6 │ 22 │
│ │ │ │ │ │ │ │ │ │ │
│ │ 25 │ 14,5 │ 58 │ 36 │ 36 │ │ 26 │ │ │
│ │ │ │ │ │ │ │ │ │ │
│ │ 28 │ 16 │ 62 │ 40 │ 38 │ │ 28 │ │ │
│ ├──────────┼───────┼─────┼────────┼───────┼───────┼─────────┼────────┼────────┤
│ │ 32 │ 18 │ 71 │ 46 │ 43 │ 40 │ 33 │ 8 │ 25 │
│ │ │ │ │ │ │ │ │ │ │
│ │ 36 │ 20,5 │ 76 │ 51 │ 45 │ │ 35 │ │ │
│ │ │ │ │ │ │ │ │ │ │
│ │ 40 │ 22,5 │ 80 │ 55 │ 57 │ │ 37 │ │ │
├────────────────────┼──────────┼───────┼─────┼────────┼───────┼───────┼─────────┼────────┼────────┤
│Для многослойной │ 32 │ 18 │ 71 │ 46 │ 61 │ - │ - │ - │ - │
│сварки спаренных │ │ │ │ │ │ │ │ │ │
│стержней с пластиной│ 36 │ 20,5 │ 76 │ 51 │ 66 │ │ │ │ │
│(рис. 5.13, б) │ │ │ │ │ │ │ │ │ │
│ │ 40 │ 22,5 │ 80 │ 55 │ 70 │ │ │ │ │
└────────────────────┴──────────┴───────┴─────┴────────┴───────┴───────┴─────────┴────────┴────────┘
5.4.6. При многослойной сварке спаренных стержней с пластиной необходимо:
возбудить дугу на вертикальной плоскости пластины на высоте 3-5 мм от дна медной формы (рис. 5.15, а) и перемещать ее вдоль пластины (рис. 5.15, б). При этом электродный металл переплавляется с металлом пластины и формируется валиковый шов длиной 75-85 мм, высотой 3-4 мм и шириной 7-8 мм (часть валика ложится на дно медной охлаждаемой формы);
перенести дугу на нижнюю часть торцов стержней (рис. 5.15, б) и накладывать валиковый шов в обратном направлении до места первоначального возбуждения дуги;
не прерывая дугу (допускаются перерывы только для быстрой смены электрода), перемещать электрод в полости, образованной стенкой формы и торцами стержней, придавая ему колебательное движение "елочкой" (рис. 5.15, в) и заполняя таким образом до верха плавильное пространство наплавленным металлом. Заканчивать сварку соединения следует перемещением электрода по центру вдоль протяженной стороны завариваемого плавильного пространства.
5.5. Контактная сварка оплавлением тавровых соединений
5.5.1. Процесс контактной сварки оплавлением тавровых соединений стержней с плоским элементом проката в наибольшей степени отвечает условиям высокой механизации при изготовлении закладных изделий, конструкция и размеры таких соединений (тип Т7-Ко) представлена на рис. 5.16 и в табл. 5.9.
5.5.2. Изготовление закладных изделий по п. 5.5.1 следует выполнять на специализированных машинах типа К-774*(5), которые обеспечивают полную автоматизацию процесса сварки для стержней диаметрами 14, 16, 18 и 20 мм (т.е. в основном для закладных изделий, применяемых в промышленном строительстве). Условия сварки на этом специализированном оборудовании излагаются в инструкции по ее применению и эксплуатации.
Таблица 5.9
┌───────────────────────────────────────────────────────────────────────┐
│ Размеры в мм │
├─────────┬─────────┬────────┬─────┬─────────┬─────┬─────────┬──────────┤
│Обозначе-│Класс │ d_н │ s │ D │бета │ s/d_н │ альфа │
│ние типа │арматуры │ │ │ │ │ │ │
│соедине- │ │ │ │ │ │ │ │
│ ния, │ │ │ │ │ │ │ │
│ способа │ │ │ │ │ │ │ │
│ сварки │ │ │ │ │ │ │ │
├─────────┼─────────┼────────┼─────┼─────────┼─────┼─────────┼──────────┤
















