книга в верде после распозна (1024283), страница 39
Текст из файла (страница 39)
х = f(a, 0). (4.242)
Для исключения температурной зависимости нужно либо стабилизировать температуру, либо вводить поправку на температурную погрешность, применять специальные схемы и методы измерения.
Если температура изменяется незначительно, то для определения концентрации раствора путем измерения его плотности р может быть использована установка, схема которой приведена на рис. 4.90,с. Анализируемая жидкость наливается в бак 1 до постоянного уровня. Постоянство уровня обеспечивается сливом излишка жидкости. В баке на глубине h с помощью дифференциального манометра 2 измеряется избыточное гидростатическое давление. Разность давлений в жидкости р и атмосферногор0 пропорциональна плотности жидкости:
Р - Ро = gph, - (4.243)
где g — ускорение свободного падения.
Недостаток установки заключается в том, что если в жидкости имеются твердые взвешенные частицы, то с течением времени они могут засорить трубку, соединяющую бак с манометром. Большую надеж-
0
ность имеет схема, приведенная на рис. 4.90,6". В бак с жидкостью 1 на глубину h, которая поддерживается постоянной, опущена труба 2. Через нее в жидкость пропускается воздух. В трубе с помощью дифференциального манометра 3 измеряется давление р. Избыточное давление р _ р0 и плотность жидкости связаны соотношением (4.243). Благодаря прокачиванию воздуха выходное отверстие трубы не забивается твердыми частицами. Расход воздуха должен быть небольшим, чтобы перепад давления от дифференциального манометра до выходного отверстия трубы был незначителен.
В обеих установках дифференциальный манометр может быть про-градуирован в единицах плотности жидкости или концентрации растворенного вещества.
Концентрация ■ электролитов может быть определена с помощью электрических преобразователей или электрохимических преобразователей другого типа.
Физические свойства газов обычно линейно зависят от их концентрации, причем чем меньше их давление, тем точнее соблюдается линейность. В бинарных смесях
а = кх + д0, (4.244)
где а — значение физической величины; х — концентрация одного из компонентов; д0 — значение физической величины, присущее второму компоненту.
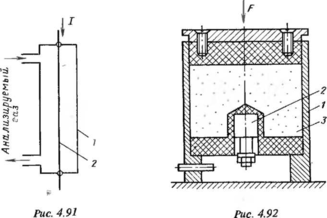
При анализе состава газов широко используется зависимость теплопроводности газа от его состава. На рис. 4.91 схематически показан термокондуктометрический преобразователь, преобразующий изменение теплопроводности газа в изменение сопротивления. Преобразователь представляет собой металлическую трубку 1, по оси которой натянута платиновая проволока 2, нагреваемая электрическим током. Через трубку проходит анализируемый газ. Тепло, выделенное электрическим током /, посредством теплопроводности газа передается на стенки трубки и рассеивается в окружающей среде. При изменении состава газа изменяются его теплопроводность, количество тепла, отданно-, го нагретой проволокой, и ее температура. Следовательно, изменяется сопротивление проволоки.
Преобразователь и режим его работы рассчитываются таким образом, чтобы наибольшее количество тепла нагретой проволоки рассеивалось путем теплопроводности через анализируемый газ. Поскольку проволока по своей длине нагрета неодинаково —в середине ее температура максимальна, а в местах заделки она равна температуре трубы — то вдоль проволоки имеет место поток тепловых потерь. Для его уменьшения проволока берется достаточно длинной и тонкой. Отношение ее длины к толщине должно быть не менее 500. Для уменьшения потерь посредством излучения проволока не нагревается выше 200—300 °С.
/
0
Большое количество тепла теряется вследствие принудительной конвекции. Для уменьшения последней скорость обмена газа в преобразователе должна быть минимальной. Это снижает быстродействие, но увеличивает точность измерения.
Преобразователь включается в автоматический мост. Для уменьшения температурной погрешности в плечо моста, смежное с рабочим преобразователем, включается аналогичный образцовый преобразователь, содержащий газовую смесь из тех же компонентов, но постоянного состава. Температура обоих преобразователей должна быть одинакова.
В некоторых встречающихся в производстве случаях многокомпонентную систему можно рассматривать как двухкомпонентную со сложными компонентами. Это возможно в тех случаях, когда состав сложных компонентов постоянный. Например, при определении содержания метана в воздухе воздух можно считать сложным компонентом смеси.
Определение состава многокомпонентой системы с произвольным содержанием компонентов обычно более сложно, поскольку физические величины, характеризующие свойство системы, в общем случае зависят от всех компонентов. Для упрощения задачи иногда удается найти такое свойство ау, которое сильно зависит от концентрации одного компонента х% и мало от концентрации п — 1 остальных, т. е
da./dx. > da./dx., где 0 < i < п, i Ф к. (4.245)
] К ] I
В этом случае по результату измерения величины щ можно определить концентрацию компонента
Так, например, магнитная восприимчивость кислорода много больше магнитной восприимчивости других компонентов воздуха и многих других газов. В термомагнитных газоанализаторах на кислород
0
измеряется магнитная восприимчивость газовой смеси. Прибор градуируется в процентах 02.
Относительная диэлектрическая приницаемость воды (еУн20 * яв 80) много больше относительной диэлектрической приницаемости других диэлектриков. На измерении ег основано измерение влажности. Конструктивная схема емкостного датчика для измерения влажности сыпучих материалов (торфа, зерна и т. д.) приведена на рис. 4.92. Датчик представляет собой коробку, образованную металлическим корпусом 1, изоляционным дном, в которое запрессован металлический стержень 2, и изоляционной крышкой. В коробку засыпается определенное количество материала 3. Прижимное устройство через крышку сжимает материал с нормированной силой F и обеспечивает постоянную плотность засыпки. Корпус 1 и стержень 2 образуют конденсатор, его емкость зависит от влажности материала.
В общем случае физические величины а, характеризующие свойства многокомпонентной системы, определяются всеми ее компонентами. Эта связь обусловливает функциональную зависимость
а = ip(xi, х2, .... хп), (4.246)
гдех1.х2, ... хп концентрации соответствующих компонентов.
Уравнение (4.246) содержит п неизвестных — столько же, сколько компонентов в анализируемой системе.
Для определения п неизвестных концентраций необходимо п уравнений. В качестве одного из них может служить тривиальное
Xi + х2 + ... + хп = 1, (4.247)
т. е. сумма концентраций, выраженных в относительных единицах, равна единице.
Для получения полной системы уравнений, кроме того, нужно измерить п — 1 физическую величину, характеризующую п — 1 свойство.
При этом будет получена система уравнений
Л\ ~ Ч>\ (*ь *2.....хп _ i)»
а2 = ip2 (хь х2, хп _ ,);
(4.248)
ап - 1 = *п - *2' -' хп - О'
0
из которой можно определить искомые концентрации х,-. Разрешив систему уравнений (4.248), с учетом (4.247) получим
*i = /0*1, Яг, а,
*2 = /(«1, а2, а
(4.249)
хп - 1 = 4 - 1<вь «2, а„ _ ,);
хи = 1 - х, х2 ...
-X,
'и - Г
Таким образом, задача определения концентраций сводится к измерению физических величин щ и вычислению неизвестных концентраций. При небольшом числе компонентов, например для трехкомпо-нентной системы, можно построить специализированные функциональные преобразователи. Для более сложной системы целесообразно использовать ЭВМ.
При анализе многокомпонентных систем иногда удается провести упрощение, уменьшив число компонентов, и провести анализ упрощенных систем. При промышленном анализе многокомпонентных газовых смесей и жидких летучих продуктов используется хроматография. В хроматографах компоненты сложной смеси разделяются, образуют двухкомпонентные смеси компонентов с инертным газом и автоматически анализируются.
Для разделения веществ используется явление сорбции — поглощения вещества из окружающей среды. Количество сорбированного вещества тем больше, чем выше его концентрация в среде, окружающей сорбент. Если вещество в среде отсутствует, то, будучи ранее сорбированным, оно отдается в омывающую среду. Сорбция бывает двух видов. Поглощение вещества всей массой сорбирующей жидкости называется абсорбцией. Абсорберы применяются для анализа систем, содержащих органические газовые соединения, углеводороды, воду, S02, S03. Поглощение вещества поверхностным слоем твердого или жидкого сорбента называется адсорбцией. Адсорберы служат для определения концентраций неорганических газов.
Функциональная схема хроматографа приведена на рис. 453,а. Через газовую систему пропускается поток инертного газа, называемого газом-носителем. В качестве газа-носителя применяют водород, азот, инертные газы и др. В установившийся поток впускается определенная порция исследуемой газовой смеси — проба. Она вместе с газом-носителем поступает в хроматографическую разделительную колонку 1, заполненную сорбентом. При подходе пробы к некоторому 242
Отработанный
Рис. 4.93
участку сорбента анализируемая компонента поглощается им, а после прохождения пробы вымывается в газ-носитель. Это замедляет движение данного компонента пробы. Скорость движения компонента по разделительной колонке уменьшается по сравнению со скоростью газа-носителя. Уменьшение скорости тем больше, чем больше сорбци-онная способность вещества. Различные компоненты имеют различные скорости движения по колонке, что приводит к пространственному разделению компонентов в потоке газа-носителя. Образуются участки двухкомпонентных смесей. Схематически процесс разделения показан на рис. 4,93,6". На нем А, В, С — различные компоненты смеси.
Газ-носитель с пространственно разделенными компонентами поступает в детектор 2 (рис. 4.93,а). Это блок, измеряющий концентрацию вещества в газе-носителе. Детекторы могут иметь различные принципы действия. В частности, может быть применен термокондукто-метрический преобразователь, описанный выше.
Выходной сигнал детектора (изменение сопротивления или напряжение) поступает в автоматический мост или потенциометр 3, где он измеряется и регистрируется. По окончании хроматографического Цикла, когда все компоненты пройдут через детектор, на диаграммной бумаге регистратора записывается хроматограмма 4. Она содержит ряд "пиков", соответствующих компонентам смеси. Ордината диаграммы соответствует концентрации, а интеграл каждого "пика"- количест-
0
Управление нагревателями
Управление Вентилями
1_1
| Детектор 1 | Усилитель | АЦП | Микропроцессор 1 | ЦАП | Регистр | |||||||||
| Детектор 2 | Усилитель | АЦП | ЦАП | Регистр | ||||||||||
| Дисплей | Табло | |||||||||||||
Микропроцессор 2.
Печать
Рис. 4.94
ву компонента в пробе. Полный интеграл всех "пиков" (всей диаграммы) соответствует концентрации 100%. Исходя из этого рассчитывается процентный состав компонентов.















