книга в верде после распозна (1024283), страница 35
Текст из файла (страница 35)
Рис. 4.68 рис. 469
измерения массы. В различных модификациях диапазон измерения изменяется от 0,030-1,6 до 0,16-8 т. Класс точности 1,0.
Градуировка и поверка динамометров производится с помощью образцовых мер силы. В качестве этих мер служат гири. Вес гири (сила тяжести)
Р = mg, (4.174)
где т — масса; g — ускорение свободного падения.
Для точного определения силы тяжести необходимо знать значение g в месте поверки динамометра.
Измерение давлений. Приборы для измерения давления — манометры — можно разбить на три группы. Первую группу составляют жидкостные манометры. Эти приборы имеют два сообщающихся сосуда, заполненных жидкостью. На поверхность жидкости в одном сосуде действует измеряемое давление. Это изменяет уровень жидкости в другом. Разность уровней Ah пропорциональна разности давлений Pi р2.- действующих в одном и другом сосуде:
Ah = <рх - p2)/pg, (4.175)
где р — плотность жидкости; g — ускорение силы тяжести.
Жидкостный манометр является дифференциальным манометром, измеряющим разность давлений. Однако с его помощью можно произвести и другие измерения давления. Если во втором сосуде над жид-
0
Pi
а) В)
Рис. 4.70
костью создан вакуум, то манометр измеряет абсолютное давление ра. Если второй сосуд соединен с атмосферой, то прибор измеряет избыточное давление ри. Если измеряемое абсолютное давление ра меньше атмосферного рат, то разность уровней будет пропорциональна вакууму рв:
д/г = <р* ~ Pjlpg. (4 176)
В электрических жидкостных манометрах изменение уровня жидкости преобразуется в электрическую величину. На рис. 4.70,а показана схема дифференциально-трансформаторного поплавкого датчика разности давлений ДПЭМ-2. В этом датчике уровень жидкости с помощью поплавка постоянного погружения 1 преобразуется в перемещение плунжера дифференциально-трансформаторного преобразователя 2 с последующим преобразованием в ЭДС. Заполнителем могут быть вазелиновое или трансформаторное масло, вода,ртуть.
Ко второй группе относятся пружинные манометры. В этих манометрах измеряемое давление подается в манометрическую пружину и деформирует ее на величину (перемещение), пропорциональную давлению. В качестве манометрической пружины используются сильфон, мембрана или трубчатая пружина (трубка Бурдона). Деформация пружины с помощью преобразователя перемещения преобразуется в электрическую величину. На рис. 4.70,6 показана схема дифференциально-трансформаторного датчика разности давления типа ДМ. Давления Pi и р2 подаются в камеры, содержащие мембранные коробки 1, 2. 212
Рис. 4.71
Полости коробок сообщаются и заполнены дистиллированной водой. Измеряемая разность давлений деформирует коробки и перемещает плунжер дифференциально-трансформаторного преобразователя 3. Перемещение плунжера, следовательно, и выходная ЭДС пропорциональны разности давлений. Диапазоны измерения таких дифференциальных манометров лежат в пределах от 1,6 до 630 кПа. Основная погрешность в комплекте с вторичным прибором не превышает ± 2 %.
Работа манометров третьей группы основана на изменении свойств газа '(плотности, теплопроводности, ионизационного тока и т. д.) под действием давления. Изменение свойств газа преобразуется в изменение электрической величины. Манометры этой группы в основном служат для измерения абсолютного давления и с успехом применяются для измерения вакуума.
Градуировка и поверка манометров производятся с помощью гру-зопоршневого манометра (рис. 4.71). Он представляет собой гидравлическую систему, давление в которой создается поршнем 1, вставленным в цилиндр грузовой колонки 2. Поршень нагружается дисковыми гирями 3. Давление
Р = G/Q, (4.177)
где G —вес поршня с гирями, Q — площадь сечения поршня. В гидравлическую систему включается поверяемый манометр 4. Грузопоршне
0
'//////У/////////////////////////////////,
Рис. 4.72
вой манометр заполняется трансформаторным маслом через воронку 5. Для регулирования высоты поршня с гирями имеется вспомогательный поршень 6 который вытесняет масло из своего цилиндра в цилиндр грузовой колонки. Для увеличения точности создания давления поршень 1 с гирями 3 приводится во вращение. При вращении значительно уменьшается трение. Образцовые грузопоршневые манометры имеют класс точности 0,05 Измерение перемещений при вибрации. Для измерения перемещений тела при его вибрации необходимо иметь неподвижную систему отсчета. При этом перемещения измеряются с помощью любого преобразователя перемещений, связанного с колеблющимся телом и неподвижной точкой в системе отсчета. Однако в измерительной практике часто встречаются случаи, когда неподвижная точка недоступна. Таковы, например, условия измерения вибрации на движущихся транспортных средствах. На подобных объектах неподвижная точка делается искусственно с помощью сейсмического преобразователя (рис. 4.72). Он состоит из корпуса 1, установленного на объекте,вибрация которого измеряется, сейсмической массы 2, подвешенной на пружине 3, и демпфера 4, служащего для улучшения динамической характеристики преобразователя. Сейсмический преобразователь преобразует вибрационные перемещения корпуса в перемещения массы относительно корпуса. Он содержит отсчетное устройство 5 или иной преобразователь, служащий для преобразования перемещения массы в электрическую величину.
Сейсмическая масса выбирается возможно большей. В силу инерции она стремится сохранить свое положение в пространстве и служит точкой отсчета вибрационных перемещений. При вибрации корпуса пружина периодически растягивается и стремится сместить сейсмическую массу. Поскольку сила пружины пропорциональна ее жесткости, то чем меньше жесткость, тем лучше сейсмическая масса сохраняет свое положение в пространстве. Под действием пружины развивается ускорение сейсмической массы и начинается ее смещение. За время половины периода вибрации масса несколько смещается. За вторую половину периода сила пружины действует в обратную сторону и производит обратное смещение. Смещение массы является смещением "неподвижной" точки отсчета и обусловливает динамическую погрешность. С увеличением частоты измеряемой вибрации смещение массы уменьшается и уменьшается динамическая погрешность.
0
Для определения частотных характеристик сейсмического преобразователя и определения его динамической погрешности нужно составить дифференциальное уравнение движения сейсмической массы, найти его решение и проанализировать его. Сумма всех сил, действующих на сейсмическую массу, равна ее силе инерции
£F = mi, (4.178)
где z — ускорение сейсмической массы относительно неподвижной точки (относительно абсолютной системы координат). На массу действует сила пружины
Fnp = су, (4.179)
где с — жесткость пружины; у — растяжение пружины, равное смещению массы относительно корпуса. Сила демпфирования
Fy = hy, (4.180)
где у — скорость массы относительно корпуса; к — коэффициент демпфирования. Подставив (4.179), (4.180) в (4.178), получим
ку + су ~ mz. (4.181)
Перемещение массы относительно абсолютной системы координат
г = х -у, (4.182)
где х — измеряемое перемещение корпуса относительно неподвижной системы координат.
Учитывая (4.182), получим дифференциальное уравнение движения массы:
ту + ку + су = nix. (4.183)
Параметрами уравнения являются конструктивные параметры преобразователя: т, к, с.
Если демпфирование отсутствует (к = 0) и масса совершает свободное движение внутри неподвижного корпуса (х = 0), то уравнение (4.183) имеет вид
ту + су = 0. (4.184)
Известно, что решение этого уравнения
у = УапсооГ. (4.185)
215
Подставив решение (4.185) в (4.184), получим
-cooFsincj0t + (с/т) sin cj0t = 0. (4.186)
Из этого следует, что со0 = \Jcjm является круговой частотой собственных колебаний массы сейсмического преобразователя. Разделив уравнение (4.183) на т, получим
у + 2co0/3j + coly = х, (4.187)
где (3 = kf (2со0т) — степень успокоения.
Величины (3 и со являются вибрационными параметрами сейсмического преобразователя.
Для получения частотных характеристик положим, что корпус испытывает гармоническое колебание х = Xsmcot. В этом случае колебания массы относительно корпуса также гармонические с круговой частотой со. Для решения задачи используем символический метод Х_ =
= Хе'ш,У = Уе'ш + ^. Подставив эти значения в (4.187), получим
-со2! + /co2Pto0F + со?,! = -со2Х (4.188) откуда
Y = *со2/[(со2 - со?) - 2/сосооР]. (4.189)
Амплитуда и фаза колебаний массы зависят от частоты Комплексная чувствительность (передаточная функция) преобразователя
S(/со) = Y/X = со2/[(со2 - со2,) - 2/ОХОО0]. (4.190)
Если ввести понятие относительной частоты X = со/со0, то (4.190) принимает вид
S (/со) = Х2/[(Х2 - 1) - 2/Хр]. (4.191)
Модуль комплексной чувствительности |5(/со)| определяет амплитудно-частотную характеристику, т. е. зависимость чувствительности от частоты:
S(X) = X2/v/(X2 - l)2 + 4Х2Р2' (4.192)
Графики амплитудно-частотной характеристики при различных (5 представлены на рис*. 4.73. При малых |3 имеется резонансный максимум, расположенный вблизи X = 1. При X > 1 чувствительность стабилизируется и становится равной 1. При этом амплитуда Y вибрации массы относительно корпуса равна амплитуде X колебаний корпуса относительно неподвижной системы координат. Относительно этой системы масса неподвижна (z = 0).
0
(г>„
Рис. 4.73
Относительная амплитудная погрешность сейсмического преобразователя
5 У = Д Y/X ~ (У - Х)/Х = S (X) - 1. (4.193)
Погрешность практически отсутствует при большой частоте (X -»■ °°) и возрастает при приближении к резонансу. При измерении простой гармонической вибрации рабочая область частот преобразователя ограничивается частотой сон или Хд, при которой погрешность 5 У не превышает допустимой величины. Частота сон зависит от степени успокоения (3 и минимальна при (3 = 0,6 0,7.
Часто требуется измерить сложные периодические и непериодические вибрации. Пусть корпус преобразователя испытывает перемещение х = /(it). Сейсмический преобразователь работает без погрешностей, если при этом перемещение массы относительно корпуса описывается выражением у = /(г). Для такой работы сейсмический преобразователь должен иметь одинаковую чувствительность, равную 1, на всех частотах, составляющих спектр измеряемой вибрации, и фазовый сдвиг между спектральными составляющими входной и выходной величин должен отсутствовать.
Эти условия часто невыполнимы. Поэтому обычно считают, что погрешность отсутствует, если перемещение массы относительно корпуса описывается выражением у = kf(t — т), где т — время запаздывания. Чтобы величина у удовлетворяла такому выражению, необходимо постоянство чувствительности во всем спектре измеряемой вибрации и необходимо также, чтобы в этой полосе частот фазовый сдвиг линейно возрастал при возрастании частоты. Эти условия выполняются проще, чем условия, рассмотренные ранее. Зависимость фазового сдвига
0
от частоты можно получить из выражения для комплексной чувствительности
ip = arctg[2X/3/(X2 - 1)]. (4.194)
е Нижняя частота спектра, при кото-■° рой отсутствуют амплитудная и фазовая погрешности, зависит от степени успокоения (3 и минимальна при /3, лежащей в диапазоне от 0,6 до 0,7.
Успокоение сейсмического преобразователя создается жидкостным, воздушным или магнитоиндукционным демпфером. При использовании любого типа демпфера коэффициент демпфирования зависит от температуры, что затрудняет получение оптимальной величины (3.
В качестве преобразователя перемещения массы относительно корпуса может использоваться реостатный, индуктивный или какой-либо иной преобразователь перемещения в электрическую величину.
Измерение скорости. Измерение скорости при малых линейных перемещениях может производиться с помощью индукционных вибродатчиков. Одна часть датчика (катушка или магнитная система с постоянным магнитом) монтируется на подвижном объекте, другая соединяется с каким-либо неподвижным объектом. ЭДС на выходе датчика пропорциональна скорости перемещения.
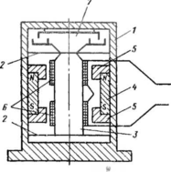
В качестве неподвижной точки может служить сейсмическая масса сейсмического датчика вибрации. Сейсмический датчик вибрации схематически показан на рис. 4.74. Он состоит иэ корпуса 1, в котором на плоских пружинах 2 укреплена ферромагнитная сейсмическая масса 3. На корпусе смонтирован кольцевой постоянный магнит 4 с полюсными наконечниками 5. Магнитный поток постоянного магнита проходит через полюса и сейсмическую массу. На последней в магнитном поле находятся две катушки б, соединенные встречно (дифференциально). При движении сейсмической массы относительно корпуса в катушках наводится ЭДС, пропорциональная скорости ее движения. Она пропорциональна измеряемой скорости вибрации корпуса относительно неподвижной точки. Диапазон рабочих частот определяется частотными характеристиками сейсмического вибродатчика. Для улучшения частотных характеристик и уменьшения частотных погрешностей в датчике имеется воздушный демпфер 7.
Индукционный вибродатчик может использоваться также для измерения амплитуды вибрации и ее ускорения. Поскольку выбрацион-ные перемещения равны интегралу от скорости, то для получения на-















