книга в верде после распозна (1024283), страница 38
Текст из файла (страница 38)
потенциальной энергии, которая определяется статическим давлением. Давление в суженном потоке меньше, чем давление в потоке до сужения. Разность давлений возрастает с увеличением скорости среды и служит мерой расхода. Сужающее устройство является преобразователем скорости потока (или его расхода) в разность давлений. Разность давлений измеряется дифференциальным манометром 3, градуированным в единицах расхода.
Определить зависимость разности давлений от расхода можно исходя из уравнения Бернулли, описывающего состояние потока в сечениях/и //. В общем виде уравнение имеет вид
Й1 + PilPg + (y'i)2/2g = h2 + p2/pg + (y'2)2/2g + %(y2)2l2g,
(4.228)
где pi и v\ — статическое давление и средняя скорость струи в сечении /, где поток еще не сужается; р'2 и v2 — то же в сечении максимального его сужения II\hy и h2 —высоты сечений /и //над некоторым уровнем; % — коэффициент потерь энергии; р — плотность среды; g — ускорение свободного падения.
При выводе функции преобразования сужающего устройства обычно принимают ряд допущений: труба целиком заполнена средой; среда — несжимаемая жидкость или газ, плотность которого изменяется пренебрежимо мало, так как р\ — р'2 < р\; труба расположена горизонтально {hy = h2); потери энергии пренебрежимо малы (£ = 0). При этом уравнение (4.228) приобретает вид
(v2)2 - (vi)2 = (2/p)(pi -р'3). (4.229)
В силу неразрывности потока расход в сечении / равен расходу в сечении //
Q = v.'S, = v'2S2, (^2i0)
где 5j nS2 — площади сечений струи. Из (4.230)
v,' = v'jSj/S,. (4.231)
Подставив (4.231) в (4.229) и имея в виду (4.230), получим
Q = <$2 = (Wl -S2JS22) V2(pi -P2)lp. (4.232)
В реальных условиях вместо давления невозмущенного потока р\ измеряется давление pj непосредственно перед сужающим устройством, а вместо давления р'2 в наиболее сжатой струе измеряется давление р2 (рис. 4.85). Кроме того, расчет расхода удобно производить исходя из конструктивного размера S0 — площади отверстия сужающего устройства. Для корректировки формулы в нее вводится поправоч-
0
ный коэффициент а — коэффициент расхода. Коэффициент расхода а зависит от отношения диаметров трубы и сужающего устройства, параметров среды, режима течения (числа Рейнольдса) и характеристик сужающего устройства. Расход определяется по формуле
Q = aSn y/2(pi -ра)/>;
(4.233)
где S0 — площадь сечения сужающего отверстия.
В качестве сужающего устройства обычно используют так называ-* емые нормальные сужающие устройства: нормальные диафрагмы (рис. 4.86,с), нормальные сопла (рис. 4.86,6), трубы Вентури VP".....ги>°; •
Достоинства расходомеров с сужающими устройствами заключаются в их универсальности. Этими расходомерами можно измерять расход любых однофазных, а в ряде случаев двухфазных сред. Они пригодны для измерения расхода в трубах практически любого диаметра и при любом давлении. Расходомер состоит из сужаюшего устройства, соединительных трубок и серийно выпускаемого дифференциального манометра, конструкция которого не зависит от измеряемой среды и расхода. Сужающее устройство рассчитывается по стандартной методике. Исходными' данными являются условия измерения и входные данные дифференциального манометра. Сужающие устройства изготавливаются потребителем.
Основными недостатками расходомеров с сужающими устройствами являются нелинейная функция преобразования, малое отноше-rae Qmax/Qmin> обычно не превышающее 3, и затруднения при измерении пульсирующих и переменных расходов. Основная приведенная погрешность расходомеров этого типа не превышает 1—3 %.
Расход жидкости в трубах с большей точностью может быть измерен с помощью турбинных расходомеров. Устройство датчика приведено на рис. 4.87. Датчик представляет собой турбинку 1, ось которой укреплена в подшипниках 2. На оси запрессован стальной стержень 3. Турбинка установлена в трубе 4, изготовленной из немагнитного материала. Снаружи трубы смонтирован импульсный индукционный преобразователь 5.
0
При поступательном движении жидкости по трубе турбинка вращается. Если трение в подшипниках пренебрежимо мало, то частота вра> щения такова, что жидкость проходит между лопастями турбинки поступательно, без вращения вокруг оси турбинки. Частота вращения турбинки пропорциональна скорости движения жидкости. Вращение стального стержня в поле постоянного магнита индукционного преобразователя генерирует в катушке импульсы напряжения. Их частота/ пропорциональна частоте вращения турбинки и, следовательно, расходу жидкости. Вторичным преобразователем является частотомер, про-градуированный в единицах расхода.
Турбинные расходомеры применяются для измерения расхода чистых жидкостей. Твердые примеси ухудшают качество подшипников, увеличивают трение и погрешность расходомера. Расходомер требует индивидуальной градуировки, поскольку его градуировка справедлива, лишь для одного распределения скоростей жидкости по сечению трубы. При постановке турбинки в трубу другого диаметра распределение скоростей будет иным и градуировка изменится. Погрешность турбинных расходомеров обычно имеет порядок 0,3—1,5 %, хотя имеются приборы с погрешностью 0,1 %. Расходомеры этого типа могут иметь постоянную времени (до 1—50 мс). Их можно применять для измерения расхода переменных и пульсирующих потоков.
Аналогичные преобразователи служат для измерения скорости потока жидкости в различных точках сечения канала или русла реки. Они могут также использоваться для измерения скорости судна относительно воды.
Для измерения расхода воды и других электропроводных жидкостей могут использоваться индукционные расходомеры, устройство которых показано на рис. 4.88. Жидкость, расход которой измеря-
0
Рис. 4.88
ется, протекает по трубе /, изготовленной из изоляционного материа-ла^Лруба находится между полюсами магнитной системы 2. Магнит-ньш поток возбуждается переменным током промышленной частоты в обмотке 3. Через трубу проходят два диаметрально расположенные электрода 4, касающиеся жидкости. При ее протекании между электродами появляется ЭДС.
Можно считать, что в течение некоторого малого интервала времени At магнитная индукция В в жидкости между полюсами остается постоянной. Электроды, жидкость между ними и измерительная цепь образуют замкнутый контур, причем один его проводник (жидкость) перемещается в магнитном поле. При его перемещении со скоростью v в контуре, имеющем один виток (w = 1), согласно закону электромагнитной индукции индуцируется ЭДС
е = Bvd,
(4.234)
где d — длина "проводника", движущегося в магнитном поле, равная внутреннему диаметру трубы d.
Поскольку индукция изменяется гармонически с частотой питающего напряжения, то индуцированная ЭДС изменяется таким же образом. Ее действующее значение
Е = Bvd, (4.235)
где В — действующее значение индукции.
ЭДС пропорциональна скорости протекания жидкости и, следовательно, ее расходу. ЭДС преобразователя усиливается усилителем переменного тока и подается на указатель. Значение ЭДС может также измеряться и регистрироваться автоматическим потенциометром переменного тока.
0
Генерируемая ЭДС имеет порядок нескольких милливольт и соизмерима с ЭДС, трансформируемой в измерительный контур непосредственно с обмотки возбуждения. Для компенсации последней служит дополнительная обмотка 5 и переменный резистор R. В обмотке трансформируется ЭДС, и часть ее подается в измерительный контур в про-тивофазе с паразитной ЭДС. С помощью резистора R величина компенсирующей ЭДС подбирается равной паразитной ЭДС и компенсирует ее.
Индукционные расходомеры пригодны для измерения расхода вязких, агрессивных и сильно загрязненных (пульп) жидкостей, удельное сопротивление которых не должно превышать 103 — 10s Ом-м. Расходомеры безынерционны и могут служить для измерения расхода быстропеременных и пульсирующих потоков. Индукционные расходомеры типа ИР-Ш имеют диаметр условного проходного отверстия от 10 до 80 мм. Верхние пределы измерения — от 0,32 до 160 м3/ч. Основная погрешность 1—1,6%.
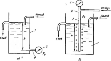
Для измерения жидкости в открытых руслах и не полностью заполненных трубопроводах может применяться щелевой расходомер. Он имеет (рис. 4.89, с) резервуар 1, в который из трубы 2 наливается жидкость. Перегородки 3 служат для ее успокоения. В стенке резервуара есть щель 4, из которой жидкость свободно вытекает. Щель треугольной формы показана на рис. 4.89,6". Уровень жидкости в резервуаре h зависит от измеряемого расхода. С помощью поплавкового уровнемера уровень жидкости преобразуется в показания прибора.
Для определения функции преобразования резервуара со щелью выделим на высоте у слой жидкости толщиной dy. Внутри резервуара жидкость неподвижна, ее скорость vp = 0; слой находится под давлением
Рр = Pg(h - у), (4.236)
где р — плотность жидкости; g — ускорение свободного падения. 236
В щели жидкость движется со скоростью истечения vm, гидростатическое давление не уравновешивается стенкой и равно нулю (рщ = = 0). Уравнение Бернулли (4.228) для щели и внутренней части слоя имеет вид
v lj2g = pp/pg = h -у, (4.237)
откуда скорость истечения составляет
vm = y/2g(h - у)'. (4.238)
/
Расход из вьщеленного сечения
dQ = axdyviu = axy/2g(h - y)'dy, (4.239)
i
где a — коэффициент расхода, учитывающий потери энергии и зависящий от свойств жидкости; х — ширина щели на уровне}».
Если ширина щели х = b постоянна, то, интегрируя (4.239), получаем
h _ 2
Q = aby/2g J y/h - y'dy = — aby/Igh3/2. (4.240) 0 3
Уровень жидкости перед щелью постоянной ширины нелинейно зависит от расхода.
Изменяя профиль щели х = /(у), как показано на рис. 489,6, можно приблизить эту зависимость к линейной. Щелевые датчики расхода типа ШР-1875 имеют пределы измерения от 63 до 250 м3/ч. Их основная погрешность не превышает ± 35 %.
4.3.4. Измерение концентрации
В автоматизированном производстве для измерения концентрации наибольшее применение нашли методы, основанные на зависимости физических свойств многокомпонентной системы от содержания ее компонентов. Наиболее просто концентрация определяется в бинарной системе, состоящей из двух компонентов. В этом случае достаточно определить относительное содержание х одного вещества, так как относительное содержание другого равно 1-х. Для определения концентрации х используется зависимость физических свойств, таких, как плотность, вязкость, электропроводность, теплопроводность и др., от состава данной бинарной системы. При однозначной зависимости прибор, измеряющий это свойство, может быть програ-дуирован в единицах концентрации.
0
Рис. 4.90
К сожалению, любое физическое свойство а зависит не только от концентрации х, но и от внешних условий и, в частности, от температуры 0 анализируемой смеси:
а = <р(х, ©). (4.241)
Вследствие этого результат измерения концентрации также зависит от температуры:















