Диплом ПЗ Бакуменко Финал на печать! (1004335), страница 5
Текст из файла (страница 5)
2.4.2. Определение проектных отметок мостового перехода
В данном разделе производится расчёт следующих отметок мостового перехода:
-
Отметка уровня проезда производится по формуле 1:
-
Отметка бровки земляного полотна производится по формуле 2:
-
Отметка низа конструкции производится по формуле 3:
-
Отметка верха подферменника производится по формуле 4:
.
2.4.3. Определение отверстия моста
Расчет отверстия моста рассчитывается по формуле 5:
.
Проверяем условие по формуле 6:
Условие выполняется.
2.4.4. Определение глубин размыва
В этом расчёте необходимо определить линии общего и местного размыва, которая проходит по точкам глубины реки после размыва.
Расчет глубин общего размыва производится по формуле 7.
Полученные значения размывов в сечениях реки, сведены в табл. 2.4.2.
Таблица 2.4.2. – Параметры общего размыва варианта 4
| № Сечения |
|
|
|
| 1 | 0,070 | 6,88 | 0,167 |
| 2 | 0,570 | 1,311 | |
| 3 | 1,070 | ,2,368 | |
| 4 | 1,530 | ,3,263 | |
| 5 | 2,950 | 5,562 | |
| 6 | 6,880 | 8,256 | |
| 7 | 5,610 | 7,974 | |
| 8 | 3,670 | 6,458 | |
| 9 | 2,940 | 5,548 |
Величина полного размыв у опор определяется по формуле 7:
Полный размыв у опоры 1:
Вариант моста 4 приведен на чертежном листе №2.
2.5. Вариант 5
2.5.1. Общие сведения о проектируемом варианте
В пятом варианте по заданным условиям, для перекрытия пролета принято типовое металлическое железнодорожное пролетное строение решетчатого типа с ездой понизу полной длиной 111,14 м по типовому проекту конструкций серии 3.501.2-139 «Пролетные строения для железнодорожных мостов с ездой понизу, пролетами 33 - 110 м металлические со сварными элементами замкнутого сечения и монтажными соединениями на высокопрочных болтах, в обычном и северном исполнении».
Схема моста: 111,14.
Полная длина моста: 122,04 м.
Параметры пролетных строений приведены в таблице 2.5.1.
Таблица 2.5.1. – Параметры пролетных строений варианта 5
|
|
|
|
|
|
|
| 111,14 | 110,00 | 5,80 | 15,00 | 1,934 | 2,562 |
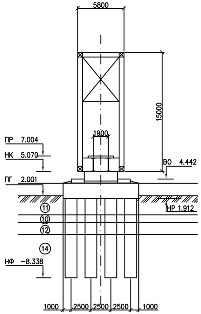
Пролет фермы длиной 111.14 м опирается на устои сборно-монолитного типа индивидуальной проектировки с фундаментами на буронабивных столбах диаметром 1,5 м, бетонируемых под водой методом ВПТ. Железобетонные буронабивные столбы диаметром 1,5 м в устое располагаются в три ряда, по четыре столба в ряду. При разработке сборно-монолитного устоя применялись шкафные блоки и закладные щиты типового проекта инв. 1067/11 «Проект столбчатых опор и фундаментов железнодорожных мостов для Северной строительно-климатической зоны». Размеры насадки-ростверка устоя 7,0х9,5 м, высота насадки-ростверка устоя – 1,7 м.
Во всех опорах фундамент заглублен в несущий слой (аргилит очень низкой прочности размягчаемый в воде сильновыветрелый до состояния твердой глины) на величину не менее 3 м.
Для устоев проектируется устройство рисберм и укрепление конусов насыпи плитами П-1.
Опорные части назначаются катковые подвижного и неподвижного типа для каждого пролетного строения по типовому проекту серия 3.501-35 «Литые опорные части под металлические пролетные строения железнодорожных мостов».
Определяется стыковой зазор для решетчатого пролетного строения:
где
– удлинение ферм за счёт температурного расширения;
– удлинение ферм за счёт усилий от подвижного состава;
– коэффициент температурного расширения;
- расчетная длина пролетного строения;
и
- интенсивности постоянной и временной нагрузок;
- расчетное сопротивление стали по пределу текучести;
- модуль упругости стали.
Зазоры между балочными пролетными строениями принимаются равными 0,1 м.
Эскизный расчет фундамента опор приведен в приложении А.
Конструкция промежуточной опоры с показанным пролетным строением по первому варианту приведена на рисунке 2.5.
Рисунок 2.5 – Промежуточная опора и пролетное строение варианта 5
2.5.2. Определение проектных отметок мостового перехода
В данном разделе производится расчёт следующих отметок мостового перехода:
-
Отметка уровня проезда производится по формуле 1:
-
Отметка бровки земляного полотна производится по формуле 2:
-
Отметка низа конструкции производится по формуле 3:
-
Отметка верха подферменника производится по формуле 4:
.
2.5.3. Определение отверстия моста
Расчет отверстия моста рассчитывается по формуле 5:
.
Проверяем условие по формуле 6:
Условие выполняется.
2.5.4. Определение глубин размыва
В этом расчёте необходимо определить линии общего и местного размыва, которая проходит по точкам глубины реки после размыва.
Расчет глубин общего размыва производится по формуле 7.
Полученные значения размывов в сечениях реки, сведены в табл. 2.5.2
Таблица 2.5.2. – Параметры общего размыва варианта 5
| № Сечения |
|
|
|
| 1 | 0,070 | 6,88 | 0,167 |
| 2 | 0,570 | 1,311 | |
| 3 | 1,070 | ,2,368 | |
| 4 | 1,530 | ,3,263 | |
| 5 | 2,950 | 5,562 | |
| 6 | 6,880 | 8,256 | |
| 7 | 5,610 | 7,974 | |
| 8 | 3,670 | 6,458 | |
| 9 | 2,940 | 5,548 | |
| 10 | 2,070 | 4,220 |
Вариант моста 5 приведен на чертежном листе №3.
2.6. Технико-экономическое сравнение вариантов моста и обоснование рекомендуемого для строительства
При подсчетах объемов работ следует использовать соответствующие данные по типовым пролетным строениям и опорам. Объемы конструктивных элементов индивидуальной проектировки подсчитывают по принятым в варианте моста размерам.
К важнейшим дополнительным показателям относятся трудоемкость и материалоемкость.
В вариантах проектируемого моста применяются пролеты из одного материала и мост имеет небольшую длину, поэтому экономическое сравнение намеченных вариантов ведется путем сопоставления их строительной стоимости[5].
Ведомости подсчета строительной стоимости и трудоемкости строительства моста по вариантам 1, 2, 3, 4, 5 и их технико-экономическое сравнение приведены соответственно в таблицах 2.6.1, 2.6.2, 2.6.3, 2.6.4, 2.6.5, 2.6.6 и 2.6.7.
Таблица 2.6.1. – Ведомость подсчета строительной стоимости варианта моста 1
| Наименование работ и конструктивных элементов | Ед. Изм. | Объём работы | Стоимость, руб. | Трудоёмкость, ч-д. | |||
| единич. | общая | единич. | общая | ||||
| 1. Устои (2 шт.) | |||||||
| 1.1 Разработка котлованов механизированным способом | м3 | 39,06 | 2,56 | 99,99 | 0,60 | 23,44 | |
| 1.2. Устройство железобетонных буронабивных столбов | м3 | 596,11 | 419,00 | 249769,83 | 18,50 | 11028,02 | |
| 1.3. Кладка монолитного железобетонного ростверка | м3 кладки | 107,10 | 82,90 | 8878,59 | 1,3 | 139,23 | |
| 1.4. Устройство шкафных блоков устоя | м3 блоков | 108,50 | 245,10 | 26593,35 | 0,6 | 65,10 | |
| Итого по устоям | 285341,76 | 11255,79 | |||||
| 2. Промежуточные опоры (3 шт.) | |||||||
| 2.1 Устройство металлического шпунтового ограждения | т. шпунта | 135,81 | 222,70 | 30244,14 | 12,30 | 1670,42 | |
| 2.2. Устройство железобетонных буронабивных столбов | м3 | 243,74 | 419,00 | 102128,11 | 18,50 | 4509,24 | |
| 2.3. Кладка монолитного железобетонного ростверка | м3 | 195,86 | 82,90 | 16237,11 | 1,3 | 254,62 | |
| 2.4. Устройство сборных опор из железобетонных блоков | м3 блоков | 173,52 | 245,10 | 42529,75 | 0,60 | 104,11 | |
| 2.5. Монолитная кладка опор бетонная (бетон омоноличивания) | м3 кладки | 259,56 | 74,90 | 19441,04 | 0,6 | 155,74 | |
| Итого по промежуточным опорам | 210580,16 | 6694,13 | |||||
| 3. Пролётные строения (4 шт.) | |||||||
| 3.1. Стоимость металлических прол. стр. из низколегированной стали | т. | 133,20 | 564,00 | 75124,80 | — | — | |
| 3.2. Монтаж ж/д пролётных строений краном | прол. стр. | 4 | 2506,00 | 10024,00 | 323,00 | 1292,00 | |
| 3.3. Устройство мостового полотна на балласте | п.м. | 122,10 | 123,70 | 15103,77 | 2,60 | 317,46 | |
| Итого по пролётным строениям | 100252,57 | 1609,46 | |||||
| Итого по мосту | 596174,49 | 19559,38 | |||||
| Итого сметная стоимость с учётом накладных расходов | 733294,62 | ||||||
Таблица 2.6.2. – Ведомость подсчета строительной стоимости варианта моста 2
| Наименование работ и конструктивных элементов | Ед. Изм. | Объём работы | Стоимость, руб. | Трудоёмкость, ч-д. | |||
| единич. | общая | единич. | общая | ||||
| 1. Устои (2 шт.) |
|
|
|
|
|
| |
| 1.1. Устройство железобетонных буронабивных столбов | м3 | 643,80 | 419,00 | 269751,41 | 18,50 | 11910,27 | |
| 1.2. Кладка монолитного железобетонного ростверка | м3 кладки | 107,10 | 82,90 | 8878,59 | 1,3 | 139,23 | |
| 1.3. Устройство шкафных блоков устоя | м3 блоков | 108,50 | 245,10 | 26593,35 | 0,6 | 65,10 | |
| Итого по устоям |
| 305223,35 | 12114,60 | ||||
| 2. Промежуточные опоры (2 шт.) |
| ||||||
| 2.1 Устройство металлического шпунтового ограждения | т. шпунта | 93,32 | 222,70 | 20783,02 | 12,30 | 1147,87 | |
| 2.2. Устройство железобетонных буронабивных столбов | м3 | 243,74 | 419,00 | 102128,11 | 18,50 | 4509,24 | |
| 2.3. Кладка монолитного железобетонного ростверка | м3 | 142,15 | 82,90 | 11784,33 | 1,3 | 184,80 | |
| 2.4. Устройство сборных опор из железобетонных блоков | м3 блоков | 115,68 | 245,10 | 28353,17 | 0,60 | 69,41 | |
| 2.5. Монолитная кладка опор бетонная (бетон омоноличивания) | м3 кладки | 173,04 | 74,90 | 12960,70 | 0,6 | 103,82 | |
| Итого по промежуточным опорам |
| 176009,32 | 6015,14 | ||||
| 3. Пролётные строения (3 шт.) |
| ||||||
| 3.1. Стоимость металлических прол. стр. из низколегированной стали | т. | 225,10 | 564,00 | 126956,40 | — | — | |
| 3.2. Монтаж ж/д пролётных строений краном | прол. стр. | 3 | 2506,00 | 7518,00 | 323,00 | 969,00 | |
| 3.3. Устройство мостового полотна на балласте | п.м. | 135,60 | 123,70 | 16773,72 | 2,60 | 352,56 | |
| Итого по пролётным строениям |
| 151248,12 | 1321,56 | ||||
| Итого по мосту |
| 632480,79 | 19451,29 | ||||
| Итого сметная стоимость с учётом накладных расходов |
| 777951,4 | |||||
, м
, м
, м
, м
, м
, м
, м
, м
, м















