Диплом ПЗ Бакуменко Финал на печать! (1004335), страница 3
Текст из файла (страница 3)
Во всех опорах фундамент заглублен в несущий слой (аргилит очень низкой прочности размягчаемый в воде сильновыветрелый до состояния твердой глины) на 3 м.
Для устоев проектируется устройство рисберм и укрепление конусов насыпи плитами П-1.
Опорные части назначаются катковые подвижного и неподвижного типа для каждого пролетного строения по типовому проекту серия 3.501-35 «Литые опорные части под металлические пролетные строения железнодорожных мостов».
Зазоры между балочными пролетными строениями принимаются равными 0,1 м.
Эскизный расчет фундамента опор приведен в приложении А.
Конструкция промежуточной опоры с показанным пролетным строением по первому варианту приведена на рисунке 2.1.
Рисунок 2.1. – Промежуточная опора и пролетное строение варианта 1
2.1.2. Определение проектных отметок мостового перехода
В данном разделе производится расчёт следующих отметок мостового перехода:
-
Отметка уровня проезда производится по формуле:
, (1)
где
- проектная отметка уровня высоких вод 1%,
;
- свободное пространство под мостом, определяющееся по [1] и равно
– строительная высота пролетного строения в пролете, равная
.
-
Отметка бровки земляного полотна производится по формуле:
; (2)
-
Отметка низа конструкции производится по формуле:
(3)
-
Отметка верха подферменника производитя по формуле:
(4)
где
– строительная высота пролетного строения в опорной части, равная
м.
.
2.1.3. Определение отверстия моста
Расчет отверстия моста рассчитывается по формуле:
, (5)
где
– фактическое отверстие моста, м;
– количество пролетов, зазоров и опор соответственно;
– полная длина пролета, м;
– зазор между пролетными строениями и устоями;
– ширина опоры в уровне
,м;
– подошва рельса;
– уровень высоких вод;
– строительная высота на опоре,м.
.
Проверяем условие:
(6)
где
– заданное отверстие моста.
Условие выполняется.
2.1.4. Определение глубин размыва
В этом расчёте необходимо определить линии общего и местного размыва, которая проходит по точкам глубины реки после размыва.
Величина общего размыва в i–ой точке водотока определяется по формуле:
, (7)
где
- глубина в i–ой точке сечения водотока;
- максимальная глубина водотока;
- коэффициент размыва, равный
.
Полученные значения размывов в сечениях реки, сведены в табл. 2.1.2
Таблица 2.1.2. – Параметры общего размыва варианта 1
| № Сечения |
|
|
|
| 1 | 0,070 | 6,88 | 0,167 |
| 2 | 0,570 | 1,311 | |
| 3 | 1,070 | ,2,368 | |
| 4 | 1,530 | ,3,263 | |
| 5 | 2,950 | 5,562 | |
| 6 | 6,880 | 8,256 | |
| 7 | 5,610 | 7,974 | |
| 8 | 3,670 | 6,458 | |
| 9 | 2,940 | 5,548 |
Величина полного размыв у опор определяется по формуле[4]:
, (8)
где
- глубина воды у опоры после размыва размыва 1%, м;
– глубина местного размыва дна водотока у опоры, м.
Полный размыв у опоры 1:
Полный размыв у опоры 2:
Полный размыв у опоры 3:
Вариант моста 1 приведен на чертежном листе №1.
2.2. Вариант 2
2.2.1. Общие сведения о проектируемом варианте
Во втором варианте по заданным условиям, для перекрытия пролетов приняты типовые металлические железнодорожные пролетные строения с ездой поверху на балласте полной длиной 34,2 м для крайних пролетов и 55,6 м для центрального пролета, типовой проект конструкций серии 3.501-49 «Металлические железнодорожные пролетные строения с ездой поверху на балласте пролетами 18,2 - 55,0 м в обычном и северном исполнении».
Схема моста: 34,2 + 55,6 + 34,2.
Полная длина моста: 135,6 м.
Параметры пролетных строений приведены в таблице 2.2.1.
Таблица 2.2.1. – Параметры пролетных строений варианта 2
|
|
|
|
|
|
|
| 34,20 | 33,60 | 2,00 | 2,07 | 2,97 | 3,49 |
| 55,60 | 55,00 | 2,00 | 3,76 | 4,91 | 5,429 |
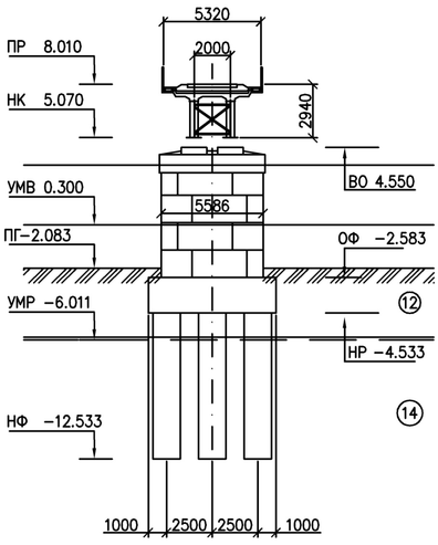
Промежуточные опоры приняты сборно-монолитные по типовому проекту серии 3.501.1-150.0-4 «Опоры унифицированные железнодорожных мостов с применением изделий заводского изготовления» выпуски 0-4 обтекаемой формой без заострения. Размеры тела опоры – 4,207х5,586 м. Фундамент принимается на буронабивных столбах диаметром 1,5 м, бетонируемых под водой методом ВПТ. Ростверк имеет размеры 5,207х7,0 м. Высота ростверка промежуточной опоры – 1,95 м. Железобетонные буронабивные столбы диаметром 1,5 м располагаются в два ряда, по три столба в ряду. Расстояние между осями столбов вдоль оси моста - 3,0м, поперек оси моста - 2,5м.
Устои для данного варианта принимаются сборно-монолитные индивидуальной проектировки с фундаментами на буронабивных столбах диаметром 1,5 м, бетонируемых под водой методом ВПТ. Железобетонные буронабивные столбы диаметром 1,5 м в устое располагаются в три ряда, по два столба в ряду. При разработке сборно-монолитного устоя применялись шкафные блоки и закладные щиты типового проекта инв. 1067/11 «Проект столбчатых опор и фундаментов железнодорожных мостов для Северной строительно-климатической зоны». Размеры насадки-ростверка устоя 7,0х4,5 м, высота насадки-ростверка устоя – 1,7 м.
Во всех опорах фундамент заглублен в несущий слой (аргилит очень низкой прочности размягчаемый в воде сильновыветрелый до состояния твердой глины) на 3 м.
Для устоев проектируется устройство рисберм и укрепление конусов насыпи плитами П-1.
Опорные части назначаются катковые подвижного и неподвижного типа для каждого пролетного строения по типовому проекту серия 3.501-35 «Литые опорные части под металлические пролетные строения железнодорожных мостов».
Зазоры между балочными пролетными строениями принимаются равными 0,1 м.
Эскизный расчет фундамента опор приведен в приложении А.
К
онструкция промежуточной опоры с показанным пролетным строением по второму варианту приведена на рисунке 2.2.
Рисунок 2.2. – Промежуточная опора и пролетное строение варианта 2
2.2.2. Определение проектных отметок мостового перехода
В данном разделе производится расчёт следующих отметок мостового перехода:
-
Отметка уровня проезда производится по формуле 1:
-
Отметка бровки земляного полотна производится по формуле 2:
-
Отметка низа конструкции производится по формуле 3:
Для пролета 55,0 м:
Для пролета 33,6 м:
-
Отметка верха подферменника производится по формуле 4:
Для пролета 55,0 м:
.
Для пролета 33,6 м:
.
2.2.3. Определение отверстия моста
Расчет отверстия моста рассчитывается по формуле 5:
.
Проверяем условие по формуле 6:
Условие выполняется.
2.2.4. Определение глубин размыва
В этом расчёте необходимо определить линии общего и местного размыва, которая проходит по точкам глубины реки после размыва.
Расчет глубин общего размыва производится по формуле 7.
Полученные значения размывов в сечениях реки, сведены в табл. 2.2.2
Таблица 2.2.2. – Параметры общего размыва варианта 2
| № Сечения |
|
|
|
| 1 | 0,070 | 6,88 | 0,167 |
| 2 | 0,570 | 1,311 | |
| 3 | 1,070 | ,2,368 | |
| 4 | 1,530 | ,3,263 | |
| 5 | 2,950 | 5,562 | |
| 6 | 6,880 | 8,256 | |
| 7 | 5,610 | 7,974 | |
| 8 | 3,670 | 6,458 | |
| 9 | 2,940 | 5,548 |
Величина полного размыв у опор определяется по формуле 8:
Полный размыв у опоры 1:
Полный размыв у опоры 2:
Вариант моста 2 приведен на чертежном листе №1.
2.3. Вариант 3
2.3.1. Общие сведения о проектируемом варианте
Во третьем варианте по заданным условиям, для перекрытия пролетов приняты типовые металлические железнодорожные пролетные строения с ездой поверху на балласте полной длиной 23,6 м для крайних пролетов по типовому проекту конструкций серии 3.501-49 «Металлические железнодорожные пролетные строения с ездой поверху на балласте пролетами 18,2 - 55,0 м в обычном и северном исполнении» и пролетное строение полной длиной 66,96 м для центрального пролета по типовому проекту конструкций серии 3.501.2-139 «Пролетные строения для железнодорожных мостов с ездой понизу, пролетами 33 - 110 м металлические со сварными элементами замкнутого сечения и монтажными соединениями на высокопрочных болтах, в обычном и северном исполнении».
, м
, м
, м
, м
, м















