Диплом ПЗ Бакуменко Финал на печать! (1004335), страница 4
Текст из файла (страница 4)
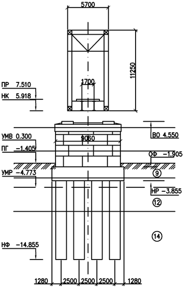
Схема моста: 23,6 + 66,96 + 23,6.
Полная длина моста: 125,76 м.
Параметры пролетных строений приведены в таблице 2.3.1.
Таблица 2.3.1. – Параметры пролетных строений варианта 3
|
|
|
|
|
|
|
| 23,60 | 23,00 | 2,00 | 1,69 | 2,44 | 2,96 |
| 66,96 | 66,00 | 5,70 | 11,25 | 1,592 | 5,429 |
Промежуточные опоры приняты сборно-монолитные по типовому проекту серии 3.501.1-150.0-4 «Опоры унифицированные железнодорожных мостов с применением изделий заводского изготовления» выпуски 0-4 обтекаемой формой без заострения. Размеры тела опоры – 4,207х9,060 м. Фундамент принимается на буронабивных столбах диаметром 1,5 м, бетонируемых под водой методом ВПТ. Ростверк имеет размеры 5,207х10,060 м. Высота ростверка промежуточной опоры – 1,95 м. Железобетонные буронабивные столбы диаметром 1,5 м располагаются в два ряда, по четыре столба в ряду. Расстояние между осями столбов вдоль оси моста - 3,0м, поперек оси моста - 2,5м.
Устои для данного варианта принимаются сборно-монолитные индивидуальной проектировки с фундаментами на буронабивных столбах диаметром 1,5 м, бетонируемых под водой методом ВПТ. Железобетонные буронабивные столбы диаметром 1,5 м в устое располагаются в три ряда, по два столба в ряду. При разработке сборно-монолитного устоя применялись шкафные блоки и закладные щиты типового проекта инв. 1067/11 «Проект столбчатых опор и фундаментов железнодорожных мостов для Северной строительно-климатической зоны». Размеры насадки-ростверка устоя 7,0х4,5 м, высота насадки-ростверка устоя – 1,7 м.
Во всех опорах фундамент заглублен в несущий слой (аргилит очень низкой прочности размягчаемый в воде сильновыветрелый до состояния твердой глины) на величину не менее 3 м.
Для устоев проектируется устройство рисберм и укрепление конусов насыпи плитами П-1.
Опорные части назначаются катковые подвижного и неподвижного типа для каждого пролетного строения по типовому проекту серия 3.501-35 «Литые опорные части под металлические пролетные строения железнодорожных мостов».
Определяется стыковой зазор для решетчатого пролетного строения:
где
– удлинение ферм за счёт температурного расширения;
– удлинение ферм за счёт усилий от подвижного состава;
– коэффициент температурного расширения;
- расчетная длина пролетного строения;
и
- интенсивности постоянной и временной нагрузок;
- расчетное сопротивление стали по пределу текучести;
- модуль упругости стали.
Зазоры между балочными пролетными строениями принимаются равными 0,1 м.
Эскизный расчет фундамента опор приведен в приложении А.
Конструкция промежуточной опоры с показанным пролетным строением по первому варианту приведена на рисунке 2.3.
Рисунок 2.3. – Промежуточная опора и пролетное строение варианта 3
2.3.2. Определение проектных отметок мостового перехода
В данном разделе производится расчёт следующих отметок мостового перехода:
-
Отметка уровня проезда производится по формуле 1:
-
Отметка бровки земляного полотна производится по формуле 2:
-
Отметка низа конструкции производится по формуле 3:
Для пролета 66,0 м:
Для пролета 23,0 м:
-
Отметка верха подферменника производится по формуле 4:
Для пролета 66,0 м:
.
Для пролета 23,0 м:
.
2.3.3. Определение отверстия моста
Расчет отверстия моста рассчитывается по формуле 5:
.
Проверяем условие по формуле 6:
Условие выполняется.
2.3.4. Определение глубин размыва
В этом расчёте необходимо определить линии общего и местного размыва, которая проходит по точкам глубины реки после размыва.
Расчет глубин общего размыва производится по формуле 7.
Полученные значения размывов в сечениях реки, сведены в табл. 2.3.2
Таблица 2.3.2. – Параметры общего размыва варианта 3
| № Сечения |
|
|
|
| 1 | 0,070 | 6,88 | 0,167 |
| 2 | 0,570 | 1,311 | |
| 3 | 1,070 | ,2,368 | |
| 4 | 1,530 | ,3,263 | |
| 5 | 2,950 | 5,562 | |
| 6 | 6,880 | 8,256 | |
| 7 | 5,610 | 7,974 | |
| 8 | 3,670 | 6,458 | |
| 9 | 2,940 | 5,548 | |
| 10 | 2,070 | 4,220 |
Величина полного размыв у опор определяется по формуле 7:
Полный размыв у опоры 1:
Полный размыв у опоры 2:
Вариант моста 3 приведен на чертежном листе №2.
2.4. Вариант 4
2.4.1. Общие сведения о проектируемом варианте
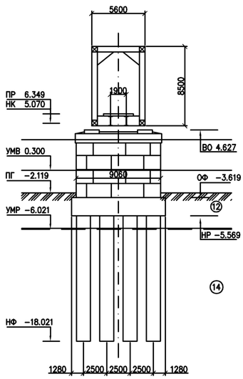
В четвертом варианте по заданным условиям, для перекрытия пролетов приняты типовые металлические железнодорожные пролетные строения решетчатого типа с ездой понизу на полной длиной 55,77 м по типовому проекту конструкций серии 3.501.2-139 «Пролетные строения для железнодорожных мостов с ездой понизу, пролетами 33 - 110 м металлические со сварными элементами замкнутого сечения и монтажными соединениями на высокопрочных болтах, в обычном и северном исполнении».
Схема моста: 2 х 55,77.
Полная длина моста: 118,516 м.
Параметры пролетных строений приведены в таблице 2.4.1.
Таблица 2.4.1. – Параметры пролетных строений варианта 4
|
|
|
|
|
|
|
| 55,77 | 55,00 | 5,60 | 8,50 | 1,279 | 1,772 |
Промежуточные опоры приняты сборно-монолитные по типовому проекту серии 3.501.1-150.0-4 «Опоры унифицированные железнодорожных мостов с применением изделий заводского изготовления» выпуски 0-4 обтекаемой формой без заострения. Размеры тела опоры – 4,207х9,060 м. Фундамент принимается на буронабивных столбах диаметром 1,5 м, бетонируемых под водой методом ВПТ. Ростверк имеет размеры 5,207х10,060 м. Высота ростверка промежуточной опоры – 1,95 м. Железобетонные буронабивные столбы диаметром 1,5 м располагаются в два ряда, по четыре столба в ряду. Расстояние между осями столбов вдоль оси моста - 3,0м, поперек оси моста - 2,5м.
Устои для данного варианта принимаются сборно-монолитные индивидуальной проектировки с фундаментами на буронабивных столбах диаметром 1,5 м, бетонируемых под водой методом ВПТ. Железобетонные буронабивные столбы диаметром 1,5 м в устое располагаются в два ряда, по четыре столба в ряду. При разработке сборно-монолитного устоя применялись шкафные блоки и закладные щиты типового проекта инв. 1067/11 «Проект столбчатых опор и фундаментов железнодорожных мостов для Северной строительно-климатической зоны». Размеры насадки-ростверка устоя 4,5х9,5 м, высота насадки-ростверка устоя – 1,7 м.
Во всех опорах фундамент заглублен в несущий слой (аргилит очень низкой прочности размягчаемый в воде сильновыветрелый до состояния твердой глины) на величину не менее 3 м.
Для устоев проектируется устройство рисберм и укрепление конусов насыпи плитами П-1.
Опорные части назначаются катковые подвижного и неподвижного типа для каждого пролетного строения по типовому проекту серия 3.501-35 «Литые опорные части под металлические пролетные строения железнодорожных мостов».
Определяется стыковой зазор для решетчатого пролетного строения:
где
– удлинение ферм за счёт температурного расширения;
– удлинение ферм за счёт усилий от подвижного состава;
– коэффициент температурного расширения;
- расчетная длина пролетного строения;
и
- интенсивности постоянной и временной нагрузок;
- расчетное сопротивление стали по пределу текучести;
- модуль упругости стали.
Зазоры между балочными пролетными строениями принимаются равными 0,1 м.
Эскизный расчет фундамента опор приведен в приложении А.
Конструкция промежуточной опоры с показанным пролетным строением по первому варианту приведена на рисунке 2.4.
Р
исунок 2.4. – Промежуточная опора и пролетное строение варианта 4
, м
, м
, м
, м
, м
, м
, м
, м
, м















