ПЗ (1004183), страница 9
Текст из файла (страница 9)
Бетон класса В40, Арматура А300 30шт. Диаметр арматуры 22мм. Количество колец 1 шт.
Результаты расчета приведены в Приложении Б.
По результатам расчетов видно, что подобранное количество арматуры удовлетворяет условиям проверки, уменьшить количество стержней нельзя, в связи с обеспечением условий прочности по трещиностойкости.
Конструкция береговой опоры приведена на Листе № 4.
Конструкция арматурного каркаса под столбы приведена на Листе № 6.
4.3. Расчет и конструирование промежуточной опоры.
Промежуточные опоры на буронабивных железобетонных столбах диаметром 0.8 м. взяты из типового проекта серии 3.501-79 (рисунок 4.2). Основанием столбов служит доломит прочный, очень плотный, неразмягчаем, трещиноватый, слабовыветрелый, морозный. Столбы располагаются в два ряда по три столба в каждом ряду. Расстояние между осями столбов в направлении вдоль моста – 2,2 м, в направлении поперек моста – 2.7 м. Материал столбов – бетон В40.
Железобетонные столбы объединены монолитный ростверком высотой 2,0 м. Ростверк в плане имеет размеры 3,6х7,6 м. Материал ростверка – бетон В30.
Рисунок 4.3. Конструкция промежуточной опоры №2.
4.3.1. Расчет фундамента опоры.
Результаты расчета опоры № 3 приведены в Приложении В.
Вывод: По результатам расчетов было принято решение установить столбы длиной 9 метров.
4.3.2. Армирование столбов опоры.
Расчет на армирование столбов производится в программе «Опора X». Исходные данные по нагрузкам берутся из результатов расчета по программе «Опора X». ( см. Приложение В.)
Характеристики столба:
Бетон класса В40, Арматура А300 30шт. Диаметр арматуры 22мм. Количество колец 1 шт.
Результаты расчета приведены в Приложении Г.
По результатам расчетов видно, что подобранное количество арматуры удовлетворяет условиям проверки, уменьшить количество стержней нельзя, в связи с обеспечением условий прочности по трещиностойкости.
Конструкция промежуточной опоры приведена на листе № 5.
Конструкция арматурного каркаса по буронабивные столбы приведена на листе №6.
5. РАЗРАБОТКА ВОПРОСОВ ТЕХНОЛОГИИ РАБОТ.
5.1. Технология производства работ по сооружению береговой опоры №4.
Стадия №1.
Бурение.
Для установки буровой машины производится выравнивание строительной площадки, при помощи бульдозера ТМ-10(Технические характеристики бульдозера ТМ-10 приведены в приложении Д.) и автосамосвалов типа МАЗ 5551, грунт подвозится из срезанного вблизи находящегося подъема, что является продолжением площадки. После отсыпки площадки на отметку 423,27, производится процесс доставки и установки в рабочее положение буровой машины. Для удобства подъезда техники к площадке работ сооружена дорога от строительной площадки до места работ. После установки Буровой машины в рабочее положение бульдозер покидает место работ, давая пространство для работы буровой установки и автосамосвала.
Бурение скважин под буроонабивные столбы производится буровой машиной KATO 50ТНC-YSV c обсадной трубой. Бурение производится до рабочей отметки а именно 411,85. (Технические характеристики буровой машины KATO 50ТНС-YSV приведены в приложении Е).
Выбранный грунт со скважин погружается в автосамосвал типа МАЗ 5551. (Технические характеристики МАЗ 5551приведены в приложении Ж). После чего производится вывоз грунта в отвал. Одновременно с бурением , подается обсадная труба и при помощи буровой установки опускается в скважину.
Стадия №2.
Установка Арматурных каркасов в скважины.
К месту пробуренной скважины подъезжает Автомобильный стреловой кран КС 3575А( Технические характеристики которого приведены в приложении З.) , во время установки крана в рабочее положение, подвозят сборный арматурный каркас, арматурные каркасы подвозятся на длинномере КАМАЗ 65115 (технические характеристики КамАЗа 65115 приведены в приложении И). Кран должен находится на расстоянии от оси скважины не более чем на 7.5 метров и вылет стрелы не должен превышать 6,5метров.
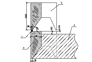
Каркасы опускаются в стол буровой установки и закрепляются поперечной балкой на уровне верха стола (см. рисунок 5.1). После чего в стол устанавливается бетонолитная труба и воронка.
Рисунок 5.1. Установка арматурного каркаса в скважину. 1- арматурные выпуска, 2- поперечная балка, 3- стол буровой машины, 4 – скважина, 5- арматурный каркас.
Стадия №3.
Бетонирование столбов опоры.
Оборудование для укладки бетона методом ВПТ состоит из комплекта звеньев металлических бетонолитных труб диаметром 300мм., воронки для подачи бетонной смеси.
Бетонирование методом ВПТ выполняется в следующей последовательности.
После бурения скважины и опускания арматурного каркаса, выполняется установка бетонолитной трубы на 50 сантиметров выше нижнего конца скважины. На устье бетонолитной трубы монтируется воронка.
По ходу бетонирования скважины обсадную трубу извлекают до 500 мм и вновь погружают на 200–300 мм, уплотняя и втрамбовывая бетонную смесь в грунт стенки скважины . После набора прочности бетона в 70% следует удаление шламовидного бетона ручным инструментом..
Подача бетонной смеси прекращается когда на уровне арматурных выпусков появляется чистая бетонная смесь.
После твердения смеси, необходимо устранить шлам поднявшийся наверх и очистить арматурные выпуска.
Стадия №4.
Сооружение ростверка опоры.
Опалубка принимается закрытого типа щитовая сэндвич-панелями. Элементы опалубки скрепляют болтами, накладками и тяжами диаметром 16 мм. Применение проволочных стяжек в виде скруток из арматуры диаметром 5-6 мм не допускается. На видимых бетонных поверхностях на тяжах устраиваются съемные наконечники.
Монтаж опалубки производится автокраном КС 3575А.
Размеры, вес и др. характеристики опалубки обусловлены её расчётом, с учетом размера ростверка, заданной скорости бетонирования по высоте и др. условиями.
Бетонирование ростверка производится с помощью автобетононасоса КамАЗ АБН 75/32( Технические характеристики которого приведены в приложении К).
Бетонирование производят послойно, без перерывов в процессе работы. Вибрирование также осуществляют послойно. Особенно тщательно проходят участки сопряжения с арматурой столба, где наибольшая густота армирования, а также у стенок опалубки с целью удаления из бетонной смеси воздуха.
Стадия №5.
Сооружение тела опоры.
Установка бетонных облицовочных блоков производится с помощью крана TADANO Crevo250( Технические характеристики которого приведены в приложении Л.).
После набора прочности бетона (70%) ростверка, опалубку демонтируют. Далее производится монтаж облицовочных блоков. После того, как смонтировано 3 яруса облицовочных блоков, их омоноличивают бетонной смесью и начинают монтаж облицовочных блоков следующих 3-х ярусов (после набора 70% прочности первыми ярусами), после чего тоже омоноличивают, после цикл повторяется (смотри рисунок 5.2).
Для того чтобы провибрировать послойно каждую порцию бетонной смеси, с внешней стороны на облицовочные блоки устанавливают монтажные люльки, которые с каждым новым ярусом облицовочных блоков, монтируются выше (вслед за ними).
Рисунок 5.2 Бетонирование тела опоры: 1–пеньковый канат; 2–монолитный бетон; 3–сапог; 4–блок.
Стадия №6.
Отсыпка насыпи.
Для удобства монтажа блоков и омоноличивания тела опоры было принято решение отсыпать площадку по мере сооружения устоя . Отсыпка производится бульдозером ТМ-10 и МАЗом 5551
Отсыпку конусов насыпи было решено принять поступенчатую, после набора прочности каждого стоя бетона производится отсыпка конусов насыпи, это делается для удобства монтажа последующих блоков и омоноличивания тела опоры, отсыпка производится бульдозером ТМ-10 и МАЗом 5551. После достаточной высоты насыпи, для монтажа шкафного блока опоры, на место строительства подъезжает автокарн TADANO Crevo 250 встает в рабочее положение после чего подвозят блоки для сборки оголовка береговой опоры.
Окончание оформление конусов насыпи производится после монтажа пролетного строения. Укрепление конусов насыпи выполняется из естественного камня.
Технология производства работ по сооружению опоры № 4 приведен на Листе №7.
5.2. Технология производства работ по сооружению промежуточной опоры №3.
Стадия №1.
Забивка шпунтового ограждения.
В связи с тем, работы по сооружению опоры № 3 ведутся в русле реки Кырбыкан, необходимо возвести шпунтовое ограждение. Производится отсыпка строительной площадки, далее следует стадия забивки шпунтового ограждения экскаватором Komatsu PC200. Для чего с данной машины демонтируется ковш, а на его место устанавливается вибропогружатель. Шпунтовое ограждение устанавливается на 4 метра ниже поверхности земли.
Стадия №2.
Разработка котлована.
Так как по проекту подошва ростверка должна располагаться ниже уровня земли, в связи с этим необходимо разработать котлован. Котлован разрабатывается внутри шпунтового ограждения, при помощи Экскаватора Komatsu PC200 ( технические характеристики которого приведены в приложении М. ). Выработанный грунт грузится в самосвалы и увозится в отвал.
Стадия №3.
Бурение.
Для установки буровой машины производится выравнивание строительной площадки, при помощи бульдозера ТМ-10 и автосамосвалов типа МАЗ 5551, грунт подвозится из срезанного вблизи находящегося подъема, что является продолжением площадки. После отсыпки площадки на отметку 423,0 м, производится процесс доставки и установки в рабочее положение буровой машины. Для удобства подъезда техники к площадке работ сооружена дорога от строительной площадки до места работ. После установки Буровой машины в рабочее положение бульдозер покидает место работ, давая пространство для работы буровой установки и автосамосвала.
Бурение скважин под буроонабивные столбы производится буровой машиной KATO 50ТНC-YSV c обсадной трубой. Бурение производится до рабочей отметки, а именно 409,33 м.
Выбранный грунт со скважин погружается в автосамосвал типа МАЗ 5551.После чего производится вывоз грунта в отвал. Одновременно с бурением, подается обсадная труба и при помощи буровой установки опускается в скважину.
Стадия №4.
Установка Арматурных каркасов в скважины.
К месту пробуренной скважины подъезжает Автомобильный стреловой кран КС 3575А, во время установки крана в рабочее положение, подвозят сборный арматурный каркас, арматурные каркасы подвозятся на длинномере КАМАЗ 65115. Кран должен находиться на расстоянии от оси скважины не более чем на 7.5 метров и вылет стрелы не должен превышать 6,5метров.
Каркасы опускаются в стол буровой установки и закрепляются поперечной балкой на уровне верха стола (см. рисунок 5.3). После чего в стол устанавливается бетонолитная труба и воронка.
Рисунок 5.3. Установка арматурного каркаса в скважину. 1- арматурные выпуска, 2- поперечная балка, 3- стол буровой машины, 4 – скважина, 5- арматурный каркас.
Стадия №5.
Бетонирование столбов опоры.
Оборудование для укладки бетона методом ВПТ состоит из комплекта звеньев металлических бетонолитных труб диаметром 300мм., воронки для подачи бетонной смеси.
Бетонирование методом ВПТ выполняется в следующей последовательности.
После бурения скважины и опускания арматурного каркаса, выполняется установка бетонолитной трубы на 50 сантиметров выше нижнего конца скважины. На устье бетонолитной трубы монтируется воронка.
По ходу бетонирования скважины обсадную трубу извлекают до 500 мм и вновь погружают на 200–300 мм, уплотняя и втрамбовывая бетонную смесь в грунт стенки скважины . После набора прочности бетона в 70% следует удаление шламовидного бетона ручным инструментом.
Подача бетонной смеси прекращается когда на уровне арматурных выпусков появляется чистая бетонная смесь.
После твердения смеси, необходимо устранить шлам поднявшийся наверх и очистить арматурные выпуска.
Стадия №6.
Сооружение ростверка опоры.
Так как сооружение опоры ведется в зимний период времени, опалубка принимается закрытого типа щитовая из сэндвич-панелей . Элементы опалубки скрепляют болтами, накладками и тяжами диаметром 16 мм. Применение проволочных стяжек в виде скруток из арматуры диаметром 5-6 мм не допускается. На видимых бетонных поверхностях на тяжах устраиваются съемные наконечники.
Монтаж опалубки производится автокраном КС 3575А.
Размеры, вес и др. характеристики опалубки обусловлены её расчётом, с учетом размера ростверка, заданной скорости бетонирования по высоте и др. условиями.
Бетонирование ростверка производится с помощью автобетононасоса КамАЗ АБН 75/32.
















