ПЗ (1004183), страница 10
Текст из файла (страница 10)
Бетонирование производят послойно, без перерывов в процессе работы. Вибрирование также осуществляют послойно. Особенно тщательно проходят участки сопряжения с арматурой столба, где наибольшая густота армирования, а также у стенок опалубки с целью удаления из бетонной смеси воздуха.
Стадия №7.
Сооружение тела опоры.
После набора прочности бетона (70%) ростверка, опалубку демонтируют. Далее монтируются 3 яруса облицовочных блоков и омоналичиваются бетонной смесью и начинают монтаж облицовочных блоков следующих 3-х ярусов (после набора 70% прочности первыми ярусами), после чего тоже омоноличивают, после цикл повторяется (смотри рисунок 5.4).
Установка бетонных облицовочных блоков производится с помощью крана TADANO Crevo 250.
Для того чтобы провибрировать послойно каждую порцию бетонной смеси, с внешней стороны на облицовочные блоки устанавливают монтажные люльки, которые с каждым новым ярусом облицовочных блоков, монтируются выше (вслед за ними).
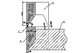
Рисунок 5.4. Бетонирование тела опоры: 1–пеньковый канат; 2–монолитный бетон; 3–сапог; 4–блок.
Стадия №8.
Устройство прокладников и подферменников тела опоры.
Прокладники тела опоры состоят из 2-х блоков которые доставляются на строительную площадку после набора прочности бетона в теле опоры 70%. Монтаж производится автомобильным стреловым краном TADANO Crevo250,на тело опоры устанавливают монтажные люльки, для рабочих, после установки блоков прокладника швы блоков зачеканиваются и поверх прокладников продолжается монтаж тела опоры.
Подферменник монтируется аналогично.
ТПР по сооружению промежуточной опоры приведен на Листе №8.
5.3. Технология производства работ по монтажу пролетного строения.
Монтаж пролетных строений производится при помощи двух стреловых кранов.
Стадия №1.
Установка опорный частей.
Перед монтажом пролетных строений производится монтаж опорных частей на опорные площадки. Данный вид работ выполняется краном Tadano Crevo 250. Подвижные опорные части необходимо устанавливать согласно проекту с учетом температуры воздуха в момент установки, а также усадки и ползучести бетона пролетных строений.
При установке опорных частей следует нанести риски, отмечающие взаимное начальное положение их элементов, и клеймо с указанием температуры при установке пролетных строений.
Стадия №2.
Подвозка пролетного строения на строительную площадку.
Пролетное строение транспортируют при помощи железной дороги на 2-х вагонах платформах, на станцию. Откуда пролетное строение грузится на балковоз при помощи 2-х стреловых кранов KATO NK 750 YS-L и отвозится к месту монтажа. После, пролетное строение разгружают и погружают его на специально подготовленное для осмотра и устранения дефектов площадку.
Перед монтажом конструкции очищаются от грязи и наплывов бетона. При необходимости выпуски арматуры и закладные детали также очищаются от ржавчины и выправляются.
После окончания осмотра пролетного строения, устанавливаются 2 крана KATO NK 750 YS-L (технические характеристики крана приведены в приложении Н.) в рабочее положение
Стадия №3.
Монтаж балки пролетного строения.
На месте монтажа пролетного строения, два крана KATO NK 750 YS-L устанавливаются в рабочее положение, на расстояние 3 метра от края опоры . между кранами и опорами подъезжает балковоз, далее осуществляется строповка пролетного, данный вид работ производится в следующем порядке:
1. Установка кранов в рабочее положение.
2. Подвоз балки пролетного строения.
3. Строповка пролетного строения.
4. Подъем пролетного строения лебедкой.
5. Уезд балковоза с места монтажа.
6. Монтаж пролетного строения на опорные части.
7. Снятие строп.
Стадия №4.
Укладка пути на мосту.
После установки пролетного строения на опорные части, производится монтаж консольных частей, бортиков, тротуаров, смотровых приспособлений, кабельных мостиков и перильных ограждений.
По оканчанию монтажа пролетных строений, следует отсыпка баластной призмы и укладка пути.
Баластнаяпризма отсыпается автомсамосвалами МаЗ 5551.
Для укладки пути и выравнивания баластной призмы на мост загоняется планировщик балласта ПБ-1( техническиехарактеристики приведены в Приложении О.).
ТПР по монтажу пролетного строения приведен на Листе №9.
5.4.Организация строительной площадки.
Строительная площадка располагается на левом берегу реки за конусом насыпи. В 500 метрах от строительства моста.
Строительная площадка располагается за пределами водоохраной зоны. На территории строительной площадки установлены следующие здания и сооружения:
-Контейнерные вагончики для проживания.
-Столовая.
-Котельная.
-Склад угля.
-Душевые контейнеры.
-Туалеты.
-Медицинский пункт.
-Прорабская.
-Стоянка техники.
-Теплый гараж.
-Сборочная площадка.
-Склад с оборудованием.
-Заправка ГСМ.
-Столярная мастерская.
-Механическая мастерская.
-Склад арматуры.
-Склад с лесоматериалом.
-Площадка для арматурных работ.
-Лесопильный цех.
-Погрузчик.
-БРУ.
-Склад инертных.
-Склад цемента.
-Мусорные контейнеры.
-Отвал.
-Трансформатор.
-Резервный генератор.
-Фонари.
-Резервуар с водой.
Одной из важнейших построек является бетонно-смесительный узел, именно от него зависит скорость строительства моста. Для обеспечения бесперебойной подачи бетона к месту строительства необходимо рассчитать производительность бетонного завода.
Определим Интенсивность бетонирования по формуле:
=
, (5.1)
где
- толщина укладываемых слоев смеси, м.
Коэффициент неравномерной подачи смеси =1.25,
- время необходимое для подачи на место бетонной смеси, определяется по фомуле:
=
+
+
+
,где (5.2)
- время погрузки бетона =10мин =0,16час.
- время бетонного миксера проведенного в пути, можно определить по формуле:
=
, (5.3)
где
- путь от строительной площадки до моста =0,5км.
- средняя скорость бетонного миксера =40км/час.
Тогда
=
=0,0125час.
- время необходимое на маневры =2мин.=0,033час.
- время на разгрузку бетонной смеси = 15 мин. =0,25час.
Тогда время необходимое для доставки бетонной смеси к мосту :
=0,16+0,0125+0,033+0,25=0,4555час. =27 мин.
Интенсивность бетонирования определится :
=
=1,1м/час.
Часовая производительность бетонного завода определяется по формуле:
-Выполнение объема бетонных работ
=
, (5.4)
где
- объем бетонных работ в наиболее напряженный период строительства = 99,68
.
- коэффициент часовой неравномерности бетонирования =1,3.
- продолжительность рассматриваемого периода в сутках =3.
- число рабочих часов в сутках =24часа.
- коэффициент приведения количества рабочих суток всего периода, охватывающих все работы по сооружению опоры, к продолжительности работы бетонного завода, принимается равным 0,25;
Тогда
=
=7,19
- Непрерывность бетонной кладки
=
, (5.5)
- интенсивность бетонирования = 2,22м.
-площадь бетонируемой конструкции =38,34
.
Тогда
=
=85,11
.
В итоге принимаем производительность бетонного завода = 85,11
.
Площадь склада можно определить по формуле:
S=
, (4.5)
- Количество материала подлежащее хранению на складе =659,03
.
α – количество материала на 1 м2 полезной площади склада (норма складирования)=1,5.
к – коэффициент использования площади склада, определяется по приложению 3 [10].=0,7
Тогда
S=
=627,65 м2.
План строительной площадки показан на Листе № 10.
5.5. Линейный график строительства моста.
Составление календарного графика.
Календарный график строится на основе технологической карты.
В технологическую карту вносят все основные строительно – монтажные работы, подлежащие выполнению на строительстве.
Ведомость основных работ по строительству моста приведена в таблице 5.1.
Таблица 5.1. Ведомость основных работ по строительству моста.
| Наименование основных работ | Ед.Измерения | Объ-ем ра-бот | Норма време-ни | Продолжительёность (дн.) | |||
| 1.Подготовительные и вспомогательные работы. | |||||||
| Освоение строительной площадки, постройка временных производствен-ных и жилых помещений | Мост | 1 | 50 | 50 | |||
| 2. Сооружение опор | |||||||
| Опора №1 | |||||||
| 1.Бурение скважин диаметром 800мм | 1пог метр скважины | 54 | 0.015 | 0.81 | |||
| 2.Погружение обсадной трубы | 1пог метр столба | 54 | 0.015 | 0.81 | |||
| 3. Погружение арматурного каркаса | 1пог метр столба | 54 | 0.015 | 0.81 | |||
| 4.Укладка бетона методом ВПТ | | 27.13 | 0.03 | 0.81 | |||
| 5. Сооружение монолитного ростверка | | 99.4 | 0.05 | 4.97 | |||
| 6. Сооружение сборно-монолитной опоры | | 44.73 | 0.016 | 0.72 | |||
| 7. Устройство шкафной коробки | | 38.4 | 0.04 | 1.54 | |||
| 8. Время необходимое для набора прочности бетона | Дни |
|
| 18.00 | |||
| Итого |
|
|
| 28.47 | |||
| Опора №4 | |||||||
| 1.Бурение скважин диаметром 800мм. | 1пог метр скважины | 54 | 0.015 | 0.81 | |||
| 2.Погружение обсадной трубы | 1пог метр скважины | 54 | 0.015 | 0.81 | |||
| 3. Погружение арматурного каркаса | 1пог метр столба | 54 | 0.015 | 0.81 | |||
| 4.Укладка бетона методом ВПТ | | 27.13 | 0.03 | 0.81 | |||
| 5. Сооружение монолитного ростверка | | 99.4 | 0.05 | 4.97 | |||
| 6. Сооружение сборно-монолитной опоры | | 37.28 | 0.016 | 0.60 | |||
| 7. Устройство шкафной коробки | | 38.4 | 0.04 | 1.54 | |||
| 8. Время необходимое для набора прочности бетона | Дни |
|
| 18.00 | |||
| Итого |
|
|
| 28.35 | |||
| Опора №2 | |||||||
| 1.Бурение скважин диаметром 800мм. | 1пог метр скважины | 54 | 0.015 | 0.81 | |||
| 2.Погружение обсадной трубы | 1пог метр скважины | 54 | 0.015 | 0.81 | |||
| 3. Погружение арматурного каркаса | 1 | 54 | 0.015 | 0.81 | |||
| 4. Укладка бетона |
| 27.3 | 0.03 | 0.82 | |||
| 5. Сооружение монолитного ростверга | | 54.72 | 0.05 | 2.74 | |||
| 6. Сооружение монолитной опоры | | 68.64 | 0.05 | 3.43 | |||
| 7. Сооружение прокладок и подферменника | | 24.54 | 0.07 | 1.72 | |||
| 8. Время необходимое для набора прочности бетона | |
|
| 27.00 | |||
| Итого |
|
|
| 38.13 | |||
| Опора№3 | |||||||
| 1.Бурение скважин диаметром 800мм. | 1пог метр скважины | 54 | 0.015 | 0.81 | |||
| 2.Погружение обсадной трубы | 1пог метр скважины | 54 | 0.015 | 0.81 | |||
| 3. погружение арматурного | 1пог метр скважины | 54 | 0.015 | 0.81 | |||
| 4.Укладка бетона методом ВПТ | | 27.3 | 0.03 | 0.82 | |||
| 5. Сооружение монолитного ростверга | | 54.72 | 0.05 | 2.74 | |||
| 6. Сооружение сборно-монолитной опоры | | 77.22 | 0.05 | 3.86 | |||
| 7. Сооружение прокладок и подферменника | | 24.54 | 0.07 | 1.72 | |||
| 8. Время необходимое для набора прочности бетона | |
|
| 27.00 | |||
| Итого |
|
|
| 38.56 | |||
| Сооружение железобетонных пролетных строений | |||||||
| 1. Монтаж железобетонного пролетного строения | 1 пролет | 3 | 0.09 | 0.27 | |||
| 2. Устройство проезжей части на балласте | 10 пог. м проезжей части | 7.3 | 0.5 | 3.65 | |||
| 3. подготовка к сдаче моста в эксплуатацию | мост | 1 | 15 | 15.00 | |||
| Итог |
|
|
| 18.92 | |||
| Всего |
|
|
| 202.43 | |||
Составление линейного графика строительства является обязательным этапом при строительстве моста.















