Выращивание кристаллов (987305), страница 7
Текст из файла (страница 7)
Метод вертикально направленной кристаллизации схематично показанный на рис. 11.1.16, заключается в том, что в контейнер, имеющий форму трубки в уплотненном виде, помещают исходную шихту, расплавляют ее и путем перемещения сквозь зону нагрева сверху вниз закристаллизовывают. Для получения строго ориентированного кристалла в нижней части трубки устанавливают затравочный кристалл изготовленный в форме цилиндра.
Р
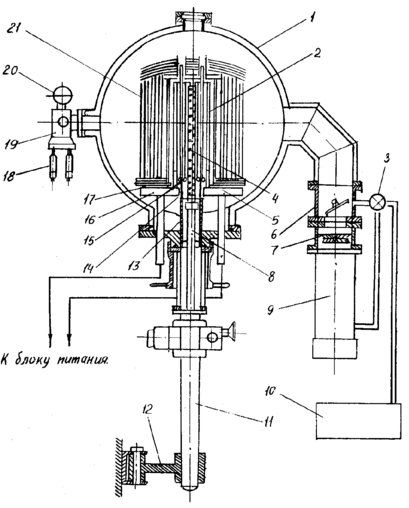
ис.11.1.16 Схема установки вертикально направленной кристаллизации: 1- корпус камеры, 2-нагреватель, 3-вентель, 4-контейнер с материалом, 5-подставка для экрана, 6-промежуточная камера, 7-вентель ДН, 8-шток, 9-диффузионный насос (ДН), 10-форвакуумный насос, 11-корпус подвижного механизма, 12-кронштейн, 13-огнеупорная трубка, 14-насадка, 15-изолятор, 16-токоввод, 17-диэлектрическая прокладка, 18-монометрические лампы, 19-натекатель, 20-вентель, 21-экран
В отличие от горизонтально направленной кристаллизации в этом методе поверхность расплава сравнительно мала и определяется диаметром трубки. Поэтому процессы испарения замедленны, в результате чего требования к чистоте исходной шихты повышаются. Выражение для эффективного коэффициента распределения примеси с учетом испарения выглядит так
C=K*C0(1-x)*(K+1)/(K+2)-1 (11.1.16)
При реализации метода вертикально направленной кристаллизации технологически просто сознать малоградиентное температурное поле, что позволяет выращивать ненапряженные монокристаллы. Основные механические напряжения возникают из-за прямого механизма контакта между кристаллом и контейнером. В методе вертикально направленной кристаллизации градиент температуры на фронте роста характеризуется двумя составляющими: осевой и радиальной. В процессе кристаллизации из-за перемещении контейнера с расплавом относительно нагревателя происходит изменение температуры в расплаве и кристалле, показанное на рис. 11.1.17.
Р
ис.11.1.17. Распределение температуры по высоте столба расплава иттрий-алюминиевого граната в контакте с молибденом контейнера и монокристаллом: 1 - температура на нагревателе; 2 - расплав в контакте с монокристаллическим веществом; 3, 4, 5, - различные стадии кристаллизации
Характерно явно нелинейное распределение температуры в расплаве, причем знак осевого градиента температуры вдоль высоты расплава меняется. Это обстоятельство оказывает решающее воздействие на характер конвективных потоков в расплаве, в результате чего они могут быть направлены как в сторону фазовой границы, так и от нее. Учет характера конвективных потоков важен но двум причинам, Во-первых, их интенсивность существенно сказывается на колебания температур, а во-вторых, их направление во многом определяет перенос примесей вблизи фронта роста. Для реализации метода вертикально направленной кристаллизации разработана кристаллизационная установка "Гранат-lM". Установка снабжена оптическим нагревателем, хотя допускает применение и высокочастотного нагрева. Она состоит из кристаллизационной камеры, в которой устанавливается нагреватель, и механизма вертикального перемещения. Для управления мощностью нагрева имеется отдельный блок управления и стабилизации, схема которого аналогична схеме установки "Сапфир-2 М". Решающим узлом установки является коаксильный нагреватель, схема которого представлена на рис. 11.1.18. Этот нагреватель имеет три трубки, вставленные друг в друга, и соединенные последовательно.
Р
ис. 11.1.18. Коаксильный нагреватель
Для получения рабочих .температур в области 2473 К внутренняя трубка выполнена из вольфрама, а две остальные - из молибдена. В том случае, когда требуется получение температур до 2973 К, все трубки изготавливаются из вольфрама. Соединение отдельных элементов нагревателя осуществляется с помощью аргонодуговой сварки в инертной среде. Нагревательный элемент устанавливается в центре кристаллизационной камеры так, чтобы его ось совпала с вертикальной осью камеры. На шток механизма перемещения навинчивается держатель трубки контейнера (рис. 11.1.19).
В число основных операций для получения высококачественных монокристаллов входят: 1) подготовка исходной шихты; 2) очистка трубчатого контейнера; 3) заполнение контейнера исходной шихтой; 4) установка контейнера с держателем на механизм опускания; 5) создание предварительного вакуума и заполнение кристаллизационной камеры инертным газом; 6) введение контейнера с шихтой в нагреватель; 7) подъем температуры и расплавление вещества; 8) проведение кристаллизации за счет перемещения контейнера с помощью механизма опускания; 9) снижение температуры нагревателя после завершения кристаллизации.
Первые три операции аналогичны описанным в разделе 11.1.5, остальные операции несколько отличны, так как в методе вертикально направленной кристаллизации нельзя визуально наблюдать протекание межфазной границы. Наиболее просто в этом методе вести кристаллизацию в режиме спонтанного зарождения. В этом случае вначале шихта полностью расплавляется.
Р
ис. 11.1.19. Держатель контейнера:1 - держатель; 2 – контейнер
Центры кристаллизации образуются случайно по мере перемещения контейнера в более холодную зону. Если необходима кристаллизация на затравку, то предварительно с помощью термопар определяется распределение температуры на нагревателе. С целью создания зоны кристаллизации, т.е. зоны с несколько большим осевым градиентом в нижнюю часть нагревателя вваривается диафрагма, представляющая собой вольфрамовое кольцо.
В качестве примера рассмотрим выращивание монокристаллов ортоалюмината иттрия YAlO3. Особенность этого процесса заключается в том, что само вещество представляет собой метастабильную фазу, образование которой в отличие от Y3Al5O12 оказалось энергетически более выгодным. Дело в том, что координационные числа для иттрия и алюминия в расплаве и ортоалюминате близки и существенно различаются между расплавом и иттрий-алюминиевым гранатом. Это определяет так называемый кинетический фазовый переход, благодаря которому скорость роста кристаллов ор-тоалюмината иттрия в несколько раз выше, чем иттрий-алюминиевого граната. Исходная шихта в виде механической смеси оксидов Y2O3 и Al2O3 помешается в молибденовую трубку, диаметром 12-14 мм, которая закреплена в держателе. Держатель с трубкой, заполненной шихтой, навинчивают на механизм опускания и вручную вводят трубку в нагреватель. Затем, после создания форвакуума, заполняют камеру азотом, в который добавляют водород (2% по объему). Такая газовая среда предотвращает реакции окисления при нагреве системы.
В том случае, когда исходное вещество обладает достаточно высокой упругостью пара необходима кристаллизация под избыточным внешним давлением. Обычно используются избыточные давления до 200 атм. Этот способ не единственный. Имеется возможность создания избыточного давления за счет кристаллизуемого вещества. Для этого достаточно плотно закупорить контейнер с веществом; по мере испарения вещества внутри контейнера создается избыточное давление за счет собственных паров материала. Для этого разработана специальная пробка (рис. 11.1.20), которая после заполнения контейнера шихтой вставляется в верхний торец трубки. Герметичность достигается путем предварительного расплавления другого вещества помещенного между стенкой контейнера с пробкой, обладающего температурой плавления много выше чем кристаллизуемое вещество.
Р
ис. 11.1.20. Система герметизации контейнера:1 — пробка; 2 — герметизируемое вещество; 3 — контейнер
Метод направленной кристаллизации успешно применяется для выращивания монокристаллов халькогенидов РЗ в молибденовых, танталовых и вольфрамовых контейнерах. Атмосфера кристаллизации обеспечивалась либо системой подпитки халькогеном (рис.11.1.21), либо использованием заваренных ампул.
Р
ис. 11.1.21. Схема реактора для выращивания кристаллов сульфидных редких земель в атмосфере паров серы; 1 - затвор, 2 - кварцевый реактор; 3 - тигель с сульфидом; 4 - тепловой экран; 5 - ВЧ индуктор
11.1.1.7 Применение индукционного нагрева для выращивания лазерных монокристаллов
Развитие техники индукционного нагрева привело к созданию специальных систем, в которых индукционный нагрев используется непосредственно для выращивания кристаллов. Большинство кристаллов, использующихся в лазерной технике, являются диэлектриками, и непосредственное применение высококачественной плавки в этом случае затруднено, ввиду малой величины удельной электропроводности этих материалов при комнатной температуре. Однако с повышением температуры электропроводность этих материалов возрастает и при какой-то определенной температуре становится возможным непосредственный нагрев этих материалов токами высокой частоты. На рис.11.1.22 а приведена зависимость удельного сопротивления ряда материалов от температуры.
Р
ис. 11.1.22 а. Зависимость удельного сопротивления ряда материалов от температуры:
а - зависимость удельного сопротивления оксидных монокристаллов от температуры; б — зависимость модуля напряженности электрического поля и пропорционального ему модуля настила тока от аргумента r0 21/2/z1; в - зависимость модуля напряженности магнитного поля от аргумента r0 21/2/z1; г - зависимость функций ψ2 и φ4 от аргумента r0 21/2/z1; д- зависимость cosφ системы индуктор-расплав от аргумента r0 21/2/z1 и отношения D0/d0
В табл. 11.1.2 даны температуры предварительного подогрева некоторых оксидных соединений,
Таблица 11.1.2 Температуры предварительного подогрева
| Формула соединения | Температура плавления, К | Температура предварительного подогрева, К |
| Чистый оксид циркория | 2973 | 1773 |
| Оксид циркория стабилизированный (5% СаО) | 2873 | 1573 |
| Оксид тория | 3273 | 1873 |
| Оксид алюминия | 2323 | 2223 |
| Оксид церия | 2973 | 1523 |
| Оксид урана | 3073 | 1373 |
После того, как материал будет способен взаимодействовать с электромагнитным полем высококачественного генератора эффективно поглощая энергию поля, становится возможным разогрев материала вплоть до плавления и дальнейшего перегрева. Это позволяет вплотную подойти к решению ряда проблем, основные из которых создание больших объемов расплавов тугоплавких оксидных соединений, создание систем нагрева и отжига, работающих в окислительной атмосфере при температурах выше 2500 К и практически не имеющих ограничений по мощности, создание систем предварительного синтеза высокотемпературных оксидных соединений и т.д.
















