Выращивание кристаллов (987305), страница 5
Текст из файла (страница 5)
Большой интерес вызвали системы, в которых регулирование диаметра осуществлялось путем измерения излучения мениска расплава в инфракрасном и видимом диапазонах спектра. Измерение интенсивности излучения мениска расплава позволяет определить форму мениска по положению светящегося кольца. Суть этого метода заключается в следующем: в направлении от поверхности кристалла к стенке тигля интенсивность излучения сначала увеличивается, достигая максимальной величины, а затем быстро падает при дальнейшем удалении от центра. Максимум интенсивности излучения приходится на так называемое "светящееся кольцо" в области мениска. Очевидно, что при изменении формы мениска меняется диаметр "светящегося кольца", а, следовательно, происходит смещение максимума на кривой интенсивности излучения. Здесь отметим лишь то, что для данного материала форма мениска расплава коррелирует с диаметром кристалла, поэтому контроль интенсивности излучения мениска способствует эффективному управлению диаметром растущего кристалла.
Р
ис. 11.1.5. Форма мениска расплава при выращивании кристаллов по методу Чохральского
Излучение мениска расплава регистрируется в инфракрасном и видимом диапазонах спектра соответствующими детекторами, наделенными на определенные точки мениска. При опускании уровня поверхности расплава точка мениска, на которую сфокусирован детектор, уходит из его "поля зрения", поэтому интенсивность излучения, регистрируемая детектором меняется, что равносильно изменению формы мениска вследствие колебаний температуры расплава. Чтобы избежать ошибки регулирования, вызванной этим явлением, применяют различные варианты компенсации, так, например можно компенсировать опускание поверхности расплава непрерывным добавлением материала в тигель. Два других способа основаны на механическом перемещении; в первом случае - механическое поднятие тигля при неизменном положении детектора а, во втором — вертикальное перемещение детектора, синхронное с опусканием расплава. На практике эти предложения трудно реализовать с необходимой точностью, даже при незначительной ошибке область мениска уходит из поля-видимости детектора. В ряде работ предлагается устанавливать детектор под небольшим углом к вертикали. В этом случае абсолютная величина кажущегося изменения диаметра вследствие опускания уровня расплава настолько мала, что ею можно пренебречь.
Дополнительные помехи регулирования могут возникать при выращивании монокристаллов некругового поперечного сечения или в случае эксцентричности вращающегося кристалла. Применение нескольких фотодетекторов, расположенных вдоль кривой распределения интенсивности излучения мениска, повышает достоверность получаемого сигнала. Обычно одновременно устанавливаются три группы детекторов, расположенных в горизонтальной плоскости под прямым углом друг к другу. При применении метода для выращивания лазерных кристаллов следует принять во внимание высокий температуры роста, что вызывает необходимость всесторонней теплоизоляции зоны кристаллизации.
При выращивании тугоплавких соединений, монокристаллы которых прозрачны в инфракрасной области спектра, имеют место некоторые особенности в спектрах излучения. В частности, на фоне термического излучения наблюдается селективное излучение. По-видимому, при кристаллизации подобного рода соединений можно было бы использовать анализ этого излучения, как информацию о протекающих в зоне кристаллизации процессах. Одной из разновидностей рассматриваемого метода является регулирование диаметра путем измерения отклонения отражаемого мениском расплава направленного пучка света. На искривленную поверхность мениска расплава от внешнего источника направляется световой луч. Очевидно, что изменение формы поверхности отражения вызывает отклонение отражаемого луча. Следовательно, величина отклонения может служить критерием нестабильности процесса роста. Этот принцип положен в основу метода регулирования диаметра путем измерения отклонения отражаемого мениском направленного пучка света. Необходимость создания всесторонней теплоизоляции при выращивании монокристаллов тугоплавких соединений затрудняет вертикальное фокусирование лазерного пучка с помощью отражающего зеркала, которое должно быть смонтировано в непосредственной близости от оси вращения. Однако применение горизонтально направленной кристаллизации при выращивании тугоплавких кристаллов позволяет успешно проводить локализацию фронта кристаллизации с помощью модулированного лазерного луча.
Из описания способов стабилизации, приведенных в предыдущих разделах, следует, что для большинства из них опускание уровня расплава в процессе роста кристалла является помехой. Усложнение многих методик диктуется необходимостью компенсации ошибок регулирования, вызванных изменением “уровня поверхности расплава”. Между тем по уменьшению объема расплава можно судить о степени равномерности роста кристалла, если в ходе процесса выращивания форма раздела фаз меняется незначительно, а испарение расплава не превышает допустимой величины. Применение тиглей цилиндрической формы позволяет свести задачу, регулирования диаметра к определению (измерению) высоты уровня поверхности расплава. Косвенное определение высоты уровня поверхности расплава по положению стержня соприкасающегося с расплавом может быть осуществлено следующим образом: вольфрамовый стержень периодически опускается и расплав, соприкосновение с поверхностью фиксируется по замыканию электрической цепи, звеньями которой являются и стержень и расплав. Замыкание цепи служит сигналом к измерению положения вольфрамового электрода. Применение такой системы при выращивании монокристаллов рубина методом Чохральского позволило получить образцы, длиной 80 мм с диаметром 300,3 мм. Разрешающая способность системы, достигнутая названными авторами, составляла 0,01 мм. Не следует забывать, однако, что точность определения положения уровня поверхности расплава, обусловленная большой разрешающей способностью применяемых методов измерения, с течением времени снижается вследствие коррозии электрода, который к тому же является источником загрязнения расплава и возмущения теплового поля. Избежать указанных недостатков можно, используя бесконтактные измерительные методы. Например, светоделительная пластинка монтируется вблизи оси вытягивания таким образом, что расстояние между этой пластинкой и поверхностью расплава становится составной частью интерферометра Майкельсона. Источником света служит лазер. Значит изменение положений уровня поверхности расплава измеряется в единицах применяемой длины волны света, которая, должна быть достаточно далека от максимума фонового излучения. В условиях стационарного роста постоянное значение величины диаметра растущего кристалла соответствует линейному росту массы кристалла, т.е. постоянной скорости роста массы твердой фазы. Следовательно, управление диаметром кристалла может осуществляться либо по "фактическому весу" кристалла, либо по величине производной изменения веса по времени так называемой "весовой скорости роста". В идеальном случае линейное увеличение веса кристалла адекватно уменьшению веса расплава, иными словами, взвешивание тигля с расплавом дает такую же информацию о процессе роста, как и взвешивание кристалла. В реальных условиях нестабильности границы раздела фаз и частичное испарение расплава вносят поправки в это положение. Если же условия роста таковы, что гранила раздела фаз остается неизменной, а испарение расплава незначительно, то вызванными ими погрешностями можно пренебречь. На практике для стабилизации диаметра кристалла применяют взвешивание тигля с расплавом и кристалла. Выбор между двумя вариантами метода взвешивания зависит прежде всего от конструкции кристаллизационной камеры данной установки. Монтаж детектора веса в кристаллизационной камере производится с учетом следующих условий. Во-первых, необходима тщательная защита детектора веса от термического излучения горячей зоны, поскольку изменение температуры всегда вызывает неконтролируемые явления, связанные с дрейфом сигнала датчика. Хотя применение мостовой схемы полупроводниковых тензодатчиков позволяет компенсировать дрейф сигнала, остаются нерешенными проблемы, возникающие в связи с температурным объемным расширением самого преобразователя веса. Во-вторых, применяемый детектор не должен влиять на механическую стабильность кристаллизатора. Это, в частности, относится к возникновению дополнительных вибраций, вызванных измерительной системой. Соблюдение указанного требования особенно важно в случае применения метода "нулевого баланса". Необходимо также предусмотреть возможность поправки на вес тары, т.е. компенсации веса затравки (в случае взвешивания кристалла) или тигельного устройства (в случае взвешивания тигля с расплавом). Измеряемая детектором веса величина складывается из нескольких слагаемых:
F =rn0g [V0ρδg+2πR0σcosα+V2(ρs-ρL)g] (11.1.12)
определяющих по порядку слагаемых в этом выражении: постоянный вес; вес выращенной части кристалла; влияние поверхностного натяжения, равного весу объема V1, если считать, что он заполнен жидким расплавом; подъемную силу, вызванную погружением части объема кристалла V2 в расплав (в случае вогнутого фронта роста этот член имеет отрицательное значение).
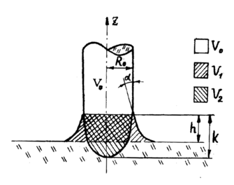
Смысл величин V0, V1, V2 явствует из рисунка 11.1.6, где m0 — постоянная масса держателя кристалла, и, в зависимости от расположения датчика веса, некоторой части штока (при взвешивании кристалла) или масса некоторой части кристаллизатора (при взвешивании тигля с расплавом); g — ускорение силы тяжести; σ - поверхностное натяжение расплава; ρs - плотность кристалла; ρL - плотность расплава; R0 - радиус растущего кристалла в стационарных условиях.
Рис. 11.1.6. Иллюстрация к уравнениям 11.1.12 и 11.1.13 в разделе 11.1.4
Как уже говорилось, в зависимости от вида сигнала, применяемого в системе управления в качестве входного параметра стабилизация диаметра может проводиться либо по "фактическому весу", либо по "весовой скорости роста". В первом случае величина фактического значения веса сравнивается с текущим значением заданной величины. Решение об управлении принимается в зависимости от разницы этих величин. Такая система регулирования чувствительна к начальным условиям; корреляции предыдущих ошибок приводит к возникновению ошибок противоположного знака, так что интегральная ошибка регулирования стремится к нулю. Подобная связь может привести к колебаниям в системе регулирования, что внешне проявляется в появлении вынужденных периодических затухающих колебаний диаметра кристалла по его длине. Управление по "весовой скорости роста" основано на сравнении величины производной по времени фактического значения веса с величиной текущего заданного значения весовой скорости роста
±dF= ρsgdV0 +ρLgdV1+ (ρs-ρL)g dV2 (11.1.13)
или
|dF|= πR02g[ρs(1+dR/R0)Vsdt + (ρs-ρL)(dk/γ-dh) (11.1.14)
В уравнении (11.1.13) 1-ый член характеризует увеличение веса вследствие увеличения кристаллического объема V0 , включая изменение объема участка кристалла, окруженного расплавом V2 и высоты мениска расплава h , Заметим, что величина не зависит от частоты вращения растущего кристалла. Условие (ρs < ρL) может вызвать диссонанс в работе контура регулирования, что требует соответствующей обработки поступающих сигналов. Хорошие результаты дает применение повышенных скоростей вытягивания затравки, аналогичным образом компенсируется эффект левитации, возникающий при взвешивании тигля с расплавом. Однако при выращивании монокристаллов тугоплавких оксидных соединений такая необходимость обычно не возникает. Этот эффект характерен для материалов, твердая фаза которых имеет меньшую плотность чем жидкая, или расплав которых не полностью смачивает кристалл.
Из сравнения систем управления по весу и по весовой скорости роста следует, что стабилизация процесса роста по "фактическому весу" имеет преимущества при выращивании монокристаллов с низкими скоростями вытягивания, поскольку при данной скорости роста сигнал веса имеет лучшие характеристики по отношению к сигналу шума, чем сигнал весовой скорости роста. Образование производной от изменения веса по времени повышает стабильность регулирования, уменьшая зависимость алгоритма регулирования от термической инерции кристалла. Использование ЭВМ в системе регулирования процессов роста кристалла по Чохральскому с применением метода взвешивания тигля, позволяет осуществить работу в "производном режиме" управления. Сигнал управления формируется по фактическому значению, по значению производной и по величине интеграла текущего значения ошибки регулирования. Отметим основные достоинства метода взвешивания. 1. Слабая зависимость от специфических свойств выращиваемого кристалла. 2. Всесторонняя теплоизоляция системы, обеспечивающая радиальную симметрию температурного поля в ростовой камере. 3. Отсутствие принципиальных ограничений с точки зрения применения измерительной техники при высоких температурах. 4. Возможность полной автоматизации всех стадий процесса роста. В заключение заметим, что сфера применения методов взвешивания не ограничивается получением совершенных кристаллов. Системы взвешивания кристалла, например, использовались для исследования динамики процессов кристаллизации при выращивании монокристаллов тугоплавких соединений по Чохральскому. В то же время должно быть ясно, что проблема полной автоматизации не решает проблему дефектности выращиваемых кристаллов. Имеется целый ряд дефектов, характерных для данного конкретного материала или метода выращивания, избавиться от которых только путем применения пусть даже совершенной автоматизированной системы невозможно.
















