Выращивание кристаллов (987305), страница 2
Текст из файла (страница 2)
где V0-скорость вытягивания; ΔT-изменение температуры за один цикл вращения; ω- частота вращения; GL- градиент температуры в расплаве; t - время.
Теоретическое исследование пульсации скорости кристаллизации при выращивании по методу Чохральского показывает, что уже при очень малом расстоянии между температурной осью тигельного устройства и осью вращения (порядка 0,1 мм) локальная скорость роста в более горячей части расплава может стать даже отрицательной, т.е. может наблюдаться эффект повторного расплавления. Подобное явление наблюдается и в результате неточной центровки или ориентации затравки относительно оси вытягивания. Меры, предпринимаемые для предотвращения появления дефектов, вызванных этими процессами, направлены как на совершенствование технологии выращивания, так и на улучшение технических параметров установок.
В методах с большим объемом расплава обычно применяются контейнеры (тигли) в силу чего их еще называют контейнерными. Основным критерием применимости контейнерных методов является отсутствие взаимной растворимости и химического взаимодействия кристаллизуемого вещества и материала контейнера. К материалу контейнера предъявляются следующие требования: достаточная механическая прочность, обрабатываемость материала, близость коэффициентов расширения (сжатия) материала контейнера и кристаллизуемого вещества, определенная величина электропроводности (в случае высокочастотного нагрева) и возможность предварительной очистки стенок контейнера химическими или другими методами. При выращивании из тиглей тугоплавких монокристаллов оксидных соединений характерно наличие в последних металлических включений.
В качестве посторонней фазы наблюдались иридиевые или родиевые частицы в виде дисков определенной геометрической формы (с диаметром порядка 30 мкм и толщиной 1-2 мкм). Как было показано, диспергирование тигельного материала связано с его химическим взаимодействием с газообразными окислителями, содержащимися в инертной атмосфере, а также с распадом нестабильных летучих оксидов иридия. Наблюдается корреляция между степенью загрязнения кристалла и чистотой инертного газа. Кроме выбора подходящей атмосферы на захват кристаллом металлических частиц влияет и степень стабилизации условий роста. При выборе материала контейнера следует учитывать, что его взаимодействие с расплавом может быть вызвано влиянием посторонних веществ, содержащихся в исходной шихте или адсорбированных на стенках контейнера, кристаллизационной камеры на рабочих элементах печи и т.д., а также влиянием веществ (например, кислорода и влаги), попадающих в расплав из атмосферы. В табл. 11.1.1 приведены основные контейнерные материалы, используемые при выращивании монокристаллов различных соединений РЗЭ.
Роль атмосферы может быть как пассивной, так и активной, в последнем случае атмосфера взаимодействует с расплавом, тормозя те или иные процессы или способствуя их протеканию. При выращивании монокристаллов различают кристаллизацию в вакууме, в нейтральной (гелий, аргон, азот), в окислительной (воздух, кислород) или восстановительной (водород, угарный газ) атмосферах. Вакуум используется для химической очистки расплава от диссоциации. С целью снижения интенсивности испарения вещества широко используется нейтральная атмосфера. Преимущественное использование при кристаллизации гелия, аргона и азота обусловлено тем, что для этих газов разработаны эффективные отечественные системы химической очистки. Подавляющее большинство тугоплавких соединений в процессе плавления диссоциирует, при этом изменяются физико-химические свойства расплава и нарушается стехиометрия кристалла. В связи с термической диссоциацией тугоплавких оксидов следует обратить внимание на два обстоятельства: с одной стороны, насыщение расплава низшими оксидами придает ему восстановительные свойства, что положительно сказывается на стойкости металлических контейнеров, из. которых ведется выращивание, а с другом стороны - нарушение стехиометрии расплава способствует образованию в кристалле дефектов. Восстановительная атмосфера используется для предотвращения в расплаве реакций окисления. Кислородсодержащая атмосфера желательна при кристаллизации любых оксидных соединений, особенно тех, которые характеризуются недостаточно сильной химической связью по кислороду, В последнее время предприняты попытки вести кристаллизацию халькогенидов в атмосфере паров серы или сероуглерода.
Таблица 11.1.1
Материалы контейнеров, используемые для выращивания монокристаллов высокотемпературных веществ
| Материал контейнера | Максимально допустимые рабочие температуры, К | Кристаллизуемое вещество | Атмосфера кристаллизации |
| Иридий | 2473 | Редкоземельные оксиды, алюминаты, гранаты скандаты, паллаты, РЗЭ, скандат бария | Вакуум, инертная, восстановительная и окислительная |
| Молибден | 2473 | Редкоземельные оксиды, алюминаты, гранаты скандаты РЗЭ, сульфиды РЗЭ | Вакуум, инертная и восстановительная |
| Вольфрам | 3273 | ″ | ″ |
| Тантал | 2500 | ″ | ″ |
| Сплав вольфрам-молибден | 2773 | ″ | ″ |
| Платина | 1773 | Вакуум, инертная, и окислительная | |
| Родий | 1973 | ″ | ″ |
| Платино-родиевые сплавы | 1923 | ″ | ″ |
| Пирографит | 2500 | сульфиды | Вакуум, инертная и восстановительная |
11.1.1.3. Метод Вернейля
Метод Вернейля, названный так по имени автора впервые опубликовавшего его описание в 1902 г., является одним из наиболее разработанных методов получения монокристаллов соединений, имеющих достаточно высокие температуры плавления. До начала 50-х годов этот метод применялся в основном для выращивания рубина шпинелей, которые большей частью находили применение в приборостроении и ювелирной промышленности. В настоящее время по Вернейлю выращиваются монокристаллы сотен наименований. Метод достаточно полно описан в литературе. Отметим только его достоинства и недостатки.
Метод Вернейпя обладает рядом преимуществ, среди которых следует выделить следующее.
Метод является бесконтейнерным, в результате чего снимаются. проблемы физико-химического взаимодействии расплава с материалом контейнера, а также проблема возникновения остаточных напряжений из-за упругого .воздействия стенок контейнера.
Метод дает возможность проведения кристаллизации в области порядка 2300 К на воздухе, причем окислительно-восстановительный потенциал атмосферы кристаллизации регулируется за счет изменения относительного содержания кислорода и водорода в пламени.
Метод обеспечивает техническую простату проведения процесса и доступность наблюдения за ростом кристаллов.
Метод дает возможность быстрого получения достаточно больших кристаллов.
Однако имеются и определенные недостатки, к которым следует отнести:
1. Трудность подбора оптимального соотношения между скоростью опускания затравки, подачей шихты и расходов рабочих газов.
2. Возможность попадания в расплав примесей из рабочих газов, поскольку расход их весьма значителен (О2-0,7 м3 /ч, Н2-— 1,5- 2 м3/ч), а также из воздуха и керамики кристаллизатора.
3. Наличие больших высоких температурных градиентов в зоне кристаллизации (30-50 град/мм), способствующих возникновению в кристаллах внутренних напряжений (до 10 -15 кг/мм2).
4. Невысокое качество получаемых кристаллов вследствие неравномерности подачи исходной шихты, дестабилизации процесса горения, а также причин, отраженных в п. 1, 2 и 3.
5. Ограничения метода, возникающие вследствие использования кислородно-водородной горелки - максимально допустимая температура в зоне кристаллизации не позволяет выращивать кристаллы целого ряда интересных для квантовой электроники соединений, мощность всей системы в целом ограничена,
6. Выход готовых кристаллов по отношению к исходному порошку не превышает 60%, так как часть материала проносится газом мимо растущего кристалла. Это обстоятельство приобретает особое значение при выращивании дорогостоящих кристаллов, например монокристаллов соединений РЗЭ.
7. Атмосфера выращивания является окислительно-восстановительной, что существенно снижает возможности управления валентностями примесей, вводимых в кристалл.
Попытка усовершенствовать классический метод Вернейля с целью устранения присущих ему недостатков привела к созданию ряда методик. Рассмотрим некоторые из них. Одним из возможных вариантов является изменение способа подачи материала в зону кристаллизации. Например, можно использовать смесь паров хлористого алюминия, углекислого газа и водорода, которые изолированно друг от друга подаются в зону кристаллизации и там смешиваются. В результате взаимодействия образуется оксид алюминия. В качестве реагентов могут применяться AlCl3 b O2 с использованием инертного газа в качестве носителя. Величина парциального давления хлористого алюминия достаточно велика даже при сравнительно низких температурах, поэтому транспортировка его по прогретым трубопроводам не вызывает больших затруднений, если, конечно, материал трубопровода не взаимодействует с проходящей по нему смесью.
Усовершенствованием метода Вернейля является замена кислородно-водородного факела другим источником дающим более высокие температуры. Речь идет, например, о плазменных разрядах. К их числу относятся электронный (дуговой) разряд и безэлектродный высокочастотный газовый разряд. Дуговой разряд является наиболее изученным видом электрического плазменного разряда. Дуговые плазмотроны представляют из себя системы, в которых электрическая дуга возбуждается между двумя электродами. Если конструкция плазмотрона обеспечивает непрерывную работу электродов, то в принципе такая система не имеет ограничений в отношении величины энергии, выделяемой в зоне разряда. К недостаткам методики относится невысокая чистота получаемых продуктов вследствие тепловой и электрической эрозии электродов. В ряде случаев недостаток можно устранить, применяя электроды, выполненные из металла, соединение которого выращивается. Загрязнение выращиваемого монокристалла не происходит, если источником высоких температур служит высокочастотный газовый безэлектродный разряд. В качестве примера рассмотрим систему, приведенную на рис. 11.1.3. Если в каком-то объеме содержащем газ, возбудить плазменное состояние то можно непосредственно передать энергию высокочастотного электромагнитного поля электронам плазменного состояния (разряда), которые путем многократных столкновений передают эту энергию атомам газов.
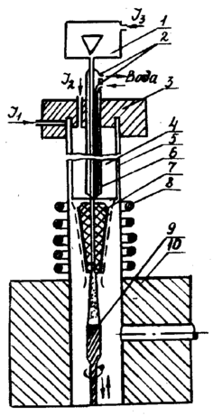
Р
ис. 11.1.3. Схема установки для выращивания монокристаллов по газоплазменному методу Вернейля: 1 - бункер, 2 - вход и выход воды для охлаждения сопла; 3 -огнеупорное покрытие; 4, 5 - кварцевые трубки; 6 - водоохлаждаемое сопло; 7 - зона плазменного разряда; 8 – индуктор; 9 - затравка; 10 – кристаллизатор.
Подобные разряды могут существовать в различных, газах при разных давлениях и в вакууме. Фактически рассматривается уже известная нам схема Вернейля, но с плазменным разрядом, зажигаемым в потоке аргона (поток J2). Горелка состоит из двух кварцевых труб 4 и 5 (рис. 11.1.3) и водоохлаждаемого сопла 6, через которое исходная пудра подается в зону плазменного разряда 7, и далее на затравку 9, расположенную в кристаллизаторе 10. Через плазменную горелку протекают три газовых потока: поток аргона J2 (основной), поток J1 который оттесняет разряд от стенок кварцевой трубки 5, предохраняя ее тем самым от расплавления и поток J3 ( несущий), он проходит через бункер 1 и водоохлаждаемое сопло 6, вынося пудру на поверхность растущего кристалла. В качестве основного потока могут применяться аргон, кислород, азот, водород, смеси этих газов, воздух и т.д. Соответствующий подбор газов в: потоках J1, J2, J3 позволяет создать нужную атмосферу в зоне кристаллизации. Зажигание разряда может производиться различными способами, самый распространенный из которых способ создания в зоне 7 коронного разряда с последующим переходом последнего в высокочастотный безэлектродный разряд. Описанная методика практически не имеет тeмпературных ограничений. Недостатками рассмотренного способа являются трудность строгой стабилизации плазменного разряди и сложность проведения процесса в том случае, когда выращивание необходимо вести при повышенном давлении.
11.1.1.4. Метод Чохральского
















