Лк17 (975663)
Текст из файла
18. МДП–структура
18.1. Идеальная МДП-структура
Если на окисел, покрывающий поверхность кристалла, нанести металлический электрод (затвор), то, изменяя его потенциал относительно объема кристалла, возможно изменять величину заряда в приповерхностной области полупроводника и, соответственно, её проводимость. Этот эффект положен в основу целого ряда полупроводниковых устройств, среди которых самое известное – МДП-транзистор.
Рассмотрим идеальный МДП-конденсатор, энергетическая диаграмма которого представлена на рис. 18.1.
Напомню (см. Лк 7), что состояние носителей в разнородных материалах (металл – диэлектрик - полупроводник) можно сравнить, используя понятие нулевого потенциала, т. е. принимая потенциал какой-либо точки (например, потенциал вакуума) за нуль (рис. 18.1). Тогда для перевода электрона со дна зоны проводимости полупроводника в вакуум без сообщения ему скорости потребуется энергия q·χ, равная:
Энергия q·χ есть энергия электронного сродства. Сродство количественно измеряется энергией, которую нужно затратить, чтобы перевести электрон с уровня Еc на вакуумный уровень. χ – сродство к электрону полупроводника (electron affinity – способность присоединить электрон). Если энергию электрона отсчитывать от энергии Ферми, а не от
, используют понятие термоэлектронной работы выхода или просто работы выхода Φ:
Таким образом, работа выхода равна разности между энергией покоящегося электрона в вакууме у поверхности образца полупроводника и уровнем Ферми в данном полупроводнике.
На границе металл-диэлектрик, диэлектрик-полупроводник, а в отсутствии диэлектрика на границе металл-полупроводник возникает контактная разность потенциалов:
Для случая «идеальной» МДП-структуры делается ряд допущений:
1. Разность работ выхода между металлом затвора и диэлектриком, диэлектриком и полупроводником, равна нулю или для потенциалов:
Здесь
– разность между уровнем Ферми F и положением уровня Ферми в собственном полупроводнике Ei. Условие означает, что в отсутствие внешнего напряжения энергетические зоны полупроводника не изогнуты (состояние плоских зон).
-
В диэлектрике и на границах раздела металл-диэлектрик и полупроводник-диэлектрик нет никаких зарядов, т.е. диэлектрик не имеет дефектов. При любых смещениях в структуре могут существовать только заряд в ее полупроводниковой части и равный ему заряд противоположного знака на металлическом электроде, отделенном от полупроводника слоем диэлектрика.
-
Диэлектрик является идеальным изолятором.
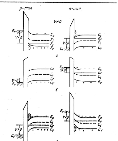
Если к МДП-конденсатору приложить электрическое напряжение, то его обкладки зарядятся. В зависимости от знака и величины приложенного напряжения поверхность полупроводника, будет обогащаться или обедняться основными носителями, или произойдет инверсия проводимости, в том случае, когда концентрация неосновных носителей заряда станет больше чем основных. Энергетические диаграммы, соответствующие различным потенциалам затвора приведены на рис. 18.2 (потенциал в глубине полупроводника принят равным 0).
Для примера рассмотрим полупроводник p-типа.
При отрицательном потенциале на затворе (Vg<0) к поверхности подтягиваются дырки, и их поверхностная концентрация относительно равновесной возрастает. Это – режим обогащения приповерхностной области полупроводника основными носителями заряда.
При подаче небольших положительных потенциалов на затвор электрическое поле отталкивает дырки от поверхности, и их концентрация вблизи поверхности уменьшается (режим обеднения), но их концентрация все еще превосходит концентрацию электронов, подтянутых электрическим полем к поверхности, так что тип проводимости приповерхностной области остается дырочным, т.е. приповерхностная область обедняется основными носителями заряда относительно объема.
При дальнейшем увеличении потенциала затвора концентрация электронов в приповерхностной области становится больше концентрации дырок в объеме, т.е. происходит изменение (инверсия) типа проводимости.
Аналогичные явления будут иметь место для полупроводника n-типа (при этом искривление зон на диаграммах будет направлено в другую сторону).
В общем случае концентрации носителей изменяются по законам:
Здесь
– потенциал уровня Ферми,
– потенциал собственного полупроводника (его часто принимают за нулевой), φT=kT/q – тепловой потенциал равный 0,026 В при комнатной температуре.
Для p-типа
для n-типа
где ni–собственная концентрация носителей.
Изменение поверхностного заряда индуцирует изменение заряда в объеме полупроводника, что сопровождается изменением изгиба зон вблизи поверхности.
Если величина энергии q∙φ(x) измеряется относительно середины запрещенной зоны (рис. 18.3), то зная величину потенциала φ(x), возможно рассчитать распределение носителей заряда в приповерхностной области:
Для характеристики этого изгиба будем использовать понятие поверхностного потенциала φs.
Проведем оценку толщины обедненного слоя для структуры, представленной на рис. 18.3 в случае обеднения. Пусть полупроводник имеет только акцепторную примесь. Тогда уравнение Пуассона примет вид:
Интегрируя с граничными условиями φ=0,
при x=w, получим:
.
, отсюда
– ширина ОПЗ, таким образом, толщина слоя ОПЗ тем больше, чем больше поверхностный потенциал и чем слабее легирован полупроводник.
МДП-транзистор
МДП-транзистор называют также транзистором с изолированным затвором, так как в отличие от ПТУП затвор от полупроводника изолирован окислом (рис.18.4).
| с индуцированным каналом со встроенным каналом каналом p-канальный n-канальный p-канальный n-канальный |
| Рис. 18.4 Условные обозначения МДП-транзисторов |
Обычно в качестве диэлектрика используют оксид (оксид кремния SiO2), поэтому говорят о МОП-транзисторах (со структурой металл-оксид-полупроводник).
МДП-транзистор создан на основе МДП-структуры, в которой использован эффект управления поверхностными свойствами полупроводника за счет изменения потенциала затвора.
Для обеспечения прохождения управляемого тока под затвором создают две дополнительные электродные области: исток и сток. Полупроводниковые области истока и стока создают из сильно легированного, обладающего хорошей проводимостью, материала, отличающегося по типу от материала базового кристалла (рис.18.5).
|
|
| Рис. 18.5. МДП-транзистор со встроенным каналом |
Проводящий канал расположен между стоком и истоком. Расстояние между областями стока и истока определяет длину канала L.
За сток принимается тот электрод, к которому дрейфуют основные носители канала, т.е. в n-канальном транзисторе сток должен быть под положительным потенциалом относительно истока, а в p-канальном – под отрицательным. Затвор в МДП-транзисторе изолирован от полупроводниковой подложки тонким слоем диэлектрика.
МДП-транзисторы применяют двух типов: со встроенным и индуцированным каналами. Транзистор со встроенным каналом, имеющим ту же проводимость, что и сток-истоковые области, при нулевом напряжении на затворе открыт. Уменьшение тока на выходе МДП-транзистора со встроенным каналом обеспечивается подачей на управляющий электрод – затвор – напряжения Uз с полярностью, соответствующей знаку носителей заряда в канале: для p-канала Uз>0, для n-канала Uз<0. Напряжение затвора Uз указанной полярности вызывает обеднение канала носителями заряда, сопротивление канала увеличивается, и выходной ток уменьшается. Если у транзистора со встроенным каналом изменить полярность напряжения на затворе, то произойдет обогащение канала носителями заряда и увеличение выходного тока. Таким образом, транзистор со встроенным каналом может работать при напряжениях на затворе обеих полярностей как в режиме обеднения канала носителями заряда, так и в режиме обогащения. Таким образом, МДП-транзистор со встроенным каналом – это нормально открытый прибор.
Характеристики
Тип файла документ
Документы такого типа открываются такими программами, как Microsoft Office Word на компьютерах Windows, Apple Pages на компьютерах Mac, Open Office - бесплатная альтернатива на различных платформах, в том числе Linux. Наиболее простым и современным решением будут Google документы, так как открываются онлайн без скачивания прямо в браузере на любой платформе. Существуют российские качественные аналоги, например от Яндекса.
Будьте внимательны на мобильных устройствах, так как там используются упрощённый функционал даже в официальном приложении от Microsoft, поэтому для просмотра скачивайте PDF-версию. А если нужно редактировать файл, то используйте оригинальный файл.
Файлы такого типа обычно разбиты на страницы, а текст может быть форматированным (жирный, курсив, выбор шрифта, таблицы и т.п.), а также в него можно добавлять изображения. Формат идеально подходит для рефератов, докладов и РПЗ курсовых проектов, которые необходимо распечатать. Кстати перед печатью также сохраняйте файл в PDF, так как принтер может начудить со шрифтами.
















