Лк10 (975657)
Текст из файла
15 Биполярные транзисторы
В 1958 г. американские ученые Дж. Бардин и В. Браттейн создали полупроводниковый триод, или транзистор (Нобелевская премия В. Шокли, Дж. Бардина, У. Браттейна). Это событие имело громадное значение для развития полупроводниковой электроники. Транзисторная структура легла в основу обширного класса усилительных приборов – биполярных транзисторов. Определение "биполярный" указывает на то, что работа транзистора связана с процессами, в которых принимают электроны и дырки, то есть основные и неосновные носители.
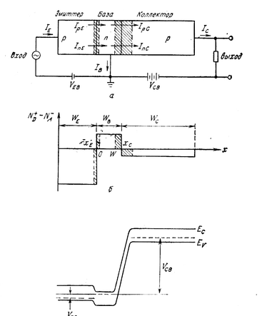
Транзистором называется полупроводниковый прибор с двумя электронно-дырочными расположенными на близком расстоянии параллельными pn-переходами, предназначенный для усиления и генерирования электрических сигналов (рис. 15.1).
Центральную часть транзистора называется базой, левая высоколегированная - эмиттер, правая, низколегированная – коллектор. Переход, разделяющий эмиттер и базу, называется эмиттерным переходом (ЭП), а переход, разделяющий базу и коллектор, - коллекторным переходом (КП). Различают pnp-транзисторы (рис. 15.1,а) и npn-транзисторы (рис. 15.1,б). Стрелкой обозначен эмиттер, направление стрелки, как и в случае диода, от p-типа к n-типу, то есть стрелкой обозначено направление эмиттерного тока в активном режиме.
Кружок, обозначающий корпус дискретного транзистора, в изображении бескорпусных транзисторов, входящих в состав интегральных микросхем, не используется. Электроды транзистора имеют внешние выводы, с помощью которых транзистор включается в электрическую схему.
В
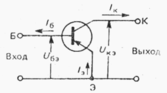
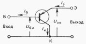
электрическую схему транзистор можно включить тремя режимами (в зависимости от того, какой электрод является общим для входного и выходного напряжения): с общей базой (ОБ) (рис. 15.2, а), с общим эмиттером (ОЭ) (рис. 15.2, б) и с общим коллектором (ОК) (рис. 15.2, в). Исходя из схемы включения, используют индексы напряжения.
Основное уравнение для токов можно записать, исходя из первого правила Кирхгоффа:
15.1 Включение транзистора по схеме с общей базой
Без внешнего смещения в транзисторной структуре (рис. 15.3) на границах между p- и n-областями возникают барьеры, причем электрические поля в переходах направлены так, что для pnp-транзистора существует энергетический барьер для дырок, стремящихся перейти из эмиттера в базу, и барьера нет для дырок, переходящих из базы в коллектор. Аналогично, для npn-транзистора имеется энергетический барьер для электронов, инжектируемых из эмиттера в базу, и барьера нет для электронов, переходящих из базы в коллектор.
Рассмотрим вначале статическую ситуацию, при которой на переходы транзистора от внешних источников питания подаются постоянные напряжения VЭБ и VКБ - см. рис. 15.4.
Пусть эмиттерный переход включен в прямом направлении, второй (коллекторый) – в обратном.
| |
| Рис. 15.4. Включение pnp-транзистора по схеме с ОБ |
В случае pnp-транзистора (рис. 15.4) на эмиттер подается положительное смещение относительно базы, на коллектор – отрицательное. Эмиттерный переход (ЭП) включен в прямом направлении, второй (коллекторный) – в обратном. Такая полярность напряжения обеспечивает открытое состояние эмиттерного перехода и закрытое состояние коллекторного перехода, что соответствует активному режиму работы транзистора, когда выходной (коллекторный) ток изменяется в соответствии с входным напряжением или током. Другие режимы – инверсный, насыщения и отсечки – будут рассмотрены ниже.
Напряжение, приложенное к эмиттерному переходу, уменьшает потенциальный барьер, и из эмиттера в базу инжектируются основные носители (дырки в pnp-транзисторе или электроны в npn-транзисторе), становясь в базе неосновными (избыточными, неравновесными) носителями. Этот поток очень сильно зависит от напряжения на эмиттерном переходе VЭБ, экспоненциально возрастая с увеличением VЭБ.
Вследствие диффузии инжектированные носители движутся через базу к коллекторному переходу, частично рекомбинируя с основными носителями – дырками в npn-транзисторе и электронами в pnp-транзисторе. Между базой и коллектором для неосновных носителей барьера нет, поэтому все дошедшие до коллектора носители заряда проходят через коллекторный переход и создают коллекторный ток. Говорят, что достигнувшие коллекторного перехода носители экстрагируются полем закрытого коллекторного перехода в коллектор. В связи с тем, что в коллекторном переходе отсутствует потенциальный барьер для неосновных носителей, движущихся из базы в коллектор, этот поток в первом приближении не зависит от напряжения на коллекторном переходе VКБ.
Таким образом, в активном режиме, называемом также нормальным активным режимом, всю структуру транзистора от эмиттера до коллектора пронизывает сквозной поток электронов в pnp-транзисторе (электронов в npn-транзисторе), создающий во внешних цепях эмиттера и коллектора токи IЭ и IК.
Для определенности будем рассматривать pnp-транзисторы. На рис. 15.5 представлены распределение концентрации примеси и энергетические диаграммы энергетические диаграммы при нормальном включении.
Важно подчеркнуть, что этот поток дырок и, соответственно, ток коллектора IК, являющийся выходным током транзистора, очень эффективно управляются входным напряжением VЭБ и не зависят от выходного напряжения VКБ. Эффективное управление выходным током с помощью входного напряжения составляет основу принципа работы биполярного транзистора и позволяет использовать транзистор для усиления электрических сигналов.
Определим характер распределения неосновных носителей и токов в областях базы, эмиттера и коллектора транзистора.
| Рис. 15.5 Включение транзистора по схеме с общей базой (а), распределение концентрации примеси (б), энергетические диаграммы (в). |
Классическая теория транзистора исходит из того, что уровень инжекции мал, генерацией и рекомбинацией в ОПЗ эмиттерного и коллекторного pn-переходов можно пренебречь.
Инжектированные в базу дырки в результате диффузии будут перемещаться к коллекторному переходу и, если диффузионная длина Lp была больше ширины базы транзистора Lp>>W, почти все дырки дойдут до коллектора и полем коллекторного перехода будут переброшены в p-коллектор. Возникающий вследствие этого коллекторный ток лишь ненамного меньше тока дырок, инжектированных эмиттером. Поскольку коллекторный переход смещен в обратном направлении, то его сопротивление на несколько порядков выше сопротивления эмиттерного перехода. В результате различия входного и выходного сопротивлений транзистор дает усиление по мощности.
Очевидно, что усиление по мощности будет тем больше, чем большая часть тока, проходящего через эмиттер, будет доходить до коллектора. Отношение приращения тока коллектора к вызвавшему его приращению тока эмиттера при постоянном напряжении на коллекторе называют коэффициентом передачи тока эмиттера
Коллекторный ток транзистора обусловлен не всем эмиттерным током, а только его дырочной составляющей. Поэтому коэффициент передачи зависит от того, какую часть тока эмиттера составляет именно его дырочная компонента.
Для характеристики эмиттерного перехода вводят коэффициента инжекции γ. Коэффициент инжекции есть отношение приращения дырочной составляющей тока
к приращению полного тока эмиттерного перехода:
Не все инжектированные эмиттером дырки доходят до коллектора, некоторая их часть рекомбинирует в базе, поэтому плотность дырочного тока коллектора jpК меньше плотности дырочного тока эмиттера jpЭ, а дырочный ток коллектора меньше дырочного тока эмиттера. Для отражения этого вводят понятие коэффициента переноса или коэффициента рекомбинации æ показывает, какая часть инжектированных носителей достигла коллектора. По определению
где
- приращение тока инжектированных эмиттером дырок, доходящих до коллектора.
Коэффициент переноса зависит от ширины базы W и диффузионной длины неосновных носителей в базе Lp. Именно необходимость обеспечить перенос инжектированных носителей через базу транзистора выдвигает требование, чтобы их диффузионная длина Lp была больше ширины базы транзистора Lp>>W. Выполнение этого условия позволяет обеспечить высокие значения коэффициента переноса (обычно
> 0,98).
Как было сказано в разделе 7, преимущественное легирование одной из областей влечет за собой преимущественное инжектирование электронов либо дырок. Если считать ток коллектора чисто дырочным, что справедливо для сильно легированного эмиттера, то коэффициент передачи
Найдем аналитическое выражение, связывающее коэффициент передачи с физическими свойствами полупроводниковых материалов p- и n-областей. Для этого решим уравнение диффузии, описывающее поведение дырок в n-области базы и электронов в p-области эмиттера. Решение будем проводить, считая, что модель транзистора одномерная, электрическое поле в базе равно нулю, генерация и рекомбинация в pn-переходах отсутствуют и уровень инжекции эмиттера мал.
Уравнение диффузии дырок в области базы в стационарном режиме имеет вид:
где
– коэффициент диффузии дырок в базе,
– время жизни дырок в базе.
Граничными условиями являются соотношения, определяющие концентрации дырок в базе на границе ОПЗ эмиттерного и коллекторного переходов:
Концентрация дырок вблизи коллекторного перехода равно нулю, так как при нормальном включении транзистора
. Решение уравнения (15.6) имеет вид:
С учетом граничных условий получим зависимость концентрации дырок в базе от координаты:
Плотность дырочного тока найдем, дифференцируя выражение (15.9) по х:
Полагая х =0 и х=W, находим дырочные составляющие токов эмиттерного и коллекторного переходов:
Определяя приращения токов эмиттера
и коллектора
при помощи уравнений (15.11) и (15.12) найдем коэффициент переноса
Выполнение условия LpБ>>W позволяет обеспечить высокие значения коэффициента переноса (обычно æ > 0,98).
Характеристики
Тип файла документ
Документы такого типа открываются такими программами, как Microsoft Office Word на компьютерах Windows, Apple Pages на компьютерах Mac, Open Office - бесплатная альтернатива на различных платформах, в том числе Linux. Наиболее простым и современным решением будут Google документы, так как открываются онлайн без скачивания прямо в браузере на любой платформе. Существуют российские качественные аналоги, например от Яндекса.
Будьте внимательны на мобильных устройствах, так как там используются упрощённый функционал даже в официальном приложении от Microsoft, поэтому для просмотра скачивайте PDF-версию. А если нужно редактировать файл, то используйте оригинальный файл.
Файлы такого типа обычно разбиты на страницы, а текст может быть форматированным (жирный, курсив, выбор шрифта, таблицы и т.п.), а также в него можно добавлять изображения. Формат идеально подходит для рефератов, докладов и РПЗ курсовых проектов, которые необходимо распечатать. Кстати перед печатью также сохраняйте файл в PDF, так как принтер может начудить со шрифтами.
















