Глава 3 Конструкция и схемы обмоток электрических машин (967518), страница 17
Текст из файла (страница 17)
Обмотку якоря закрепляют в пазах клиньями или бандажами. Для крепления обмоток из круглого провода пользуются только клиньями. Обмотку из прямоугольного провода в двигателях с высотой оси вращения не более 315 мм большей частью крепят в пазовой части бандажами из стальной немагнитной проволоки или из нетканой стеклоленты. Бандажи располагают в кольцевых бандажных канавках сердечника якоря (рис. 3.48), которые образуются при шихтовке сердечника листами магнитопровода с меньшим диаметром. По длине якоря располагают несколько канавок; длина каждой из них 15...20 мм, а общая длина всех канавок на якоре обычно не превышает приблизительно 1/3 конструктивной длины сердечника якоря.
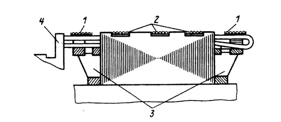
Рис. 3.47. Секции обмотки в пазах якоря:
а – с одинарной головкой; б – с двойной головкой;
1 – пластина коллектора; 2 – выводные концы секции;
3 – сердечник якоря; 4 – головка секции
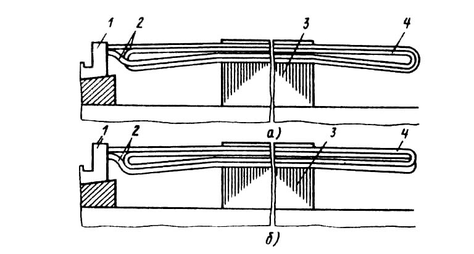
Рис. 3.48. Крепление обмотки якоря бандажами:
1 – бандажи на лобовых частях; 2 – бандажи на пазовой части;
3 – обмоткодержатели; 4 – коллекторная пластина
В двигателях с h > 315 мм пазовые части обмоток крепят клиньями из стеклотекстолита.
Лобовые части всех обмоток якоря крепят бандажами из нетканой стеклоленты, а в машинах больших габаритов и с большой частотой вращения — из стальной немагнитной проволоки.
Таблица 3.21. Изоляция обмотки якоря двигателей постоянного тока
(пазы прямоугольные открытые; обмотка двухслойная петлевая, волновая,
лягушачья разрезная из прямоугольного провода марки ПСД;
h = 350…500 мм; напряжение до 1000 В; класс нагревостойкости В)
| Часть обмотки | Пози- ция | Материал | Число слоев | Двусторонняя толщина изоляции, мм | |||||
| По ширине при числе Uп | По высо-те | ||||||||
| Наименование, марка | Толщи-на, мм | ||||||||
| 2 | 3 | 4 | 5 | ||||||
| Пазовая Лобовая | 1 | Стекляная лента ЛЭС | 0,1 | 1 впри -тык | 0,2 | 0,2 | 0,4 | 0,4 | 0,8 |
| 2 | Лента стекло- слюдопластовая ЛИ-СК-ТТ | 0,1 | 1 впри -тык | 0,28 | 0,28 | 0,28 | 0,28 | 1,12 | |
| 3 | Стеклослюдо- пластовая лента ЛИ-СКу-ТТ | 0,14 | 1 впол- нахлеста | 0,56 | 0,56 | 0,56 | 0,56 | 1,12 | |
| 4 | Стеклянная лента ЛЭС | 0,1 | 1 впри -тык | 0,2 | 0,2 | 0,2 | 0,2 | 0,4 | |
| 5 | Стеклолакоткань ЛСП-130/155 | 1 | 1 | 0,3 | 0,3 | 0,3 | 0,3 | 0,3 | |
| 6 | Стеклотекстолит СТ | 0,5 | 1 | - | - | - | - | 0,5 | |
| 7 | То же | 0,5 | 1 | - | - | - | - | 0,5 | |
| 8 | “ | 0,5 | 1 | - | - | - | - | 0,5 | |
| Допуск на укладку обмотки | - | - | 0,3 | 0,3 | 0,3 | 0,5 | 0,5 | ||
| Всего на паз (без витковой Изоляции и клина) | - | - | 2,14 | 2,14 | 2,44 | 2,54 | 6,24 | ||
| 9 | Стеклянная лента ЛЭС | 0,1 | 1 впри -тык | 0,2 | 0,2 | 0,4 | 0,4 | 0,4 | |
| 10 | Стеклослюдо- пластовая лента ЛИ-СК-ТТ | 0,14 | 1 впри -тык | 0,28 | 0,28 | 0,28 | 0,28 | 0,56 | |
| 11 | Стеклослюдо- пластовая лента ЛИ-СКу-ТТ | 0,14 | 1 впол- нахлеста | 0,56 | 0,56 | 0,56 | 0,56 | 0,56 | |
| 12 | Стеклянная лента ЛЭС Разбухание изоляции от пропитки | 0,1 - | 1 впри –тык - | 0,2 0,3 | 0,2 0,3 | 0,2 0,4 | 0,2 0,5 | 0,2 0,3 | |
| Общая толщина иоляции кату- ши в лобовой чсти (без вит- ковой) | - | - | 1,54 | 1,54 | 1,64 | 1,74 | 2,02 | ||
Для обмоток якорей все более широко применяют корпусную изоляцию типа «монолит», состоящую из стеклослюдинитовых или слюдопластовых материалов на эпоксидных связующих. Эта изоляция помимо высокой электрической и механической прочности обладает очень хорошей адгезией. В обмотках с такой изоляцией в ряде случаев можно не устанавливать пазовых клиньев.
Недостатком изоляции типа «монолит» является сложность ремонта обмотки, так как после запечки изоляции удалить обмотку из пазов крайне трудно.
Таблица 3.22. Изоляция обмотки якоря двигателя постоянного тока (пазы прямоугольные
открытые); обмотка двухслойная петлевая, волновая, лягушачья разрезная из прямоугольного провода марки ПСД (класс нагревостойкости F) и ПСДК (класс нагревостойкости H); h = 355…500 мм; напряжение до 1000 В
| Часть обмотки | Пози- ция | Материал | Число слоев | Двусторонняя толщина изоляции, мм | ||||||||||
| Наименование, марка | Толщина, мм | По ширине при числе Uп | По высоте | |||||||||||
| Класс нагревостойкости | Класс нагревостойкости | 2 | 3 | 4 | 5 | |||||||||
| F | H | F | H | F | H | |||||||||
| Пазовая Лобовая | 1 | Стеклянная лента ЛЭС | Полиамидная пленка ПМ | 0,1 | 0,05 | Полиамидная пленка ПМ | 1 вполнахле- ста | 0,2 | 0,2 | 0,4 | 0,4 | 0,8 | ||
| 2 | Фенилоновая бумага | 0,05 | 1 впритык | 0,1 | 0,1 | 0,1 | 0,1 | 0,4 | ||||||
| 3 | Пленка полиамидная ПМ | 0,05 | 3 вполнахлеста | 0,6 | 0,6 | 0,6 | 0,6 | 1,2 | ||||||
| 4 | Фенилоновая бумага | 0,05 | 1 впритык | 0,1 | 0,1 | 0,1 | 0,1 | 0,2 | ||||||
| 5 | Стеклянная лента ЛЭС | 0,1 | 1 вполнахлеста | 0,4 | 0,4 | 0,4 | 0,4 | 0,8 | ||||||
| 6 | Фенилоновая бумага | 0,2 | 1 | 0,4 | 0,4 | 0,4 | 0,4 | 0,4 | ||||||
| 7 | Стеклотекстолит СТЭФ | СТК | 0,5 | 1 | - | - | - | - | 0,5 | |||||
| 8 | СТЭФ | СТК | 0,5 | 1 | - | - | - | - | 0,5 | |||||
| 9 | СТЭФ | СТК | 0,5 | 1 | - | - | - | - | 0,5 | |||||
| Допуск на укладку обмотки | - | - | 0,3 | 0,3 | 0,3 | 0,3 | 0,5 | |||||||
| Всего на паз (без витковой изоляции и клина) | - | - | 2,1 | 2,1 | 2,3 | 2,3 | 5,8 | |||||||
| 10 | Стеклянная лента ЛЭС | Полиамидная пленка ПМ | 0,1 | 0,05 | 1 впритык | 1 вполнахле- ста | 0,2 | 0,2 | 0,4 | 0,4 | 0,4 | |||
| 11 | Фенилоновая бумага | 0,05 | 1 впритык | 0,1 | 0,1 | 0,1 | 0,1 | 0,2 | ||||||
| 12 | Пленка полиамидная ПМ | 0,05 | 2 вполнахлеста | 0,4 | 0,4 | 0,4 | 0,4 | 0,4 | ||||||
| 13 | Фенилоновая бумага | 0,05 | 1 впритык | 0,1 | 0,1 | 0,1 | 0,1 | 0,1 | ||||||
| 14 | Лента стеклянная ЛЭС | 0,1 | 1 вполнахлеста | 0,4 | 0,4 | 0,4 | 0,4 | 0,4 | ||||||
| Общая толщина изоляции катушки в лобовой части (без витковой) | - | - | 1,2 | 1,2 | 1,4 | 1,4 | 1,5 | |||||||
3.14. ОСОБЕННОСТИ СХЕМ ОБМОТОК ЯКОРЕЙ МАШИН ПОСТОЯННОГО ТОКА
















