Глава 11 Проектирование машин постоянного тока (967525)
Текст из файла
Глава одиннадцатая.
Проектирование машин постоянного тока
Машины постоянного тока общего назначения выпускают серийно. Создание каждой новой серии представляет собой сложную научно-техническую и экономическую задачу, решение которой ведется на основе глубокого анализа тенденций развития электромашиностроения и прогнозов показателей технического уровня разрабатываемых машин, а также достижений в области проектирования и технологии. В серии должны быть учтены требования международной стандартизации и приняты рациональные принципы увязки мощностей с высотой оси вращения.
11.1. СЕРИИ МАШИН ПОСТОЯННОГО ТОКА
Первая общесоюзная серия машин постоянного тока была создана в 1956 г. Она была названа серией П. В этой серии впервые была установлена нормализованная шкала номинальных мощностей и номинальных частот вращения машин. Машины серии П состояли из трех групп конструктивно подобных отрезков серии: машины мощностью от 0,3 до 200 кВт (1—11-й габариты), машины мощностью 200—1400 кВт (12—17-й габариты) и машин мощностью свыше 1400 кВт (18—26-й габариты).
Габарит машины определяется диаметром якоря, который нормализован. Для каждого габарита устанавливают две длины сердечника. Исполнение двигателей единой серии П от 1-го до 11-го габарита по степени защиты соответствует IP22, по способу охлаждения - IC01 или IC05. Возбуждение смешанное. На рис. 11.1 приведена типичная для этой серии конструкция электрической машины.
Серия 2П, созданная к 1974 г., приблизительно через 20 лет после создания первой серии П, спроектирована в полном соответствии с рекомендациями Международной электротехнической комиссии (МЭК).
Эта серия машин имеет следующие особенности:
принята единая шкала номинальных высот оси вращения машины;
установочные размеры машины (рис. 11.2) однозначно увязаны с высотой оси вращения, но не определяются мощностью машины;
для каждой высоты оси вращения приняты три значения длины, которым соответствуют три обозначения длины станины; S — для коротких, М — средних и L — длинных машин.
Рис. 11.1. Машина постоянного тока типа П-92:
1, 5, 16, 18 – крышки подшипников; 2 – передний щит; 3 – траверса; 4 – шарикоподшипник; 6 – крышка подшипникового щита; 7 – коллектор; 8 – станина; 9 – добавочный полюс; 10 – якорь; 11 – главный полюс; 12 – шайба на валу; 13 – задний щит; 14 – вентилятор; 15 – болт; 17 – роликоподшипник; 19 – вал; 20 – шпонка; 21 – жалюзи
Установочные размеры электрических машин приведены в табл. П6.2 и П6.3. Принятые обозначения размеров: h — высота оси вращения от нижней опорной поверхности лап до оси вала; b10 — расстояние между отверстиями под болты в лапах (торцевой вид); l10 — расстояние от оси отверстия в лапе машины до упора (заплечика) свободного конца нала; d1 — диаметр основного свободного конца вала; d10 — диаметр отверстий под болты в лапах машин.
Размеры l1 и d1 свободного конца вала не связывают с высотой оси вращения, а выбирают в зависимости от наибольшего длительного вращающего момента двигателя согласно табл. П6.4; размеры шпонки и шпоночных канавок связаны с размерами l1 и d1 .
Рис. 11.2. Установочные размеры машины постоянного тока серии 2П:
Диаметры крепительных фланцев, регламентированные МЭК, приведены в табл. П6.5, а обозначения размеров — на рис. 11.2.
Двигатели серии 2П имеют следующие степени защиты (по ГОСТ 17494—87):
IР22 — с самовентиляцией (типа 2ПА), независимой вентиляцией от постороннего вентилятора (типа 2ПН);
IР44 — закрытое исполнение с естественным охлаждением (типа 2ПВ) и закрытое исполнение с наружным обдувом от постороннего вентилятора (типа 2ПО).
Номинальные мощности соответствующих серий приведены в [16].
Формы исполнения двигателей серии 2П в зависимости от габаритов даны в табл. 11.1.
Таблица 11.1. Формы исполнения двигателей серии 2П
| Формы исполнения | Диапазон габаритов |
| IМ1001, IМ1011, IМ1031 | 112,132,160,180,200 |
| IM2101, IМ2111, IМ2131 | 180 и 200 |
| IM3601, IM3611, IМ3631 | 112.132.160.180.200 |
Двигатели серии 2П предназначены для работы как, от источников постоянного тока, так и от тиристорных преобразователей. Номинальные напряжения якорной цепи 110, 220,440, 600 В. Возбуждение независимое, номинальное напряжение возбуждения 110 и 220В.
Двигатели мощностью до 200 кВт выпускают с номинальными частотами вращения 750, 1000, 1500, 2200, 3000 об/мин. Частота вращения двигателей может регулироваться как изменением напряжения якорной цепи, так и ослаблением поля главных полюсов. Увеличение частоты ослаблением поля допускается до 3500 об/мин при номинальной частоте вращения 1500 об/мин или до 3000 об/мин при номинальной частоте вращения 1000 об/мин и ниже.
Двигатели серии 2П защищенного исполнения типов 2ПА и 2ПН выполняют с изоляцией класса нагревостойкости В, двигатели закрытого исполнения типов 2ПО и 2ПБ - с изоляцией класса нагревостойкости F.
Конструкция двигателя серии 2П приведена на рис. 11.3.
Корпус станины имеет цилиндрическую форму, изготовляется из стали марки СтЗ. К корпусу винтами привернуты главные и дополнительные полюсы с обмотками. Главные полюсы набраны из штампованных листов электротехнической стали марок 3411, 3413 толщиной 0,5 или 1 мм. Пакеты листов полюсов скрепляют заклепками. Сердечники дополнительных полюсов также выполняют из электротехнической стали 3411 или другой марки толщиной 0,5 мм или 1 мм. При высотах оси вращения до 132 мм сердечники дополнительных полюсов выполняют из полосовой стали марки СтЗ. Обмотка главных полюсов - многослойная из медного провода круглого сечения марки ПЭТВ. Обмотка дополнительных полюсов - из медного провода круглого сечения марки ПЭТВ или прямоугольного провода марки ПСД. Собранные катушки главных и дополнительных полюсов пропитывают в нагревостойких лаках, что обеспечивает их монолитность и влагостойкость, уменьшает внутреннее тепловое сопротивление катушки. Изоляция обмоток главных и добавочных полюсов приведена в табл. 11.2—11.3.
Пакет якоря набирается из штампованных изолированных лаком листов электротехнической стали марок 2211, 2312, 2411, 3413 и др. толщиной 0,5 мм, напрессовывается непосредственно на вал и закрепляется между двумя нажимными кольцами, являющимися одновременно обмоткодержателями для лобовых частей обмотки якоря.
В пазы сердечника якоря укладывают обмотку. При диаметрах якоря до 200 мм пазы выполняют полузакрытыми овальной формы, зубцы с параллельными стенками. Обмотка якоря в этих случаях - всыпная из эмалированных медных проводников круглого сечения, образующих мягкие секции, которые легко можно уложить в пазы через сравнительно узкие шлицы.
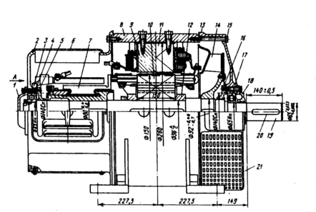
Рис. 11.3. Машина постоянного тока типа 2П-160М:
1,16,23 — крышки подшипников; 2 — щит подшипниковый; 3 — траверса; 4 — лента защитная; 5 — балансировочное колесо; 6 — коллектор; 7 — коробка выводов; 8 — станина; 9 — болт; 10 — шайба; 11 — якорь; 12 — обмотка якоря;
13 — диффузор; 14 — защитная лента; 15 — вентилятор; 17 — шарикоподшипник; 18 — подшипниковый щит;
19 — болт М10; 20 — шайба М10; 21 — болт М6; 22 — шайба М6; 24 — вал; 25 — главный полюс;
26 — дополнительный полюс; 27 — щетки
Таблица 11.2. Изоляция обмоток главных и добавочных полюсов машин постоянного тока
(
= 80...200 мм, напряжение до 600 В)
| Позиция | Назначение | Материал | Толщина, мм | Число слоев | ||
| Наименование, марка | ||||||
| Класс нагревостойкости | ||||||
| B | F | H | ||||
| 1 | Изоляция сердечника (напыление) | Эпоксидная смола | 1 | — | ||
| 2 | Изоляция катушки | Лакотканеслюдопласт | 0,25 | 1 | ||
| ГИТ-ЛСБ-ЛСЛ | ГИП-ЛСП-ЛСЛ | ГИК-ЛСК-ЛСЛ | ||||
| 3 | Тоже | Стеклянная лента ЛЭС | 0,1 | 1 вполнахлеста | ||
| 4 | Рамка | Стеклотекстолит | 0,5 | 1 | ||
| СТ | СТЭФ | СТК | ||||
В серийных машинах мощностью более 30 кВт обмотку якоря выполняют из прямоугольных обмоточных проводников в виде формованных жестких секций. Все секции, принадлежащие одной катушке, изолируют общей пазовой изоляцией и укладывают в пазы прямоугольной формы, что обеспечивает хорошее использование площади паза и снижает трудоемкость обмоточных работ. Пазовую изоляцию обмоток с мягкими и жесткими секциями выполняют согласно данным в табл. 11.4—11.6.
Обмоткодержатели крепят следующим образом: один упирается в уступ на валу, а другой запирается кольцом, насаженным на вал по горячей посадке. Вал из стали марки 45 имеет ступенчатую форму для раздельной посадки на него сердечника якоря, коллектора и вентилятора.
Коллектор состоит из коллекторных пластин, изолированных друг от друга слюдяными пластинами, являющимися межламельной изоляцией. При наружном диаметре коллектора до 250 мм коллекторные пластины закрепляют пластмассой, которую впрессовывают во внутреннее отверстие между пластинами и коллекторной втулкой, предназначенной для посадки коллектора на вал. В качестве армирующей пластмассы используют пластмассу АГ-4С или К6.
Таблица. 11. 3. Изоляция обмоток главных и добавочных полюсов машин постоянного тока (
= 225...315 мм, напряжение до 600 В)
| Позиция | Назначение | Материал | Толщина, мм | Число слоев | ||||
| Наименование, марка | ||||||||
| Класс нагревостойкости | Класс нагревостойкости | |||||||
| B | F | H | В F,H | |||||
| 1 | Изоляция катушки | Стеклянная лента ЛЭС | 0,1 | 1 вполнахлеста | ||||
| 2 | Каркас | Стеклолакоткань | 2 | 1 | ||||
| ГИТ-ЛСБ-ЛСЛ | ГИП-ЛСП-ЛСЛ | ГИК-ЛСК-ЛСЛ | ||||||
| Сталь Ст3 | 1,5 | 1 | ||||||
| 3 | Рамка | Стеклотекстолит | 0,5 | 1 | ||||
| 4 | СТ | СТЭФ | СТК | |||||
| 5 | Скоба | Сталь Ст3 | 8—10 | 1 | ||||
| 6 | Изоляция сердечника | Слюдопластофолий ИФГ-Б | Синтофолий F | Синтофолий H | 0,16 | 7,5 | ||
| 7 | Прокладка междувитковая | Асбестовая бумага | Фенилоновая бумага 0,2 мм | 1 | ||||
| 8 | Изоляция углов | Стеклянная лента ЛЭС | 1 вполнахлеста | |||||
Таблица 11. 4. Изоляция обмотки якоря двигателей постоянного тока
Характеристики
Тип файла документ
Документы такого типа открываются такими программами, как Microsoft Office Word на компьютерах Windows, Apple Pages на компьютерах Mac, Open Office - бесплатная альтернатива на различных платформах, в том числе Linux. Наиболее простым и современным решением будут Google документы, так как открываются онлайн без скачивания прямо в браузере на любой платформе. Существуют российские качественные аналоги, например от Яндекса.
Будьте внимательны на мобильных устройствах, так как там используются упрощённый функционал даже в официальном приложении от Microsoft, поэтому для просмотра скачивайте PDF-версию. А если нужно редактировать файл, то используйте оригинальный файл.
Файлы такого типа обычно разбиты на страницы, а текст может быть форматированным (жирный, курсив, выбор шрифта, таблицы и т.п.), а также в него можно добавлять изображения. Формат идеально подходит для рефератов, докладов и РПЗ курсовых проектов, которые необходимо распечатать. Кстати перед печатью также сохраняйте файл в PDF, так как принтер может начудить со шрифтами.
















