Глава 11 Проектирование машин постоянного тока (967525), страница 9
Текст из файла (страница 9)
При расчете
по (11.69), (11.70) необходимо предварительно выбрать ширину щетки. Ширина щетки принимается
при простых волновых обмотках,
при простых петлевых обмотках и
при двухходовых петлевых обмотках.
Ширина щетки
определяет ширину зоны коммутации
, т.е. ширину дуги окружности поверхности якоря, в границах которой находятся коммутируемые секции:
Диаметр коллектора
коллекторное деление
, а также
выбирают согласно данным § 11.4; укорочение обмотки в коллекторных делениях
принимают всегда со знаком плюс. Ширина щетки должна обеспечить ширину зоны коммутации:
где
— ширина нейтральной зоны.
Верхние границы этого отношения относятся к машинам с диаметром якоря до 0,2 м, нижние значения принимаются при диаметрах якоря выше 0,4 м. При отсутствии добавочных полюсов в машинах малой мощности отношение
можно выбивать в пределах 0,8—1,25.
Принятое значение ширины щетки округляется до ближайшего стандартного размера
(см. табл. П4.1).
При выборе ширины зоны коммутации следует иметь в виду что увеличение ширины зоны коммутации приводит к сокращению числа проводников якоря, участвующих в создании электромагнитного момента, что влечет увеличение тока в якоре и ухудшение условий коммутации. Поэтому желательно, чтобы щетки перекрывали не более двух-трех коллекторных пластин.
Выбор марки щеток для машин постоянного тока — весьма сложная задача, так как от марки щеток зависят коммутация машины и срок службы коллекторно-щеточного узла. На практике марку щеток определяют в соответствии с условиями работы согласно табл. П4.2, где приведены основные технические данные марок наиболее распространенных щеток и области их применения.
Контактная площадь всех щеток, м2,
где
— плотность тока в щеточном контакте, А/см2 (см. табл. П4.2). Контактная площадь щеток одного бракета (щеточного болта)
По табл. П4.1 выбирают длину
одной щетки, определяют площадь щеточного контакта одной щетки
и рассчитывают число щеток на один щеточный болт:
По выбранным размерам щеток
и
определяют фактически контактную площадь и уточняют плотность тока в щеточном контакте
.
Активная длина коллектора при шахматном расположении щеток по длине коллектора, м,
Механический расчет коллекторов приведен в гл. 8.
11.9. РАСЧЕТ ДОБАВОЧНЫХ ПОЛЮСОВ
Магнитодвижущая сила обмотки добавочных полюсов должна создать в зоне коммутации магнитное поле, индуктирующее в коммутируемой секции ЭДС коммутации
, направленную встречно реактивной ЭДС Ер. Электродвижущая сила
должна быть несколько больше Ер, чтобы процесс коммутации протекал с некоторым ускорением. При расчете индукции в воздушном зазоре под добавочными полюсами
принимают расчетное значение реактивной ЭДС
(1,05...1,1) Ер.
Ширина наконечника добавочного полюса (рис. 11.26), м,
Рис. 11.26. Размеры добавочных полюсов
Длину наконечника добавочного полюса
принимают равной длине якоря:
. Магнитный поток добавочного полюса в воздушном зазоре в зоне коммутации, Вб,
где
— расчетная ширина полюсного наконечника добавочного полюса.
Магнитный поток в сердечнике добавочного полюса, Вб,
где
— коэффициент рассеяния добавочных полюсов;
= 2,5...3,5 для машин без компенсационной обмотки;
= 2 для машин с компенсационной обмоткой.
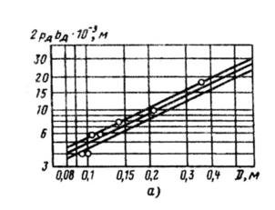
Ширину сердечника добавочного полюса
предварительно определяют по зависимости на рис. 11.27, а. Длину сердечника добавочного полюса
принимают равной длине якоря; для машин с диаметром якоря до 0,132 м длина
короче длины полюсного наконечника на (5...10)·10-3 м.
Индукция в сердечнике добавочного полюса, Тл,
Она не должна превышать 1,6 Тл.
Рис. 11.27. К расчету магнитной цепи добавочных полюсов:
а — зависимость ширины добавочного полюса от диаметра якоря;
6 — магнитные цепи главных и добавочных полюсов
Сердечники добавочных полюсов выполняют из стали марки СтЗ при диаметрах якоря до 0,16 м, при больших диаметрах — из тегов электротехнической стали марки 3411 толщиной 1,0 мм. В зависимости от отношения ширины полюсного наконечника к ширине сердечника форма поперечного сечения добавочного полюса может быть прямоугольной (см. рис. 11.26) и прямоугольной со скошенным наконечником при
.
Для расчета МДС обмотки добавочных полюсов необходимо определить магнитные напряжения отдельных участков и полную МДС магнитной цепи на один полюс в соответствии с табл. 11.19.
Таблица 11.19. Расчет МДС обмотки добавочных полюсов
Распределение магнитных потоков главных полюсов Фг и добавочных полюсов Фд в магнитной системе машины показано на рис. 11.27, б.
Магнитодвижущая сила обмотки добавочных полюсов для машин постоянного тока без компенсационной обмотки находится в пределах
Число витков обмотки на один добавочный полюс
















