Глава 3 Конструкция и схемы обмоток электрических машин (967518), страница 15
Текст из файла (страница 15)
выполненной по принципу ПАМ: 1 – 9 - элементы обмотки
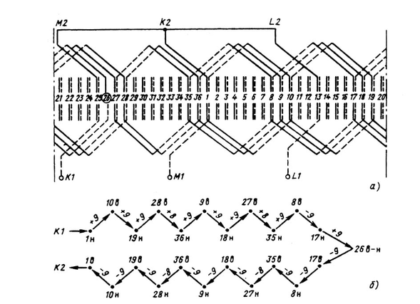
Двухскоростные асинхронные двигатели серии 4А и АИ с высотами осей вращения 160…200 мм при соотношении чисел полюсов 6 : 4 имеют две обмотки: основную – двухслойную и дополнительную – однослойную, катушечные группы которых условно показаны на рис. 3.39, а соответственно кружками и прямоугольниками. Основная обмотка — полюсно – переключаемая. При работе на 2р = 4 включается только основная обмотка, соединенная треугольником при а = 1 (рис. 3.39, б). При работе двигателя на 2р = 6 основная обмотка соединяется в звезду с двумя параллельными ветвями и последовательно с ней включается дополнительная обмотка (рис. 3.39, в).
Для трехскоростных и четырехскоростных асинхронных двигателей используют оба принципа изменения чисел полюсов: устанавливают две независимые обмотки, каждая из которых (в четырехскоростных) или одна из них (в трехскоростных двигателях) выполняется полюсно-переключаемой. В обмотках в большинстве случаев используют более простые схемы переключения числа полюсов в отношении 1 : 2. Так, например, трехскоростные двигатели 4А112М6/4/2 имеют две независимые обмотки, одна из которых рассчитана на 6 полюсов, а вторая (полюсно-переключаемая) — на 2 и 4 полюса; в четырехскоростных двигателях 4А180М12/8/6/4 обе обмотки полюсно – переключаемые: одна на 12 и 6 полюсов, другая на 8 и 4 полюса.
Рис. 3.39 Полюсно – переключаемые обмотки:
а – выводы обмотки; б – включение основной обмотки на 2р = 4 при а = 1;
в – включение основной и дополнительной обмоток на 2р = 6 при а = 2;
- элементы основной обмотки, - элементы дополнительной обмотки
3.12. ОБМОТКИ ФАЗНЫХ РОТОРОВ АСИНХРОННЫХ ДВИГАТЕЛЕЙ
По своей конструкции и схемам соединения обмотки фазных роторов машин переменного тока. В роторах машин мощностью до 80...100 кВт обычно применяют катушечные обмотки. Конструктивно катушечные обмотки фазных роторов отличаются от статорных только расположением лобовых частей и наличием на них бандажей. В схемах отличие состоит в выборе начал фаз обмотки. Если расстояние между началами фаз обмотки статора выбирается минимально возможным для обеспечения большей компактности расположения выводных концов, то в обмотке ротора их стремятся расположить равномерно по окружности, чтобы облегчить балансировку обмотанного ротора.
С увеличением размеров машины уменьшается число витков в обмотке статора. Соответственно должно уменьшиться и число витков обмотки ротора, так как иначе напряжение на контактных кольцах возрастает, что может послужить причиной пробоя изоляции во время пуска машины. Поэтому в машинах больших габаритов обмотку ротора выполняют стержневой, имеющей всегда два эффективных проводника в пазу. Число витков в обмотке ротора при этом уменьшается, а ток ротора возрастает. Поэтому обмотку выполняют из прямоугольной меди или медных шин с площадью поперечного сечения, много большей, чем сечение проводников обмотки статора.
Стержневую обмотку ротора, как правило, делают волновой, так как в волновой обмотке меньше межгрупповых соединений, которые технологически трудновыполнимы при большом сечении проводников.
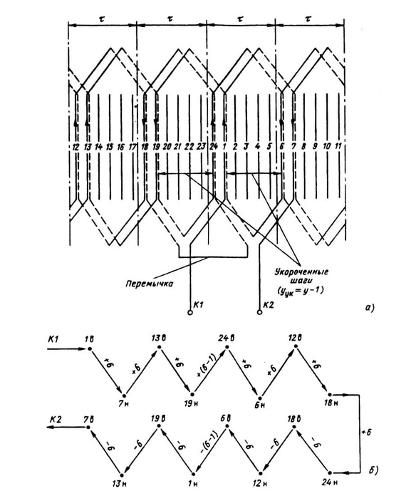
Основные закономерности соединений схем волновых обмоток фазных роторов рассмотрим на следующем примере. Составим схему стержневой волновой обмотки ротора, имеющего число пазов Z2= 24 и число полюсов 2р2 = 4. На рис. 3.40, а показаны 24 линии пазов, в которых расположены проводники верхнего слоя обмотки. Разметим эти пазы по фазам, предварительно определив полюсное деление τ2 = Z2 / 2p2 = 24/ 4 = 6 пазовым делениям и число пазов на полюс и фазу q2 = Z2/ (2p2m2) = 24/ (4
3) = 2. Стрелками на линиях укажем для первой фазы направления мгновенных значений токов в стержнях (одинаковые
Рис. 3.40. К построению схемы стержневой волновой обмотки фазного ротора
асинхронного двигателя, Z = 24, 2р = 4:
а – схема соединений одной фазы; б – последовательность соединения стержней
в пределах каждого полюсного деления и изменяющиеся на обратные при переходе на соседние полюсные деления) и начнем построение схемы обмотки, приняв за начало первой фазы (К1) верхний стержень, лежащий в первом пазу.
Обмотку выполняют с диаметральным шагом. В данной схеме шаг обмотки по пазам у = τ2 = 6 зубцовых делений. Обмотка двухслойная, поэтому верхний стержень из паза 1 должен быть соединен с нижним стержнем паза 1 + у = 1 + 6 = 7. Далее нижний стержень паза 7 соединяется с верхним стержнем паза 7 + у = 7 + 6= 13 и т. д. Одновременно с вычерчиванием схемы целесообразно записывать последовательность шагов обмотки (рис. 3.40, б).
Проделав таким образом 2р2 — 1 = 4 — 1 = 3 шага, убеждаемся, что при следующем — четвертом (по числу полюсов) шаге обмотка замкнется сама на себя, так как 2р2τ2 = Z2. При построении схемы этот шаг укорачивают или удлиняют на одно зубцовое деление, т. е. делают его равным у - 1 или у + 1. Чаще встречаются схемы с укороченными переходными шагами, так как они приводят к некоторой экономии меди обмотки. При удлиненном шаге возникают дополнительные перекрещивания лобовых частей верхнего и нижнего слоев у выхода стержней из паза.
Укороченным (или удлиненным) шагом завершается первый обход обмотки по окружности ротора. После q2 таких обходов (в рассматриваемом примере — после двух обходов) изменение последнего шага производить нельзя, так как это приведет обмотку данной фазы к стрежням соседней. Для соединения оставшихся после первых q2 обходов стержней фазы последний стержень, на котором занимающим такое же положение в пазу на расстоянии шага от него в направлении обхода, т. е. нижний стержень паза 18 соединяют с нижним стержнем паза 18 + 6 = 24. Далее продолжают обход в том же порядке, но изменив его направление. Построение обмотки заканчивается после q2 обходов в обратном направлении.
Начала других фаз обмотки располагают симметрично через 2р2q2 пазовых делений, т. е. через 1/3 окружности ротора (см. § 3.5).
Полная схема обмотки, построение которой начато в примере на рис. 3.40, приведена на рис. 3.41. За начала фаз приняты верхние стержни, расположенные в пазах 1, 9 и 17. Рассмотренная обмотка является типичной для стержневых волновых обмоток фазных роторов асинхронных двигателей.
Отметим некоторые особенности обмоток данного типа. В стержневой волновой обмотке имеется только по одной перемычке на фазу независимо от числа полюсов, в то время как в катушечных двухслойных обмотках таких перемычек — межгрупповых соединений — необходимо установить 2р - 1 на каждую фазу. Это обстоятельство существенно облегчает соединение схемы, особенно в многополюсных машинах. При симметричном расположении начал фаз также симметрично располагают перемычки и концы фаз. Если за начала фаз приняты верхние стержни пазов, то концами фаз также будут верхние стержни, а перемычки соединяют с нижними стержнями.
Рис. 3.41. Схема стержневой волновой обмотки фазного ротора, Z = 24, 2p = 4, a = 1
Находят применение также некоторые модификации рассмотренных схем обмоток роторов. Иногда в схемах выполняют укороченные переходные шаги по обходу ротора в одну сторону и удлиненные — в другую. В таких схемах перемычки смещаются на несколько пазовых делений, поэтому конструктивно выводные концы фаз не пересекаются с перемычками, что облегчает крепление лобовых частей.
Распространены также схемы обмоток фазных роторов, выполняемых без перемычек. В таких обмотках в каждой из фаз на месте последнего при прямом обходе стержня, который в обычных схемах соединяют с перемычкой (см., например, на рис. 3.41 нижние стержни в пазах 2, 10, 18), устанавливают изогнутый переходной стержень. На схеме одной фазы обмотки без перемычек (рис. 3.42) переходной стержень размещен в 26-м пазу (отмечен кружком на схеме). Переходной стержень изгибается так, что одна половина его по длине находится в нижнем слое паза, а другая — в верхнем. Обе лобовые части стержня отгибают в одну и ту же сторону. После установки переходного стержня направление обхода меняется на обратное так же, как после установки перемычек в рассмотренных ранее схемах. В такой обмотке концы фаз располагают на противоположной от начал фаз стороне ротора.
Отсутствие перемычек упрощает конструкцию обмоток и технологию соединения схемы. Расположение начал и концов фаз на разных торцах ротора облегчает установку выводных концов и соединительной шины на конечных выводах обмотки для соединения ее в звезду. В то же время наличие переходных, изогнутых по длине стержней требует их дополнительного
крепления в пазах (рис. 3.43).
Рис. 3.42. Схема (а) и последовательность соединения (б) одной фазы
стержневой волновой обмотки фазного ротора с
переходным стержнем, Z = 36, 2p = 4
Волновую стержневую обмотку выполняют с одной и, реже, с двумя параллельными ветвями. Образование большего числа параллельных ветвей технологически сложно. Для получения двух параллельных ветвей перемычку между половинами фаз убирают и каждую часть обмотки соединяют с начальным и конечным выводами фаз сохраняя в них направление тока.
Рис. 3.43. Положение переходного стержня в пазу ротора:
1 – переходный стержень; 1 – уплотняющие клинья;
3 – сердечник ротора
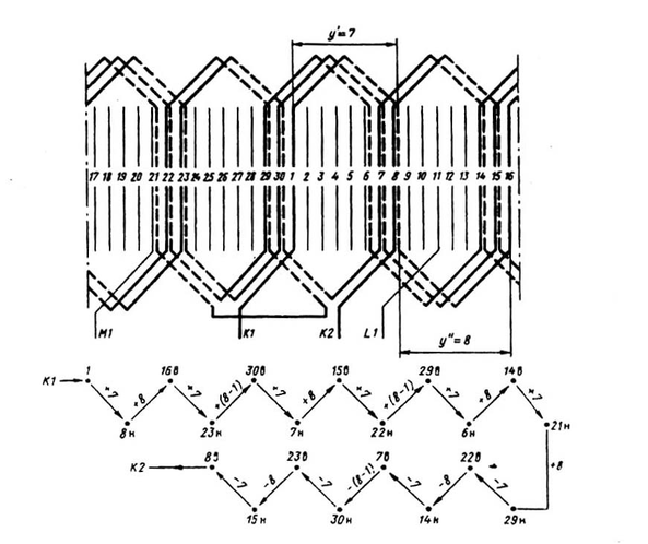
В большинстве случаев стержневые волновые обмотки роторов выполняют с целым число пазов на полюс и фазу. Однако на практике встречаются обмотки и с дробным q2. При q2 = b + с/d полюсное деление τ2 = m2q2 содержит дробное число пазовых делений (обмотки с d, кратным трем, в трехфазных машинах не применяют) и шаг обмотки выполняют с различными шагами: большими, равными у' = τ2 + ε1 пазовых делений, и малыми, равными
Рис. 3.44. Схема и последовательность соединения одной фазы
стержневой волновой обмотки фазного ротора, Z = 30, 2p = 4, q =
у'' = τ2 – ε2 пазовых делений, где ε1 и ε2 — наименьшие дробные числа, при которых y' и у" выражаются целыми числами. Количество больших и малых шагов, а также последовательность соединений стержней в схеме зависят от числа q2 и находятся аналогично числу и чередованию больших и малых катушечных групп в двухслойных катушечных обмотках с дробным q. Наиболее часто дробные обмотки фазных роторов выполняют при знаменателях дробности d = 2, т. е. с q2 =
,
и т. п. В таких обмотках большие шаги равны у' = τ2 + 1/2, а малые у" = τ2 - 1/2 пазовых делений. Схему обмотки строят так же, как и при целом q2, но большие шаги чередуют с малыми. Последовательность чередования шагов до перемычки и после изменяется на обратную.
На примере схемы обмотки с q2 =
, приведенной на рис. 3.44, видно, что две (прямая и обратная) ветви обмотки располагают таким образом, что в каждой фазной зоне занято стержнями фазы q2 = 2 + 1/2 паза (три верхние половины паза и две нижние либо наоборот). В оставшейся свободной половине паза размещают стержень, принадлежащий соседней фазе.
3.13. КОНСТРУКЦИЯ И ИЗОЛЯЦИЯ ОБМОТОК ЯКОРЕЙ
















