Глава 3 Конструкция и схемы обмоток электрических машин (967518), страница 14
Текст из файла (страница 14)
при d нечетном (k = d)
Большую работу по расчету и внедрению в серию RA обмоток дробным q провел на ЯЭМЗ В.И. Попов [13]. Там же приведен целый ряд новых схем обмоток с дробным q.
3.10. СХЕМЫ ОБМОТОК ДЛЯ МЕХАНИЗИРОВАННОЙ УКЛАДКИ
Современные обмоточные станки работают по принципу либо поочередной укладки каждого проводника обмотки в пазы статора по шагу обмотки, либо втягивания в пазы с торца статора одновременно пучка проводников, принадлежащих одной или нескольким катушечным группам. И тот, и другой способы применимы только для обмоток, не требующих при укладке подъема шага, т. е. временного подъема из пазов сторон первых уложенных катушек. Кроме того, более прогрессивный способ укладки путем втягивания катушечных групп с торца статора применим только для обмоток из концентрических катушек. Этому требованию полностью удовлетворяют однослойные концентрические обмотки. Двухслойные обмотки, схемы которых рассмотрены выше, требуют при укладке обязательного подъема шага. Поэтому в последние годы для механизированной укладки разработан ряд новых схем, при которых обмотки с сохранением их симметричности можно укладывать в пазы без подъема шага, как однослойные, и в то же время выполнять их с укорочением шага, как двухслойные. К наиболее распространенным видам таких обмоток относятся одно-двухслойные и двухслойные концентрические [2].
Одно-двухслойная обмотка представляет собой как бы сочетание катушек однослойной и двухслойной обмоток (рис. 3.33). В обычной двухслойной обмотке с укорочением шага при β ≥ 2/3 в ряде пазов располагают стороны катушек, принадлежащие одной и той же фазе (см., например, рис. 3.24 — пазы 1, 7, 13 и др.), а в других пазах размещены стороны катушек разных фаз. В одно-двухслойных обмотках в пазах, в которых расположены стороны катушек одной и той же фазы, помещают однослойную катушку (большую) с двойным числом витков. На схеме (рис. 3.33) такие катушки показаны пиниями двойной толщины. В остальных пазах размещены в два слоя стороны малых катушек разных фаз. Обмотка выполняется
Рис. 3.33. Схема одно- двухслойной обмотки, Z = 48, 2p = 4, a = 1, q = 4
концентрическими катушками. Число катушечных групп равно числу полюсов. В трехфазных обмотках катушечную группу (рис. 3.34) обычно выполняют из одной большой и q - 2 малых катушек (всего q - 1 катушка в группе). Шаг большой катушки равен уб = τ - 1. Такая обмотка
выполнима только при q ≥ 3. При q = 2 она превращается в концентрическую однослойную обмотку, выполненную вразвалку.
Рис. 3.34. Катушечные группы одно-двухслойной
обмотки при q = 4, yб – шаг большой катушки
(катушки с большим числом витков)
Анализ векторных диаграмм пазовых ЭДС одно-двухслойной обмотки показывает, что ее обмоточный коэффициент, так же как и у двухслойной можно представить в виде произведения kоб = kр kу. Коэффициенты распределения kр и укорочения kу, рассчитывают по обычным для двухслойных обмоток формулам (3.11) и (3.13).
Укорочение шага в одно-двухслойной обмотке определяют по расчетному шагу (3.8) и (3.9), и для трехфазных обмоток с одной большой катушкой в группе
Для обмоток с q = 4 и q = 5 укорочение β соответственно равно 0,83 и 0,8, т. е. близко к укорочению шага, выполняемому в двухслойных обмотках.
Двухслойная концентрическая обмотка (рис. 3.35) строится на базе обычной двухслойной обмотки с тем же числом 2р и q и отличается от нее соединениями в лобовых частях и шагом катушек. Катушечные группы в этой обмотке выполнены из концентрических катушек. Шаг наибольшей катушки равен числу пазовых делений между первой и последней сторонами катушек одной катушечной группы базовой двухслойной обмотки. Принцип построения обмотки ясен из сравнения схем, изображенных на рис. 3.35 и 3.24. Определенная последовательность катушечных групп концентрической обмотки позволяет уложить на обмоточном станке за несколько переходов всю обмотку без подъема шаговых сторон катушек.
Коэффициенты распределения и укорочения двухслойной концентрической обмотки рассчитывают по формулам (3.11) и (3.13). Следует отметить, что укорочение двухслойной концентрической обмотки, определенное по расчетному шагу (3.7), равно укорочению шага двухслойной обмотки, на базе которой она построена. Так, например, укорочение шагов обмоток, схемы которых приведены на рис. 3.24 и 3.35, одинаково и равно β = 5/6.
Рис. 3.35. Схема двухслойной концентрической обмотки,
Z = 24, 2p = 4, a = 1, q =2
Катушечные группы, уложенные на станке концентрической обмотки, не полностью идентичны из-за различного положения сторон катушек в пазах. Это приводит к некоторому неравенству индуктивных сопротивлений различных катушечных групп. Поэтому двухслойная концентрическая обмотка может быть соединена в несколько параллельных ветвей только при условии, если в каждой из них будет содержаться одинаковое число катушечных сторон, расположенных в нижних и верхних слоях пазов. Это дополнительное
условие несколько ограничивает возможность образования параллельных ветвей обмотки.
Концентрическая обмотка имеет несколько меньшие вылеты по сравнению с обычной двухслойной, что уменьшает среднюю длину витка, а следовательно, и массу обмоточной меди и осевую длину обмотанного статора.
3.11. ОСОБЕННОСТИ СХЕМ ОБМОТОК МНОГОСКОРОСТНЫХ
АСИНХРОННЫХ ДВИГАТЕЛЕЙ
В статорах многоскоростных асинхронных двигателей применяют обмотки, которые могут быть включены на различное число полюсов. Частота вращения двигателя изменяется при этом ступенчато, обратно пропорционально числу полюсов обмотки. Изменения числа полюсов двигателя можно достичь двумя путями: установкой в пазы статора двух независимых друг от друга обмоток, выполненных на различные числа полюсов, или переключением схемы соединения катушечных групп одной обмотки. Обмотки, рассчитанные для такого способа переключения, называют полюсно-переключаемыми.
Укладка в статор двух независимых обмоток дает возможность получить любые соотношения между числами их полюсов и, следовательно, между частотами вращения двигателя. Недостатком такого способа является неполное использование объема паза статора, так как в пазы укладывают проводники двух обмоток, а двигатель работает на одной из них поочередно. Одна из обмоток во время работы двигателя отключается от сети, и занятая ею часть объема паза не используется. Это приводит к увеличению размеров пазов и всего двигателя по сравнению с односкоростным той же мощности.
Способ изменения числа полюсов в полюсно-переключаемых обмотках основан на изменении направлений магнитных потоков в машине путем переключения схемы обмотки. На рис. 3.36, а схематично показано поперечное сечение статора и ротора двигателя и положение двух (7-й и 4-й) катушечных групп, принадлежащих первой фазе двухполюсной обмотки. Стрелками отмечено направление магнитных силовых линий потока машины. На схеме соединения катушечных групп этой фазы также стрелками показано направление обтекания их током, причем направление стрелки над катушечной группой вправо соответствует направлению силовых линий потока от центра, а влево — к центру. На рис. 3.36, б такое же построение показано для четырех полюсной машины, одной фазе обмотки которой принадлежат 1, 4, 7 и 10-я катушечные группы. При встречном включении катушечных групп, т. е. при принятой в обычной двухслойной обмотке схеме, магнитное поле образует четыре полюса. Такую же картину поля можно получить и при двух катушках в одной фазе, если их включить не встречно, а согласно рис. 3.36, в. Сравнивая направления силовых линий потоков и схемы обмоток, видим, что изменение направления тока в половине катушечных групп двухслойной обмотки приводит к изменению числа ее полюсов в 2 раза.
На этом принципе построены двухскоростные полюсно-переключаемые обмотки, в которых числа полюсов изменяются в 2 раза. Двухскоростные обмотки выполняют с шестью выводами. При работе на одном числе полюсов три вывода подключают к сети, а три оставшихся в зависимости от схемы обмотки либо замыкают накоротко, либо оставляют свободными. Обозначения выводов многоскоростных обмоток согласно ГОСТ 26772—85 приведены в табл. 3.17.
Рис. 3.36. Потоки в магнитопроводе и условные схемы обмоток:
а – с двумя катушечными группами при 2р = 2;
б – с четырьмя катушечными группами при 2р = 4;
в – с двумя катушечными группами при 2р = 4
Таблица 3.17 Обозначение выводов многоскоростных двигателей,
разработанных после 1987 г. (по ГОСТ 26772 – 85 )
| Число выводов | Наименование вывода фазы | Обозначение выводов | |
| начало | конец | ||
| 6 | Первый | 1U— 2N | 2U |
| Второй | 1V—2N | 2V | |
| Третий | 1W—2N | 2W | |
| 9 | Первый Второй Третий | 1U – 3N 1V – 3N 1W – 3 N | 2U; 3U 2V; 3V 2W; 3W |
| 12 | Первый | 1U — 2N | 2U |
| 3U—4N | 4U | ||
| Второй | 1V—2N | 2V | |
| 3V – 4N | 4V | ||
| Третий | 1W – 2N | 2W | |
| 3W – 4N | 4W | ||
Примечания. 1. В обозначениях раздельных обмоток двигателей, переключаемых на разное число полюсов, меньшая (большая) цифра стоящая перед буквенным обозначением обмотки, соответствут меньшей (большей) частоте вращения.
2. Двойные обозначения (например, 1U – 2N; 1U – 3N и др.) применяют для выводов, которые при одной частоте вращения присоединяют к сети, а при другой частоте вращения замыкают накоротко между собой. Если на доске выводов нет достаточно места для двойного обозначения с обязательным приложением к машине схемы соединений.
3. В чертежах электрических схем соединения с шестью выводными концами на свободном поле схемы при соединении фаз в треугольник допускается применение двойных обозначений (U1W2; V1U2; W1V2), при соединении фаз в звезду – обозначение начал фаз U1, V1, W1 и тройного обозначения (U2; V2; W2) точки звезды.
Выбор схемы полюсно-переключаемых обмоток зависит от того, должен двигатель работать на разных частотах вращения с постоянным моментом или с постоянной мощностью [6].
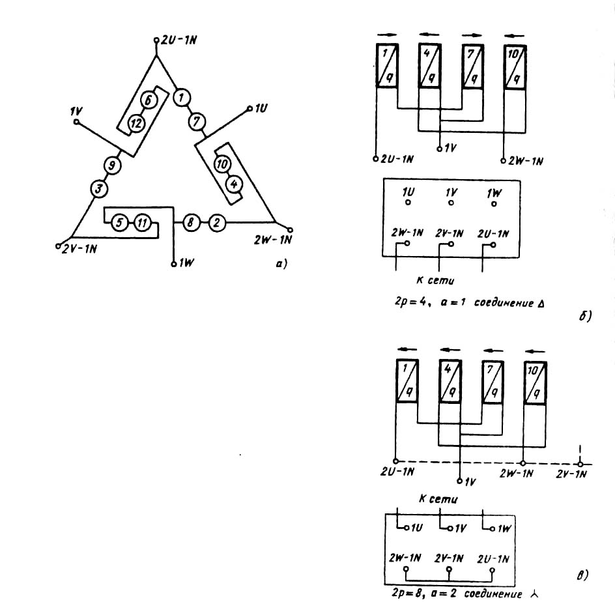
Рис. 3.37. Схемы включения обмоток многоскоростного асинхронного двигателя на
2р = 4/8 при работе с постоянной мощностью:
а – схема соединений катушечных групп обмотки;
б – включения обмотки на 2р = 4 при а = 1;
в – включение обмотки на 2р = 8 при а =2.
На рис. 3.37 показаны условные схемы включения двухскоростного асинхронного двигателя на 2р = 4/8, рассчитанного на работу с одной и той же мощностью при 2р = 4 и 2р = 8. На высшей частоте вращения (2р = 4) его обмотку соединяют в треугольник при а = 1, а на низшей (2р = 8) — в звезду при а = 2. При том и при другом числе полюсов катушки обмотки остаются теми же самыми, поэтому их выполняют с шагом, равным или несколько большим полюсного деления при большем числе полюсов.
Существуют схемы обмоток двухскоростных двигателей, позволяющие путем переключения катушечных групп изменять числа полюсов и в отношении, отличном от 1 : 2, с сохранением достаточно высокого обмоточного коэффициента для обеих частот вращения и числа выводных концов обмоток — не более шести. Особенность этих схем заключается в специфической компоновке катушечных групп из разновитковых катушек, при которой изменение точек подсоединения обмотки к питающей сети приводит не только к изменению полярности отдельных катушечных групп, но и переключению групп между фазами или к отключению отдельных катушек при работе с одним из возможных чисел полюсов. При переключениях изменяется также и амплитуда МДС обмотки, поэтому такой метод построения схем называют методом «полюсно-амплитудной модуляции» (ПАМ). Принцип переключений, характерный для данного метода, иллюстрируется схемой, приведенной на рис. 3.38.
Рис. 3.38. Принципиальная схема двухскоростной обмотки,
















