Лекции (862469)
Текст из файла
Проектирование автоматизированных станочных комплексов
Додонов Владимир Владимирович
Лекция 1
Станок – технологическая машина
Виды машин:
-
Станки
-
Измерительная машина
-
Сборочная машина
-
Термическая обработка
-
Испытательные машины
-
Проверка герметичности
Лабораторные работы: 5 лаб. раб. по 3-4 часа
Домашнее задание: разработка ТЗ на проектирование ГПМ (гибкого производственного модуля)
Срок сдачи – 15 декабря (примерно)
Объем 15-20 страниц А4
-
Выбираем типовую деталь
-
Станок – вид сбоку и вид сверху
-
Расчеты
-
Расчет производительности
480 мин в смене
- коэффициент загрузки
B – надежность (учитывает простои)
ТЗ – первый этап проектирования технического устройства
Инженер-конструктор разрабатывает техническое задание и согласовывает его с заказчиком.
-
Расчет надежности
Надежность уменьшается. Зависимость может быть любой.
Рисунок 1
Расчет - вероятность безотказной работы или наработка на отказ
-
Расчет экономической эффективности
Какая будет польза от ГПМ по сравнению с зарплатой человека
-
Система управления модулем
Необходимо периодически проводить контроль (каждая 3-4 деталь)
Определения в области автоматизированных станочных систем (терминология)
ГОСТ 26228-84 Гибкие производственные системы. Термины и определения.
ГПМ – гибкий производственный модуль – единица технологического оборудования, оснащенная устройствами числового программного управления, средствами автоматизации технологического процесса, автономно функционирующие, осуществляющие многократные циклы, имеющие возможность встраиваться в системы более высокого уровня автоматизации.
Основные понятия (раздаточный материал).
К автоматической системе машин относятся автоматические линии и участки, автоматические цеха и заводы-автоматы, роботизированные технологические комплексы, гибкие производственные модули.
Автоматическая линия (АЛ) – комплекс основного и вспомогательного оборудования, автоматически выполняющий в определенной технологической последовательности и с заданным ритмом весь процесс изготовления продукции. Персонал, обслуживающий АЛ, осуществляет управление линией, контроль за работой ее агрегатов или участков, ремонт и наладку.
Роботизированный технологический комплекс – совокупность единиц технологического оборудования, промышленного робота и средств оснащения, автономно функционирующая и осуществляющая многократные циклы.
В автоматическом цехе основные производственные процессы осуществляются на автоматических линиях. Автоматический цех должен быть оборудован системой оперативного учета и анализа выпуска продукции. Эта система позволяет в любой момент получать данные о работе всех единиц оборудования, межоперационных запасов, количестве собранных годных и бракованных изделий.
При частой смене объектов производства АЛ становятся неэффективным средством повышения производительности. Они уступают место гибким производственным системам.
Гибкой производственной системой (ГПС) называют управляемую средствами вычислительной техники совокупность технологического оборудования, состоящего из разных сочетаний гибких производственных модулей и (или) гибких производственных ячеек, автоматизированной системы технологической подготовки производства и системы обеспечения функционирования. ГПС обладает свойством автоматизированной переналадки при изменении программы производства изделий, разновидности которых ограничены технологическими возможностями оборудования (ГОСТ 26228-90).
Составными частями ГПС являются: гибкий производственный модуль (ГПМ), гибкая производственная ячейка (ГПЯ) и системы обеспечения функционирования ГПС и ГПЯ.
Гибкий производственный модуль (ГПМ) – единица технологического оборудования, которая автоматически осуществляет технологические операции, способна работать автономно и в составе ГПС или ГПЯ. В средства автоматизации ГПМ входят следующие устройства:
- числового программного управления (УЧПУ) для автоматизации последовательности действий рабочих органов технологического оборудования, включая смену заготовок, инструмента, подачу СОЖ, удаления отходов, а также переналадки;
- адаптивного управления для автоматизации регулирования параметров технологического процесса при изменении условий его выполнения;
- контроля и измерения различных объектов во время или после операции обработки для автоматизации подналадки оборудования;
- диагностирования оборудования для выявления и устранения неисправностей.
При работе в составе ГПЯ или ГПС выбор средств автоматизации ГПМ определяется организацией информационных и материальных потоков.
Гибкая производственная ячейка – это управляемая средствами вычислительной техники совокупность нескольких ГПМ и системы обеспечения их функционирования, осуществляющая комплекс технологических операций, способная работать автономно и в составе ГПС при изготовлении изделий в пределах подготовленного запаса заготовок и инструмента.
Разновидностью ГПЯ, в которой технологическое оборудование расположено в принятой последовательности технологических операций, является гибкая автоматизированная линия (ГАЛ). Такая линия, состоящая из единиц оборудования с высокой степенью автоматизации, позволяет обрабатывать заготовки малыми и средними партиями; она легко переналаживается на изготовление деталей другого типоразмера. ГАЛ для механической обработки включает в себя группу высокоавтоматизированных станков, транспортную систему автоматизированной подачи заготовок и инструмента, ЭВМ с системой программного управления и ряд других механизмов.
Гибкая производственная система, функционирующая по технологическом маршруту, в котором предусмотрена возможность изменения последовательности использования технологического оборудования, называется гибким автоматизированным участком (ГАО).
Гибкая производственная система, представляющая собой в различных сочетаниях совокупность ГАЛ, ГАУ и роботизированных технологических комплексов для изготовления изделий заданной номенклатуры, называется гибким автоматизированным цехом (ГАЦ).
ГАЦ представляет собой более высокую степень развития автоматической системы машин, элементами которой являются уже отдельные ГАЛ. Функция механизмов вспомогательных ходов выполняют сложные системы межлинейного, межучасткового и межстаночного транспортирования заготовок, деталей, собранных узлов и систем автоматического складирования.
Функция управления автоматизированным цехом осуществляются уже посредством автоматических и автоматизированных систем управления производством на базе вычислительной техники с использованием центральной ЭВМ, микропроцессорной техники, системы: управления предприятием (АСУП), инструментального обеспечения (АСИО), технологической подготовки производства (АСТПП), транспортно-складкие системы (АТСС) и т.д.
Внедрение ГАЦ создает предпосылки перехода гибкому автоматизированному заводу (ГАЗ) с широкой комплексной автоматизацией производственных процессов выпуска самой сложной машиностроительной продукцией. Такой завод, управляемый ЭВМ различного класса, обеспечивает быстрый переход с изготовления одного вида продукции на другой. Вместе с тем ГАЗ может включать в себя также отдельно функционирующие неавтоматизированные участки и цеха.
Система обеспечения функционирования ГПС и ГПЯ – это совокупность взаимосвязных автоматизированных систем, управляющих технологическим процессом, перемещением предметов производства и оснастки: транспортно-складской (АТСС); автоматизированного контроля (САК); удаление отходов (АСУО); управление технологическим оборудованием (АСУТО); управления технологическим процессом (АСУТП) и т.д.
Токарный модуль
Рисунок 2
1 – токарный станок с ЧПУ
2 – загрузочный робот (припечного типа (встроенного)) Есть еще напольный и портальный робот.
Портальный робот
Рисунок 3
3 – продольный и поперечный суппорт станка
4 – контрольное приспособление (информация передается по радиоволнам, но недостаток – помехи)
5 – стойка ЧПУ
6 – пульт ЧПУ
7 – тактовый стол (деталь перемещается ровно на один такт t). Является накопителем заготовок
Тактовый стол перемещается на один шаг и смена заготовки осуществляется строго в определенной зоне. Робот захватом забирает деталь из гнезда и ставит на освободившееся место обработанную деталь.
Робот ставит обработанную деталь в кассету. Робот может перемещаться по рядам, или сама кассета с помощью привода может перемещаться. Программа перемещений заложена в программе робота.
Рисунок 4
Рисунок 5
Втулочно-роликовая цепь
В прорези вставляются пластинки, чтобы менять глубину гнезда
8 – шкаф электроавтоматики (выполняет простейшие операции по управлению станком)
Схват может быть с двойным устройством – он позволяет сократить время на обработку (один схват может удерживать обрабатываемую заготовку, второй производит смену заготовки)
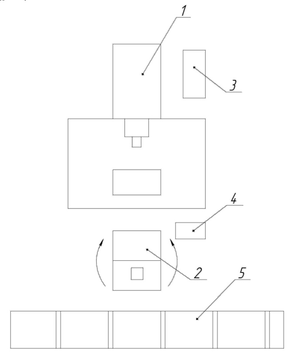
Гибкий производственный модуль для обработки корпусных деталей
Рисунок 6
Точность координатно-измерительной машины:
- длина измеряемой величины
1 – станок
2 – двухпозиционный поворотный стол
3 – стойка ЧПУ
4 – пульт ЧПУ
5 – магазин заготовок
ГПМ для обработки корпусных деталей: может использоваться дисковые или линейный накопитель.
Лекция 2
Рисунок 1
При обработке корпусных деталей часто используются специальные столы – паллета.
Стандартные паллеты (например)
320х320 (55), 300х500
Стол станка по специальной программе перемещается вплотную к двухпозиционному поворотному столу. На этом поворотном столе имеются направляющие, на которые вставляется паллета с обрабатываемой деталью (перемещается с помощью гидроцилиндра со специальным захватом – крючком, который захватывает паллету и перемещает в нужную позицию)
Чтобы лишить прямоугольную деталь движения, надо лишить ее 6 степеней свободы
Рисунок 2
Характеристики
Тип файла документ
Документы такого типа открываются такими программами, как Microsoft Office Word на компьютерах Windows, Apple Pages на компьютерах Mac, Open Office - бесплатная альтернатива на различных платформах, в том числе Linux. Наиболее простым и современным решением будут Google документы, так как открываются онлайн без скачивания прямо в браузере на любой платформе. Существуют российские качественные аналоги, например от Яндекса.
Будьте внимательны на мобильных устройствах, так как там используются упрощённый функционал даже в официальном приложении от Microsoft, поэтому для просмотра скачивайте PDF-версию. А если нужно редактировать файл, то используйте оригинальный файл.
Файлы такого типа обычно разбиты на страницы, а текст может быть форматированным (жирный, курсив, выбор шрифта, таблицы и т.п.), а также в него можно добавлять изображения. Формат идеально подходит для рефератов, докладов и РПЗ курсовых проектов, которые необходимо распечатать. Кстати перед печатью также сохраняйте файл в PDF, так как принтер может начудить со шрифтами.
















